
Αprilia RSV4 factory kai Tuono V4 factory speed white
Παρασκευή, 28 Απριλίου 2023
Νέα ειδική limited edition εμφάνιση για τις εκδόσεις αγωνιστικού προσανατολισμού. Με κυρίαρχο το λευκό, που ενισχύει τον σχεδιασμό με ενσωματωμένα αε...

Νέα ειδική limited edition εμφάνιση για τις εκδόσεις αγωνιστικού προσανατολισμού. Με κυρίαρχο το λευκό, που ενισχύει τον σχεδιασμό με ενσωματωμένα αε...

Αν αναζητάς υψηλού επιπέδου after sales υπηρεσίες για τη μοτοσυκλέτα σου, η MRC Μάντης, με πάνω από 30 χρόνια παρουσίας στον χώρο, είναι η καλύτερη επ...
s.jpg)
Ψηφίστε τα καλύτερα μοντέλα του 2022 και κερδίστε ένα Benelli TRK 702, 10 κράνη LS2 Vector II και δεκάδες ακόμη δώρα στη μεγαλύτερη ψηφοφορία που γίνε...
.jpg)
Το εμβληματικό μοντέλο της Honda επέστρεψε με ολοκαίνουργιο δικύλινδρο κινητήρα 92 ίππων, πλήρες σετ αναρτήσεων της Showa, τροχούς 21/18 και έγχρωμη T...

Η γκάμα της QJ περιλαμβάνει μοντέλα σε όλες τις κατηγορίες και το SRC 500 είναι έτοιμο να κλέψει τις καρδιές όσων αγαπούν τα ρετρό και όχι μόνο....
.jpg)
Η επίσημη παρουσίαση των νέων μοντέλων θα γίνει στις 7 Ιουνίου, αλλά η εταιρεία με έδρα το Μιλγουόκι έχει ήδη αρχίσει να αποκαλύπτει κάποιες λεπτομέρε...

Τα τιμόνια Clip-On της Barracuda είναι κατασκευασμένα από ελαφρύ κράμα ergal και διαθέτουν έναν αρθρωτό σύνδεσμο που επιτρέπει την εργονομική ρύθμιση ...
.jpg)
Οι θερμικές χούφτες χεριών της ιταλικής εταιρία OJ, από τη σειρά Pro Hand (100, 110, 120) αποτελούν την ιδανική λύση για τους χειμερινούς μήνες....
.jpg)
Τον πήρε ο ύπνος... Ή το παίζει driver... Το αποτέλεσμα;; Σκάει πάνω στο περίπτερο και ξυπνάει.....
...
.jpg)
Μπήκε η άνοιξη.... Όλοι οι αναβάτες που κάνουν εκδρομές και "πολεμικές"βόλτες είναι μέσα στην τρελή χαρά... καλός καιρός και λιακάδα..... μπαααααααααα...
.jpg)
Ο πιο γρήγορος ντελιβεράς της πόλης!!! Πάει τάπα, στρίβει και κάνει και σταντ... Μα εγώ καραβίσιο πίνω τον καφέ... Θα φέρω άλλο σε 2 λεπτά... Μα ειναι...

H Voge προσθέτει την παραλλαγή του μοντέλου AC 300, σε Café racer εκδοχή με σπορ, ρετρό εμφάνιση, ενώ το εφοδιάζει με clip on, διπλούς δίσκους μ...

Το Σάββατο 6 Μαΐου, το "We Ride As One" επιστρέφει με την παγκόσμιας απήχησης εκδήλωση της Ducati, κατά την οποία η κοινότητα των Ducatisti κάθε πόλης...

Το project των Kawasaki και Modenas, είναι η κατασκευή ενός παπιού που θα κερδίσει κατά κράτος τον ανταγωνισμό με κινητήρα 150 κυβικών και εμφάνιση απ...
Η γνωστή εταιρία ΙΝΤΕR CARS με πρωταγωνιστική παρουσία σε 30 χώρες στο χώρο των ανταλλακτικών αυτοκινήτου, μοτοσυκλέτας και γενικά ότι κινείται οργανώ...

Η Yamaha δημιουργεί μια νέα ταινία-έκπληξη, με αφορμή τη χορηγία της προς την Ελληνική Ομοσπονδία Καλαθοσφαίρισης, με πρωταγωνιστές τους αθλητές των Ε...

Τα Test Rides της Kymco θα επισκεφθούν μέσα στο Μάϊο 5 πόλεις της Β. Ελλάδας και δύο της Κρήτης, δίνoντας τη δυνατότητα σε κάθε ενδιαφερόμενο να οδηγή...

Το νέο Daytona 125 έρχεται με εντυπωσιακή εμφάνιση και δυνατά του όπλα την οικονομία καυσίμου, την ευελιξία και την ευκολία χρήσης, ενώ οδηγείται και ...
.jpg)
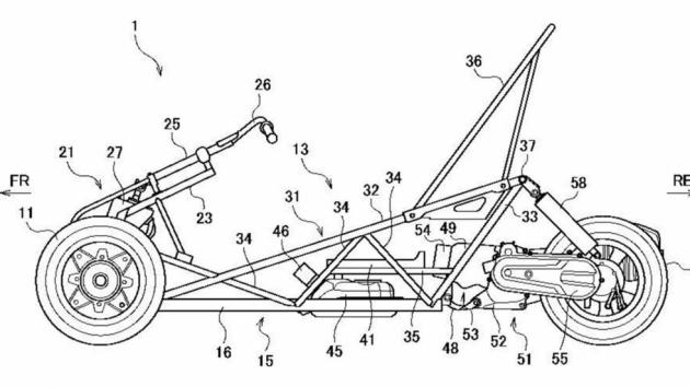
Δίπλωμα ευρεσιτεχνίας στην Ιαπωνία δείχνει σχέδια για ένα τρίτροχο Suzuki δεν μοιάζει με τους ανταγωνιστές της κατηγορίας καθώς έχει θέση οδήγησης τύπ...

Οι made in Italy κλειδαριές τροχού της EasyBlock κάνουν απλή υπόθεση την ασφάλιση του scooter ή της μοτοσυκλέτας σου....
mototriti.gr | Ταυτότητα
Επωνυμία Επιχείρησης: AUTO ΤΡΙΤΗ ΑΕ
Έδρα - Γραφεία: Λεωφόρος Αμαρουσίου 14 - Νέο Ηράκλειο, Τ.Κ. 141 22
Νομική Μορφή: ΕΚΔΟΤΙΚΗ ΕΤΑΙΡΕΙΑ
Α.Φ.Μ.: 998384177
Δ.Ο.Υ.: ΚΕΦΟΔΕ
Στοιχεία Επικοινωνίας:
E-mail: info@mototriti.gr
Τηλέφωνο: 211 1085500
Ιστοσελίδα: www.mototriti.gr
Διοικητικά Στελέχη
Ιδιοκτήτες & Κύριοι Μέτοχοι: Δανάη Τριανταφύλλη – Δάφνη Τριανταφύλλη
Νόμιμος εκπρόσωπος - Διευθυντής: Νίκος Καρανάσιος
Διευθυντής σύνταξης: Παναγιώτης Σιώπης
Διαχειριστής ονόματος τομέα: ΑUTO ΤΡΙΤΗ Α.Ε.