Yamaha: Πατέντα για ψαλίδι μεταβλητής γεωμετρίας που αλλάζει το κράτημα

Νέα πατέντα αλλάζει τη γεωμετρία του ψαλιδιού εν κινήσει – Τι σημαίνει για το μέλλον;
Μεταβλητή γεωμετρία ψαλιδιού για καλύτερη πρόσφυση και έξοδο από τη στροφή.
Το MotoGP έδειξε τις δυνατότητες μειώνοντας τα wheelies και αυξάνοντας την πρόσφυση.
Υδραυλικό έμβολο μέσα στο ψαλίδι και άρθρωση στο κέντρο.
Ηλεκτρονικός έλεγχος γεωμετρίας και αισθητήρες.
Μεταβλητή γεωμετρία ψαλιδιού για καλύτερη πρόσφυση και έξοδο από τη στροφή
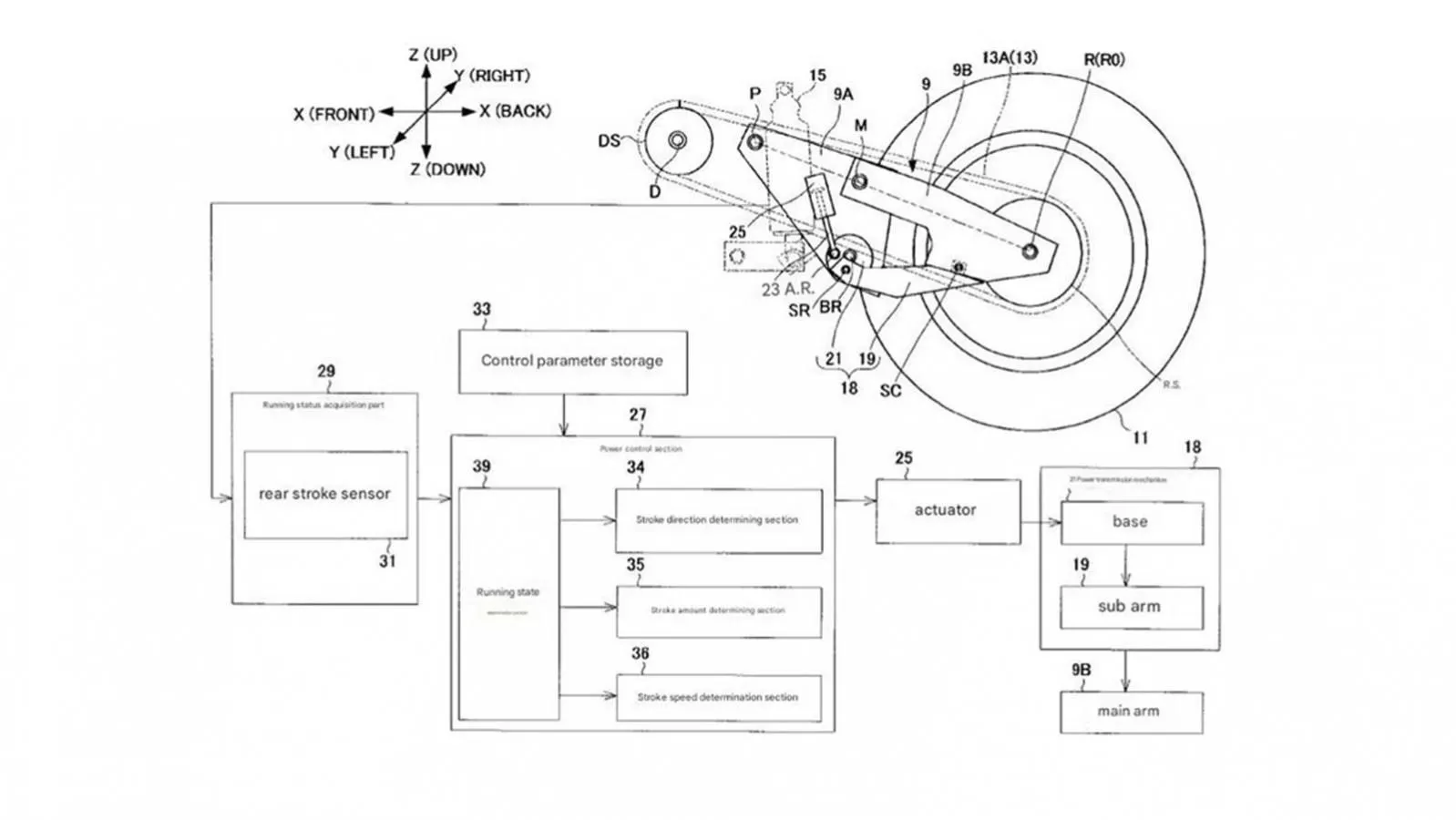
Η Yamaha κατέθεσε πατέντα για ψαλίδι μεταβλητής γεωμετρίας, μια τεχνολογία που υπόσχεται βελτιωμένη πρόσφυση στην επιτάχυνση και μεγαλύτερο κράτημα στη μέση της στροφής. Το ψαλίδι αποτελεί ένα από τα πιο κρίσιμα στοιχεία της γεωμετρίας πλαισίου, ειδικά στους αγώνες, όπου η ακαμψία και το ελεγχόμενο flex επηρεάζουν άμεσα την απόδοση.
Η νέα ιδέα στοχεύει στη μείωση του συμβιβασμού ανάμεσα στη σταθερότητα στη στροφή και στη μέγιστη επιτάχυνση, επιτρέποντας μεταβολή της γεωμετρίας εν κινήσει.
Το MotoGP έδειξε τις δυνατότητες μειώνοντας τα wheelies και αυξάνοντας την πρόσφυση
Το MotoGP ανέδειξε τη σημασία της μεταβλητής γεωμετρίας μέσω των ride height devices. Τα συστήματα αυτά χαμήλωναν τη μοτοσυκλέτα στην επιτάχυνση, μειώνοντας τα wheelies και αυξάνοντας την πρόσφυση, ενώ κρατούσαν το πίσω μέρος ψηλότερα στη φάση της στροφής.

Παρότι οι κανονισμοί περιορίζουν πλέον τέτοιες λύσεις, η τεχνολογία απέδειξε ότι η δυναμική μεταβολή της γεωμετρίας μπορεί να προσφέρει ουσιαστικό πλεονέκτημα στην έξοδο των στροφών.
Υδραυλικό έμβολο μέσα στο ψαλίδι και άρθρωση στο κέντρο
Η πρόταση της Yamaha διαφοροποιείται σημαντικά από τα υπάρχοντα μηχανικά συστήματα. Αντί να μεταβάλλεται το μήκος των συνδέσμων της πίσω ανάρτησης, το νέο σύστημα ενσωματώνει υδραυλικό έμβολο μέσα στο ίδιο το ψαλίδι και προσθέτει άρθρωση στο κεντρικό του σημείο.

Μέσω εκκεντρικού μηχανισμού, μεταβάλλεται το μήκος του κάτω τμήματος του ψαλιδιού, επιτρέποντας ανεξάρτητη ρύθμιση της θέσης του πίσω τροχού. Αυτό σημαίνει διαφορετική γεωμετρία στην επιτάχυνση και διαφορετική στη φάση της στροφής, με στόχο τη βελτίωση τόσο της πρόσφυσης όσο και του πλευρικού κρατήματος.
Ηλεκτρονικός έλεγχος γεωμετρίας και αισθητήρες
Η πατέντα περιγράφει σύστημα που ελέγχεται από ενεργοποιητή με παροχή ισχύος και λειτουργεί βάσει δεδομένων από αισθητήρες, όπως επιτάχυνση, φρενάρισμα και γωνία κλίσης. Πρόκειται για πλήρως ενεργή μεταβολή γεωμετρίας, κάτι που δεν επιτρέπεται στους κανονισμούς του MotoGP.
Η συγκεκριμένη λύση δείχνει περισσότερο προς μελλοντικές εφαρμογές παραγωγής ή πειραματική εξέλιξη τεχνολογίας, παρά προς άμεση αγωνιστική χρήση. Σε κάθε περίπτωση, η Yamaha εξερευνά τα όρια της γεωμετρίας πλαισίου, επιχειρώντας να συνδυάσει επιτάχυνση και κράτημα χωρίς τον κλασικό συμβιβασμό που μέχρι σήμερα θεωρείται δεδομένος.


