Yamaha: Πατέντα για ψαλίδι μεταβλητής γεωμετρίας που αλλάζει το κράτημα

Yamaha μοτοσυκλέτα motogp

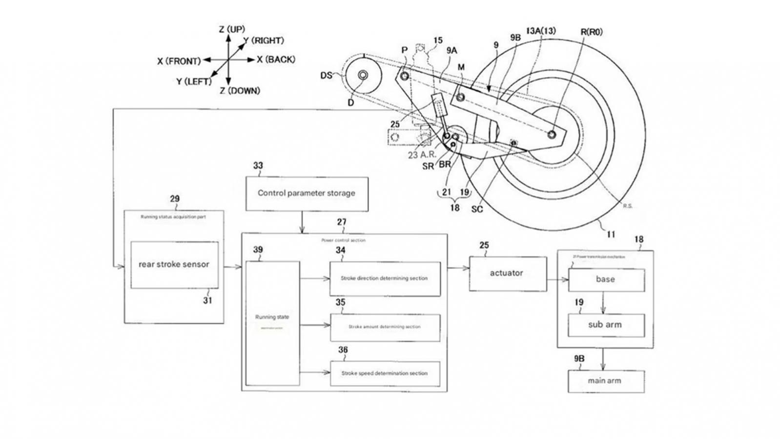
Νέα πατέντα αλλάζει τη γεωμετρία του ψαλιδιού εν κινήσει – Τι σημαίνει για το μέλλον;

Yamaha: Πατέντα για ψαλίδι μεταβλητής γεωμετρίας που αλλάζει το κράτημα
Yamaha: Πατέντα για ψαλίδι μεταβλητής γεωμετρίας που αλλάζει το κράτημα