Ducati: Πατέντα αποκαλύπτει το μυστικό του αγωνιστικού κιβωτίου της Panigale V4 R

Πατέντα αποκαλύπτει το μυστικό του αγωνιστικού κιβωτίου της Panigale V4 R
Αγωνιστική τεχνολογία MotoGP στο επίκεντρο της μετάδοσης.
Τέρμα η πρώτη κάτω – όλες οι ταχύτητες πάνω.
Ducati Neutral Lock: Σύστημα μπλοκαρίσματος της νεκράς.
Πολύ πιθανό να περάσει στα μοντέλα παραγωγής.
Αγωνιστική τεχνολογία MotoGP στο επίκεντρο της μετάδοσης

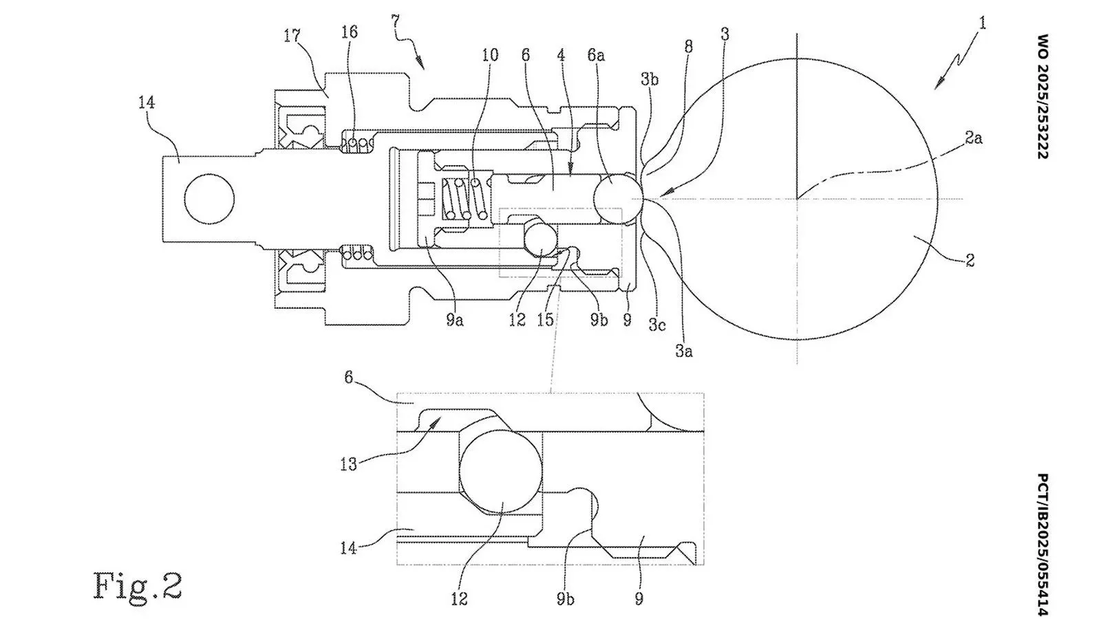
Η Ducati αποκάλυψε στην Panigale V4 R 2026 ένα από τα πιο ενδιαφέροντα τεχνολογικά της όπλα: το Ducati Racing Gearbox (DRG). Πρόκειται για ένα κιβώτιο αγωνιστικού τύπου, βασισμένο στη λογική που χρησιμοποιείται στο MotoGP, με στόχο πιο γρήγορα και ασφαλή κατεβάσματα ταχυτήτων σε συνθήκες πίστας. Μέχρι πρόσφατα, τέτοιου είδους τεχνολογία θεωρούνταν απλησίαστη για μοντέλα δρόμου, όμως μια νέα πατέντα δείχνει ότι η Ducati ίσως αλλάζει στρατηγική.
Τέρμα η πρώτη κάτω – όλες οι ταχύτητες πάνω

Το DRG εγκαταλείπει το κλασικό μοτίβο «κάτω για πρώτη, πάνω για τις υπόλοιπες» και υιοθετεί διάταξη N-1-2-3-4-5-6, με τη νεκρά εκτός της συνηθισμένης διαδρομής. Η λογική αυτή διευκολύνει το κατέβασμα στην πρώτη σχέση, ειδικά σε έντονη αγωνιστική χρήση. Το μειονέκτημα ενός τέτοιου μοτίβου είναι ο κίνδυνος να περάσεις κατά λάθος στη νεκρά, κάτι που σε οδήγηση υψηλών επιδόσεων μπορεί να αποδειχθεί κρίσιμο.
Ducati Neutral Lock: Σύστημα μπλοκαρίσματος της νεκράς
Η απάντηση της Ducati είναι το Ducati Neutral Lock (DNL), ένα σύστημα μπλοκαρίσματος της νεκράς που απαιτεί συνειδητή ενέργεια από τον αναβάτη για να ενεργοποιηθεί. Για να επιλεγεί νεκρά, ο αναβάτης πρέπει να πατήσει έναν μικρό μοχλό με τον αντίχειρα στο δεξί άκρο του τιμονιού, ενώ ταυτόχρονα χειρίζεται τον ποδόμοχλο. Η πατέντα δείχνει έναν εντυπωσιακά απλό μηχανισμό, με λίγα εξαρτήματα, χαμηλό κόστος και περιορισμένο ρίσκο αστοχίας, κάτι που διαφοροποιεί τη Ducati από πιο περίπλοκες λύσεις άλλων κατασκευαστών.

Πολύ πιθανό να περάσει στα μοντέλα παραγωγής
Το γεγονός ότι η Ducati κατοχύρωσε αυτή τη λύση με πατέντα και ότι το σύστημα αποτελείται από μόλις 12 εξαρτήματα ενισχύει το σενάριο ευρύτερης χρήσης του. Ιστορικά, πολλές τεχνολογίες που εμφανίστηκαν πρώτα σε homologation μοντέλα όπως η Ducati Panigale V4 R κατέληξαν αργότερα σε πιο mainstream εκδόσεις της Panigale και όχι μόνο. Έτσι, δεν θα ήταν έκπληξη αν στο μέλλον δούμε το DRG και το DNL να περνούν και σε Ducati δρόμου, φέρνοντας αγωνιστική λογική πιο κοντά στην καθημερινή οδήγηση.


.jpg)
