LIVE: κίνηση στους δρόμους
Εξουσιοδοτημένοι αντιπρόσωποι - Συνεργάτες MotoΤρίτη

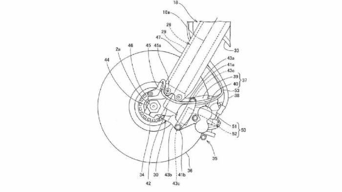
Τα σχέδια της Honda για την νέα ανάρτηση που ανακάλυψαν οι Βρετανοί.

Τα σχέδια της Honda για την νέα ανάρτηση που ανακάλυψαν οι Βρετανοί.

Τα σχέδια της Honda για την νέα ανάρτηση που ανακάλυψαν οι Βρετανοί.

Honda: Ετοιμάζει «έξυπνες» αναρτήσεις

Διαβάστηκε από 2.584 αναγνώστες (24/9/2019)

Με τεχνολογία ανάγνωσης και… πρόβλεψης του εδάφους θέλει να εξοπλίσει η Honda τις επόμενες αναρτήσεις της! Δείτε τι μελετάται…

mototriti Team

HONDA: Καρακώστας - Kλείσε τώρα Τest Ride στο μοντέλο που σε ενδιαφέρει!

HONDA: SH MODE από 2.790ε!

Βρετανοί δημοσιογράφοι, στο ιδιαίτερα δραστήριο MoreBikes ανακάλυψαν πατέντες που συνδέονται με την Honda και αφορούν τις αναρτήσεις. Πιο συγκεκριμένα, η Big-H εργάζεται πάνω σε τεχνολογία αναγνώρισης και πρόβλεψης του τερέν, που θα συνδυάζεται με ηλεκτρονικά ελεγχόμενες αναρτήσεις.

Το σύστημα, όπως δείχνουν τα σχέδια, περιλαμβάνει μετρητές επιτάχυνσης οι οποίοι τα τοποθετούνται στα μη αναρτώμενα μέρη –η με απλά λόγια, κοντά στον άξονα του τροχού, στα καλάμια του πιρουνιού ή στο ψαλίδι αντίστοιχα. Οι σένσορες αυτοί θα μετρούν την επιτάχυνση και την μετακίνηση της ανάρτησης σε ρυθμό χιλιάδων λήψεων το δευτερόλεπτο, δημιουργώντας μια ολόκληρη «χαρτογράφηση» απόκρισης. Βάσει αυτών των δεδομένων, και σε συνδυασμό φυσικά με αισθητήρες όπως ο IMU, ο εγκέφαλος της μοτοσυκλέτας θα προσαρμόζει σε πραγματικό χρόνο, τις ρυθμίσεις των αναρτήσεων.

Μάλιστα, το σύστημα λέγεται ότι θα έχει δυνατότητα «πρόβλεψης» του τερέν, αναλύοντας τα δεδομένα που θα λαμβάνει από τους αισθητήρες και δημιουργώντας ενέργειες για το «επόμενο βήμα»της ανάρτησης.

Πρόκειται φυσικά για το επιθυμητό, «επόμενο» βήμα στην εξέλιξη των αναρτήσεων, οι οποίες δείχνουν ότι εξελίσσονται προς τις «πλήρως ενεργητικές» με ραγδαίους ρυθμούς. Και αυτό είναι ευχάριστο, διότι παραδόξως οι αναρτήσεις άργησαν αρκετά να εξελιχθούν τόσο, ενώ μια απόλυτα «ενεργητική» ανάρτηση έχει νόημα σε κάθε πεδίο χρήσης, λειτουργώντας στο βέλτιστο σε κάθε περίπτωση. Περιμένουμε και περισσότερς πληροφορίες...
 

Digital παρουσίαση γκάμας Honda 2026