LIVE: κίνηση στους δρόμους
Εξουσιοδοτημένοι αντιπρόσωποι - Συνεργάτες MotoΤρίτη

Καινοτομία για scooter από την Honda

Καινοτομία για scooter από την Honda

Καινοτομία για scooter από την Honda

Εναλλακτικό σύστημα διεύθυνσης για Scooter!

Η Ιαπωνική εταιρία μας έχει δείξει στο πρόσφατο παρελθόν ότι αφιερώνει μεγάλο μέρος της τεχνογνωσίας της στην ανάπτυξη καινοτόμων συστημάτων.

 
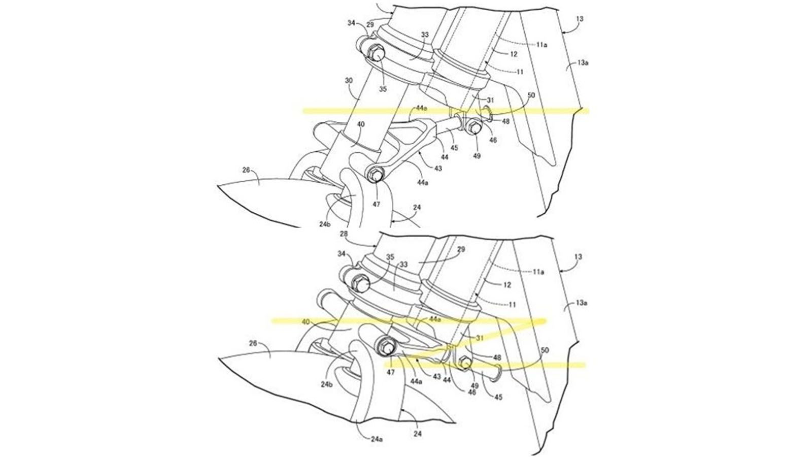
Όπως είχαμε πρόσφατα παρουσιάσει σε άρθρο μας που μπορείτε να  βρείτε εδώ  , η Honda φαίνεται να έχει καταθέσει πατέντα για ένα εναλλακτικό μπροστινό σύστημα για το τουριστικό της μοντέλο Goldwing.  Όπως επίσης και για το εναλλακτικό μπροστινό για superbike  Hossack .Φαίνεται όμως ότι οι καινοτόμες ανησυχίες της  δεν σταματούν εδώ.
 
Συμφώνα λοιπόν με σχέδια που έχουν έρθει στο φως της δημοσιότητας, η εταιρία έχει καταθέσει πατέντα, στην οποία διακρίνεται η κατασκευή ενός περίεργου μπροστινού συστήματος για Scooter. Με πλήρη επιφύλαξη, μπορούμε να πούμε ότι διακρίνεται ένας αρθρωτός μηχανισμός, που ελέγχει και προσαρμόζει τις κινήσεις μεταξύ ενός μονού καλαμιού που καταλήγει στον τροχό, και του λαιμού του τιμονιού και είναι υπεύθυνος για την αλληλεπίδραση τους σε διάφορες κατευθύνσεις.

Κανείς ωστόσο δεν μπορεί να είναι σίγουρος για το τι ακριβώς είναι, αφού η HONDA διέρρευσε τα εν λόγω σχεδία χωρίς περαιτέρω εξηγήσεις. Μάλιστα οι φήμες έχουν φουντώσει σε σημείο ώστε να υπονοείται ότι θα χρησιμοποιηθεί και σε μεγαλύτερα μοντέλα της εταιρίας.

Θα είναι καλύτερο από τα μπροστινά συστήματα που γνωρίζουμε μέχρι τώρα; Εσείς διακρίνετε κάτι από τα σχέδια της Honda;

 

 

HONDA - ΤΕΛΕΥΤΑΙΑ ΝΕΑ

ΥΠΗΡΕΣΙΕΣ: ΝΕΕΣ ΤΙΜΕΣ - ΠΡΟΣΦΟΡΕΣ