LIVE: κίνηση στους δρόμους
Εξουσιοδοτημένοι αντιπρόσωποι - Συνεργάτες MotoΤρίτη

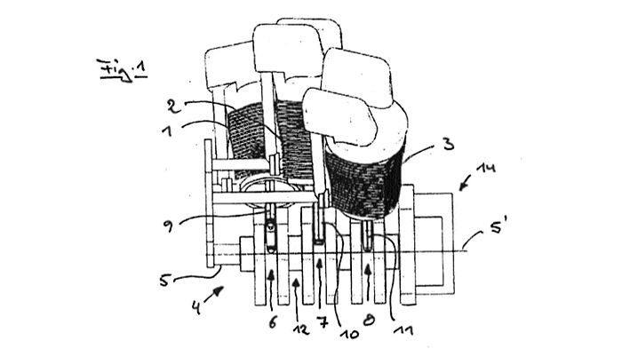
Ιδιαίτερα εντυπωσιακό το μοτέρ που κατέθεσε η BMW ως πατέντα για κατοχύρωση. Θα ταίριαζε γάντι σε μια cruiser μοτοσικλέτα!

Fan shaped, το ονομάζουν οι Γερμανοί. Διαφωνείτε;

Το 3κύλινδρο μοτέρ στο προφίλ του.

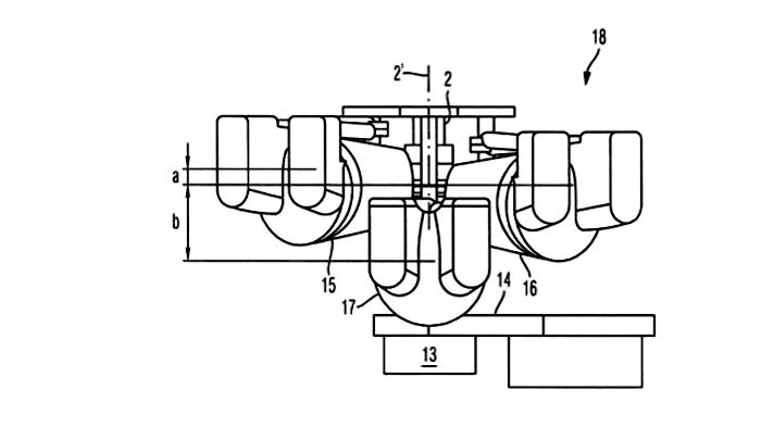
Προσέξτε το Ω που σχηματίζει το μεσαίο και αριστερό έμβολο-πιστόνι.

Η δεύτερη αρχιτεκτονική του κινητήρα της γερμανικής εταιρίας.

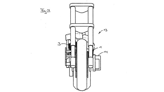
Το μοτέρ μέσα σε πλαίσιο, σχεδόν όσο πλατύ και ένα δικύλινδρο.

BMW: «Τρελή» πατέντα για W3 κινητήρα!

Ένας νέος τρικύλινδρος κινητήρας σε δύο παραλλαγές παρουσιάζεται σε πατέντες που κατέθεσε η BMW πριν λίγους μήνες. Σχεδιαστικά θυμίζει «ανεμιστήρα» και μπορεί να δείχνει το δρόμο για νέο γερμανικό cruiser!

 
Κάποτε ολόκληρη η γκάμα της BMW απαρτιζόταν από μοντέλα με τον χαρακτηριστικό δικύλινδρο boxer κινητήρα της, άντε και με τις σπάνιες μονοκύλινδρες περιπτώσεις (R25, R26). Σήμερα η εταιρεία από το Μόναχο έχει στη γκάμα της φυσικά τον boxer για τη σειρά R, έναν μονοκύλινδρο (κατασκευής Rotax) για τη σειρά G, έναν δικύλινδρο σε σειρά για τη σειρά (F), δύο τετρακύλινδρους σε σειρά για τις οικογένειες K και S, καθώς και έναν εξακύλινδρο 1600. Σύντομα αυτή η γκάμα ενδέχεται να εμπλουτιστεί με έναν νέο τρικύλινδρο σε διάταξη W. Τι είναι αυτό; Η εξήγηση αποκαλύπτεται στις δύο πατέντες που κατέθεσε η BMW και δημοσιεύτηκαν στα τέλη του 2014.

Στην αρχή σας μιλήσαμε για νέο cruiser από τους Γερμανούς, η μόνη ουσιαστικά μοτοσικλέτα-κατηγορία που απουσιάζει από την γκάμα τους, με τελευταίο-και μοναδικό-εκπρόσωπο το R 1200C. Το 3κύλινδρο μοτέρ, το οποίο αναλύουμε πιο κάτω παρουσιάζεται ως αερόψυκτο με τις βαλβίδες να παίρνουν κίνηση από ωστικές ράβδους και τους εκκεντροφόρους τοποθετημένους χαμηλά. Αν αυτό δεν υποδεικνύει βλέψεις για cruiser τότε και εμείς δεν ξέρουμε τι μπορεί να το κάνει αυτό. 

Βέβαια οι κατασκευαστές έχουν πάντα τον δικό τους τρόπο να «καμουφλάρουν» αυτό που πραγματικά θέλουν να πατεντάρουν. Πάμε όμως να δούμε τις πατέντες πιο αναλυτικά.

Η πρώτη πατέντα αφορά έναν κινητήρα τρικύλινδρο σε σειρά σε σχήμα ανεμιστήρα («fan shaped», όπως αναφέρεται χαρακτηριστικά στο κείμενο), παραδοσιακό στη δομή του στροφάλου του, δηλαδή με κάθε κύλινδρο να συνδέεται με το δικό του κομβίο στον στροφαλοφόρο άξονα. Η καινοτομία που «μυρίζει» στην περίπτωση ξεκινά από την ονομασία που η ίδια η BMW δίνει στην περιγραφή της πατέντας της: «Το σχέδιο αντιπροσωπεύει έναν ως τώρα άγνωστο τύπου W-3 εμβολοφόρο κινητήρα εσωτερικής καύσης, στον οποίο οι περιεχόμενες γωνίες μεταξύ των κυλίνδρων μπορούν να έχουν ένα ελεύθερο εύρος τιμών.» 

Δηλαδή, όπως φαίνεται και στα σχέδια, πρόκειται για έναν τρικύλινδρο σε σειρά με τον στρόφαλο εγκάρσια στο πλαίσιο, αλλά με τους κυλίνδρους σε διαφορετικές γωνίες, σχηματίζοντας οπτικά από το πλάι το γράμμα W. Οι γωνίες αυτές δεν καθορίζονται, αλλά η πατέντα αφορά το γενικότερο σχέδιο με οποιεσδήποτε περιεχόμενες γωνίες.

Η δεύτερη πατέντα αφορά έναν εν πολλοίς παρόμοιο κινητήρα, πάλι τρικύλινδρο και W, αλλά με μια ειδοποιό διαφορά: Οι δύο κυλίνδροι σχηματίζουν έναν V2 και μοιράζονται το ίδιο κομβίο στον στρόφαλο, ενώ ο τρίτος κύλινδρος έχει το δικό του κομβίο και μπορεί να βρίσκεται σε άλλη γωνία από τους έτερους δύο. Όπως αναφέρει αυτολεξεί το κείμενο της πατέντας: «ένας W3 εμβολοφόρος κινητήρας εσωτερικής καύσης μπορεί να παραχθεί μέσα στον δομικό χώρο ενός W2 εμβολοφόρου κινητήρα εσωτερικής καύσης.» 

Εδώ περιγράφεται ένας τρικύλινδος κινητήρας του οποίου η λειτουργία μοιάζει κάπως με τον V2, καθώς φαίνεται πως στη σειρά ανάφλεξης οι δύο κύλινδροι στο κοινό κομβίο θα λειτουργούν ως ένας. Περίεργος κινητήρας, αν μη τι άλλο.

Φυσικά η κατάθεση των δύο πατεντών δε σημαίνει απαραιτήτως πως θα τους δούμε και στην παραγωγή. Από την άλλη, η ύπαρξή τους προϋποθέτει αρκετή προεργασία που έχει γίνει από πίσω και υπονοεί μια ξεκάθαρη πρόθεση. Εννοείται πως περιμένουμε με αγωνία να δούμε πού θα οδηγήσει αυτή η ιστορία.

 

BMW - ΤΕΛΕΥΤΑΙΑ ΝΕΑ

ΥΠΗΡΕΣΙΕΣ: ΝΕΕΣ ΤΙΜΕΣ - ΠΡΟΣΦΟΡΕΣ