Νέα πατέντα της BMW δείχνει κλειστή μοτοσυκλέτα σε σχήμα σταγόνας

Το σχήμα του οχήματος παραπέμπει σε capsule σχεδίαση, με μικρή μετωπική επιφάνεια και στόχο τη μέγιστη αποδοτικότητα στις υψηλές ταχύτητες.
Σχήμα σταγόνας και στόχος η μέγιστη απόδοση.
Το μεγάλο πρόβλημα - Πώς δεν πέφτει όταν σταματά;
Προστασία από καιρό, μικρός όγκος και μεγάλη αυτονομία.
Θα μπει στην παραγωγή ή θα μείνει ιδέα;
Σχήμα σταγόνας και στόχος η μέγιστη απόδοση
Μια νέα πατέντα της BMW φέρνει ξανά στο προσκήνιο την ιδέα της πλήρως κλειστής μοτοσυκλέτας. Τα σχέδια που κατατέθηκαν δείχνουν ένα όχημα με αμάξωμα τύπου σταγόνας, σχεδιασμένο για κορυφαία αεροδυναμική απόδοση, χαμηλή κατανάλωση ενέργειας και αυξημένη προστασία του αναβάτη.
Η ιδέα δεν είναι καινούργια στον χώρο των δύο τροχών, όμως ποτέ δεν πέρασε πραγματικά στο ευρύ κοινό. Η BMW φαίνεται να εξετάζει ξανά το concept, αυτή τη φορά με πιο σύγχρονη τεχνολογική προσέγγιση και πιθανή σύνδεση με την ηλεκτροκίνηση.
Το σχήμα του οχήματος παραπέμπει σε capsule σχεδίαση, με μικρή μετωπική επιφάνεια και στόχο τη μέγιστη αποδοτικότητα στις υψηλές ταχύτητες.
Επίσης αν θες να μπεις στην κλήρωση για να κερδίσεις ένα Zontes 368G πάτα εδώ!
Το μεγάλο πρόβλημα - Πώς δεν πέφτει όταν σταματά;
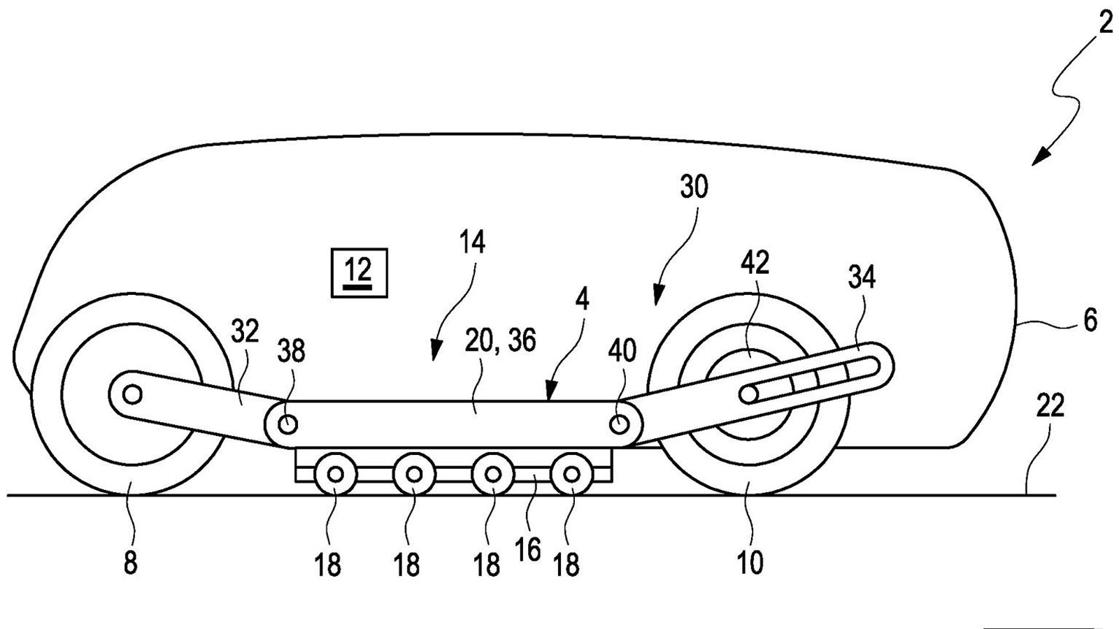
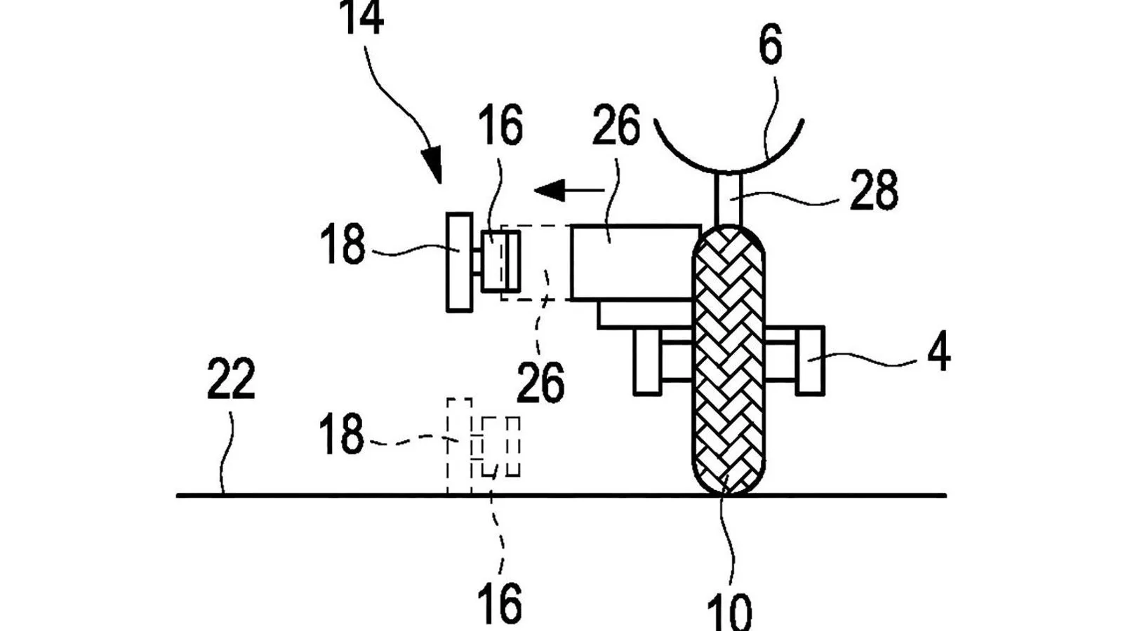
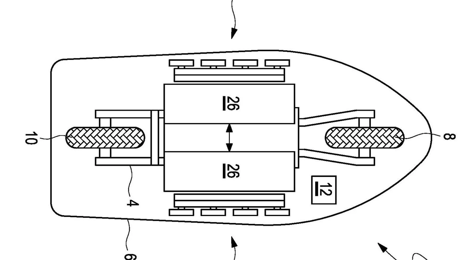
Το βασικό ζήτημα μιας κλειστής μοτοσυκλέτας είναι προφανές: όταν ο αναβάτης σταματήσει, δεν μπορεί να κατεβάσει πόδι στο έδαφος. Η BMW στην πατέντα της απορρίπτει λύσεις τύπου γυροσκοπίου λόγω βάρους και πολυπλοκότητας.
Αντί αυτών, προτείνει σύστημα με οκτώ μικρούς βοηθητικούς τροχούς, τοποθετημένους σε δύο σειρές των τεσσάρων. Οι τροχοί αυτοί αναπτύσσονται όταν το όχημα σταματά ή κινείται πολύ αργά, κρατώντας το όρθιο.

Η λογική είναι πως με περισσότερα σημεία στήριξης, ακόμη και αν κάποιοι τροχοί βρεθούν πάνω σε λακκούβα ή ανωμαλία, το όχημα θα παραμένει σταθερό.
Προστασία από καιρό, μικρός όγκος και μεγάλη αυτονομία
Σύμφωνα με την ίδια την πατέντα, τα βασικά πλεονεκτήματα της σχεδίασης είναι τρία: μικρός χώρος στον δρόμο, προστασία από βροχή και αέρα, και εξαιρετική αεροδυναμική.
Αυτό μεταφράζεται σε μεγαλύτερη αυτονομία, ειδικά αν χρησιμοποιηθεί ηλεκτρικό σύστημα κίνησης, όπου κάθε κέρδος στην αεροδυναμική έχει άμεσο αποτέλεσμα στην κατανάλωση ενέργειας.

Η BMW έχει ασχοληθεί ξανά με παρόμοιες ιδέες, όπως τα concept Simple και C.L.E.V.E.R., αλλά και το γνωστό scooter BMW C1 με οροφή.
Ο διαγωνισμός δεν σταματά στη μοτοσυκλέτα έχει δώρο 50 μπουφάν και 50 κράνη! Για να τα διεκδικήσεις πάτα εδώ!
Θα μπει στην παραγωγή ή θα μείνει ιδέα;
Όπως συμβαίνει με πολλές πατέντες, δεν σημαίνει απαραίτητα ότι θα δούμε άμεσα μοντέλο παραγωγής. Ωστόσο, δείχνει ξεκάθαρα προς ποια κατεύθυνση σκέφτονται οι κατασκευαστές: περισσότερη ασφάλεια, καλύτερη απόδοση και νέα μορφή αστικής μετακίνησης.
Αν η BMW προχωρήσει, τότε ίσως η κλειστή μοτοσυκλέτα που κάποτε έμοιαζε περίεργη, βρει τελικά τη θέση της στους δρόμους του μέλλοντος.
.jpg)
