Νέα πατέντα της BMW δείχνει κλειστή μοτοσυκλέτα σε σχήμα σταγόνας

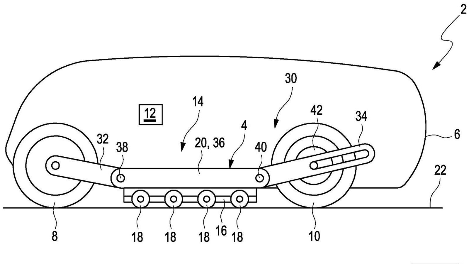
Το σχήμα του οχήματος παραπέμπει σε capsule σχεδίαση, με μικρή μετωπική επιφάνεια και στόχο τη μέγιστη αποδοτικότητα στις υψηλές ταχύτητες.

Το σχήμα του οχήματος παραπέμπει σε capsule σχεδίαση, με μικρή μετωπική επιφάνεια και στόχο τη μέγιστη αποδοτικότητα στις υψηλές ταχύτητες.

Η BMW στην πατέντα της απορρίπτει λύσεις τύπου γυροσκοπίου λόγω βάρους και πολυπλοκότητας.
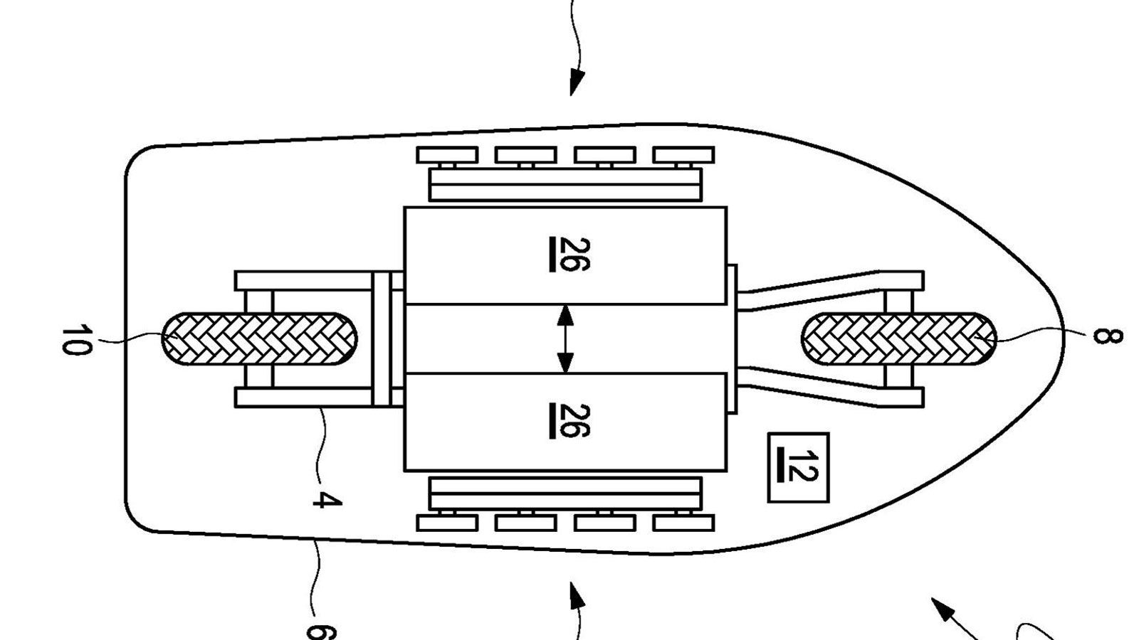
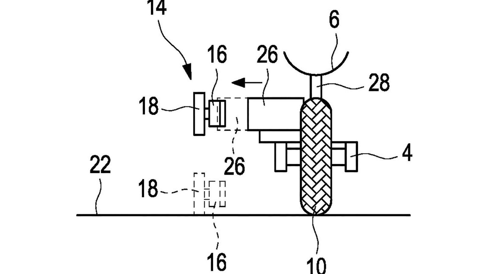
Αντί αυτών, προτείνει σύστημα με οκτώ μικρούς βοηθητικούς

Η BMW στην πατέντα της απορρίπτει λύσεις τύπου γυροσκοπίου λόγω βάρους και πολυπλοκότητας. Αντί αυτών, προτείνει σύστημα με οκτώ μικρούς βοηθητικούς τροχούς, τοποθετημένους σε δύο σειρές των τεσσάρων.

Η ιδέα δεν είναι καινούργια στον χώρο των δύο τροχών, όμως ποτέ δεν πέρασε πραγματικά στο ευρύ κοινό. Η BMW φαίνεται να εξετάζει ξανά το concept, αυτή

Η ιδέα δεν είναι καινούργια στον χώρο των δύο τροχών, όμως ποτέ δεν πέρασε πραγματικά στο ευρύ κοινό. Η BMW φαίνεται να εξετάζει ξανά το concept, αυτή τη φορά με πιο σύγχρονη τεχνολογική προσέγγιση και πιθανή σύνδεση με την ηλεκτροκίνηση.