Η Honda ετοιμάζει σύστημα αποφυγής κινδύνου με AI για μοτοσυκλέτες

Η Honda κατέθεσε μια νέα πατέντα που επιχειρεί να μεταφέρει την τεχνολογία αποφυγής σύγκρουσης από τα αυτοκίνητα στις μοτοσυκλέτες, ανοίγοντας έναν νέο –και διχαστικό– δρόμο για την ασφάλεια στους δύο τροχούς.
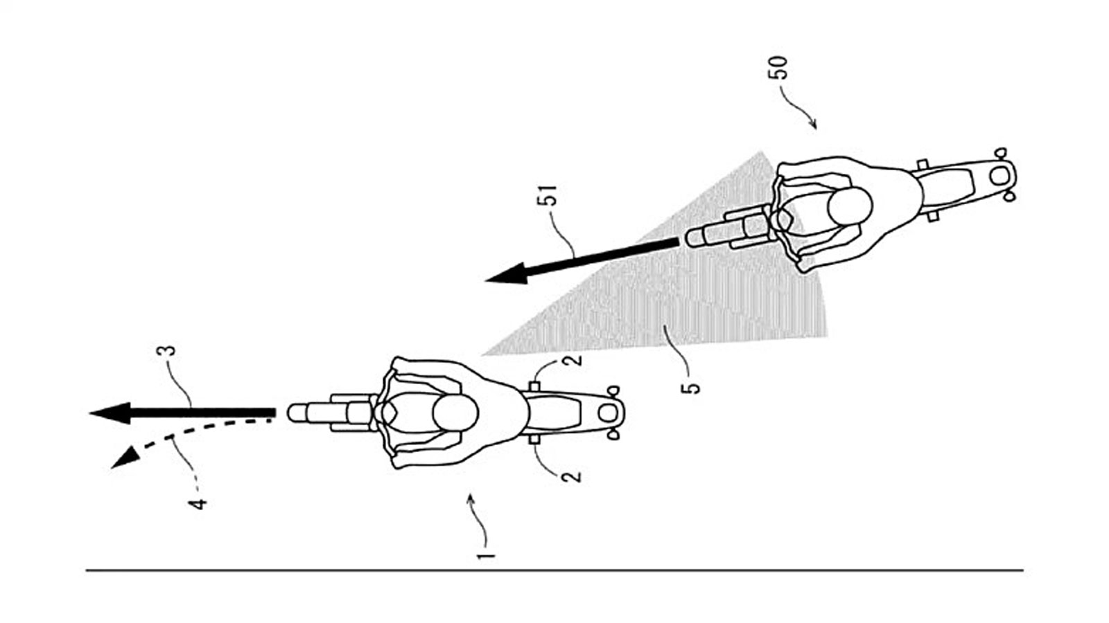
Πατέντα με «βλέμμα» στα τυφλά σημεία και εντολές στο τιμόνι.
Σταδιακή παρέμβαση στο σύστημα και σεβασμός στον αναβάτη.
Όλα αυτά στο εργαστήριο - Τι συμβαίνει σε πραγματικές συνθήκες;
HONDA: Kαρακώστας Κλείσε τώρα Τest Ride σε όλα Best Sellers μοντέλα
HONDA: PCX125...Η καλύτερη πλευρά της πόλης!
Πατέντα με «βλέμμα» στα τυφλά σημεία και εντολές στο τιμόνι
Η Honda κατέθεσε μια νέα πατέντα που επιχειρεί να μεταφέρει την τεχνολογία αποφυγής σύγκρουσης από τα αυτοκίνητα στις μοτοσυκλέτες, ανοίγοντας έναν νέο –και διχαστικό– δρόμο για την ασφάλεια στους δύο τροχούς. Το σύστημα χρησιμοποιεί κάμερες για να παρακολουθεί τα τυφλά σημεία της μοτοσυκλέτας, και όταν εντοπίζει κίνδυνο από διερχόμενο όχημα, μπορεί να εφαρμόσει κίνηση στο τιμόνι μέσω ενεργοποιητή, ώστε να βοηθήσει στην αποφυγή σύγκρουσης.

Η τεχνολογία θυμίζει τα σύγχρονα συστήματα υποβοήθησης των αυτοκινήτων, όπου το όχημα παρεμβαίνει αν ο οδηγός δεν αντιδρά εγκαίρως. Η καινοτομία της Honda έγκειται στο ότι προσπαθεί να εφαρμόσει αυτό το σκεπτικό σε μοτοσυκλέτα — εκεί όπου η παραμικρή αλλαγή πορείας επηρεάζει ισορροπία, κλίση και έλεγχο.
Σταδιακή παρέμβαση στο σύστημα και σεβασμός στον αναβάτη
Σύμφωνα με την πατέντα, το σύστημα παρακολουθεί τις εντολές του αναβάτη σε πραγματικό χρόνο. Αν δει ότι η μοτοσυκλέτα ήδη στρίβει, φρενάρει ή επιταχύνει, το σύστημα υποθέτει ότι ο κίνδυνος έχει εντοπιστεί και μπορεί να προσφέρει μόνο μικρή υποβοήθηση. Αν ο αναβάτης δεν κάνει τίποτα, τότε η υποβοήθηση αυξάνεται σταδιακά, χωρίς απότομες κινήσεις, ώστε να αποφευχθεί πανικός ή απώλεια ελέγχου.

Η Honda δηλώνει ότι το σύστημα δεν επιβάλλει βίαιες εντολές και ποτέ δεν υπερνικά τις δυνάμεις του αναβάτη. Ο στόχος είναι να λειτουργεί προληπτικά και υποστηρικτικά, όχι να αφαιρεί την ευθύνη της οδήγησης. Σε αντίθεση με άλλες εταιρείες που ήδη χρησιμοποιούν ραντάρ και ηχητικές ειδοποιήσεις, η Honda φαίνεται να πηγαίνει ένα βήμα παραπέρα με πραγματική παρέμβαση στο τιμόνι.
Όλα αυτά στο εργαστήριο - Τι συμβαίνει σε πραγματικές συνθήκες;
Η νέα πατέντα ενδίδει στην αυξανόμενη τάση υπερτεχνολογίας στους δύο τροχούς, φέρνοντας μαζί της και τα συνήθη ερωτήματα: Πόση τεχνολογία είναι αρκετή; Πόσο ασφαλές είναι να παρεμβαίνει η μοτοσυκλέτα στο τιμόνι; Οι αισθητήρες μπορεί να παραπλανηθούν από σκιές, οι κάμερες να λερωθούν, το λογισμικό να αποτύχει — και όλα αυτά συμβαίνουν στον δρόμο, όχι σε εργαστήριο.
Πέρα από την ασφάλεια, η προσθήκη τέτοιων συστημάτων συνεπάγεται αύξηση βάρους, κόστους και ανάγκης για συντήρηση, ειδικά σε περιπτώσεις όπου ο ιδιοκτήτης βρίσκεται μακριά από εξειδικευμένο service. Κι ενώ η Honda προσπαθεί να περιορίσει τους κινδύνους μέσω σταδιακής ενεργοποίησης και μηχανικού σεβασμού προς τον αναβάτη, η ουσία παραμένει: είναι ένα σύστημα που επεμβαίνει στο τιμόνι.

Το επόμενο βήμα για την ασφάλεια φέρνει μήπως το τέλος της εγρήγορσης;
Η Honda δεν είναι μόνη. BMW και Ducati ήδη εξελίσσουν αντίστοιχα ραντάρ-βασισμένα συστήματα ασφαλείας. Όμως η νέα πατέντα αποκαλύπτει πόσο μακριά μπορεί να φτάσει αυτή η προσέγγιση. Αν φτάσει στην παραγωγή, θα εμφανιστεί πρώτα σε τουριστικές ή μεγάλες touring μοτοσυκλέτες, πολύ πριν την δούμε σε supersport μοντέλα. Και το πιθανότερο είναι ότι πολλοί αναβάτες θα επιλέγουν να την απενεργοποιούν.
Η ουσία όμως δεν αλλάζει: οι μοτοσυκλέτες γίνονται πιο ασφαλείς στα χαρτιά, αλλά και πιο αυτόνομες, με το ρίσκο να περιορίζεται — ή να μεταφέρεται στην τεχνολογία. Και όσο κι αν αυτό σώζει ζωές, τίθεται το ερώτημα: θα χάσουμε μαζί και τη νοοτροπία που μας κρατά ζωντανούς; Διότι σε μια μοτοσυκλέτα, η προνοητικότητα και η προσωπική ευθύνη δεν ήταν ποτέ προαιρετικές.


