Η Honda ετοιμάζει σύστημα αποφυγής κινδύνου με AI για μοτοσυκλέτες

Η Honda κατέθεσε μια νέα πατέντα που επιχειρεί να μεταφέρει την τεχνολογία αποφυγής σύγκρουσης από τα αυτοκίνητα στις μοτοσυκλέτες, ανοίγοντας έναν νέ

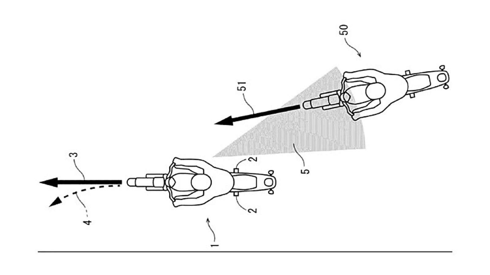
Η Honda κατέθεσε μια νέα πατέντα που επιχειρεί να μεταφέρει την τεχνολογία αποφυγής σύγκρουσης από τα αυτοκίνητα στις μοτοσυκλέτες, ανοίγοντας έναν νέο –και διχαστικό– δρόμο για την ασφάλεια στους δύο τροχούς.

Το σύστημα χρησιμοποιεί κάμερες για να παρακολουθεί τα τυφλά σημεία της μοτοσυκλέτας, και όταν εντοπίζει κίνδυνο από διερχόμενο όχημα, μπορεί να εφαρμ

Το σύστημα χρησιμοποιεί κάμερες για να παρακολουθεί τα τυφλά σημεία της μοτοσυκλέτας, και όταν εντοπίζει κίνδυνο από διερχόμενο όχημα, μπορεί να εφαρμόσει κίνηση στο τιμόνι μέσω ενεργοποιητή, ώστε να βοηθήσει στην αποφυγή σύγκρουσης.

Η Honda φέρνει τεχνητή νοημοσύνη στο τιμόνι: Μόνη της αποφεύγει τον κίνδυνο!

Η Honda φέρνει τεχνητή νοημοσύνη στο τιμόνι: Μόνη της αποφεύγει τον κίνδυνο!