LIVE: κίνηση στους δρόμους
Εξουσιοδοτημένοι αντιπρόσωποι - Συνεργάτες MotoΤρίτη

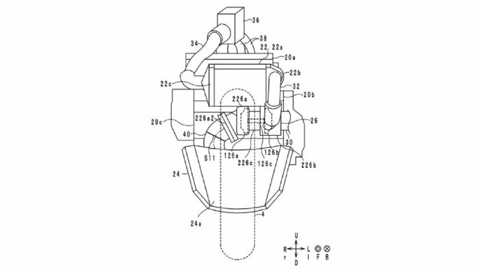
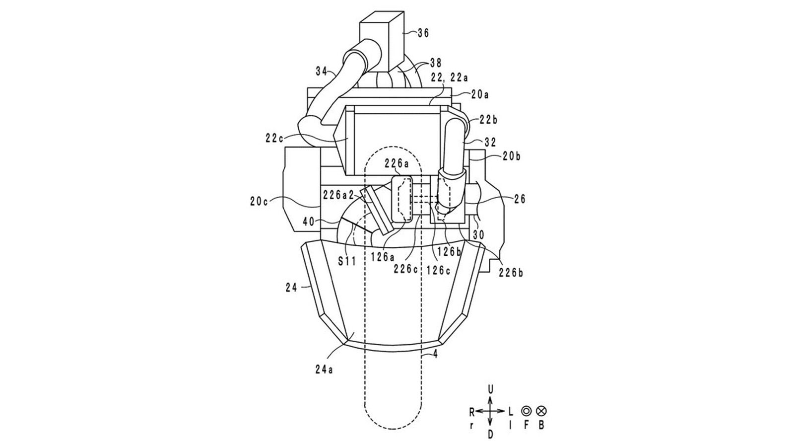
Εικόνες από τα σχέδια της Yamaha για την υπό ανάπτυξη μοτοσυκλέτα με Turbo.

Εικόνες από τα σχέδια της Yamaha για την υπό ανάπτυξη μοτοσυκλέτα με Turbo.

Εικόνες από τα σχέδια της Yamaha για την υπό ανάπτυξη μοτοσυκλέτα με Turbo.

Εικόνες από τα σχέδια της Yamaha για την υπό ανάπτυξη μοτοσυκλέτα με Turbo.

Yamaha: Το MT-Turbo είναι καθ΄ οδόν!

Διαβάστηκε από 8.657 αναγνώστες (21/12/2020)

Περισσότερα σχέδια που δείχνουν πιο προχωρημένη ανάπτυξη της νέας Yamaha με turbo, κυκλοφόρησαν στην δημοσιότητα. Δείτε περισσότερα…

mototriti Team

Οι μοτοσυκλέτες της Yamaha σύντομα θα αποκτήσουν και ένα Turbo «αδερφάκι», όπως όλα δείχνουν, αφού υπάρχει επίσημη «επιβεβαίωση» για την μοτοσυκλέτα από την ίδια την Yamaha. Η μοτοσυκλέτα με Turbo θα είναι η «απάντηση» στις ολοένα και αυστηρότερες προδιαγραφές ρύπων που καραδοκούν, χωρίς όμως να θυσιαστούν ισχύς και παράγοντας «fun-to-ride». Να λοιπόν που περισσότερα δεδομένα έκαναν την εμφάνιση τους τις τελευταίες ώρες.
 
Πιο συγκεκριμένα, τα σχέδια που βλέπετε εδώ αφορούν την νέα μοτοσυκλέτα και επιμέρους τμήματα της. Ο ίδιος ο στροβιλοσυμπιεστής θα βρίσκεται ακριβώς μπροστά από τους κυλίνδρους, προφανώς για να μειωθεί στο ελάχιστο δυνατό το μήκος του αυλού προς το turbo. Το σύστημα θα φέρει επίσης και intercooler, το οποίο είναι τοποθετημένο στην θέση του ψυγείου, ενώ το τελευταίο τοποθετείται σε μια νέα θέση, χαμηλά στην μοτοσυκλέτα και στο εμπρός μέρος της καρίνας. Το σύστημα εισαγωγής θα αποτελείται από έναν αγωγό που θα χωρίζεται σε 3 αυλούς (έναν για κάθε κύλινδρο), ενώ μια κεντρικά τοποθετημένη πεταλούδα γκαζιού αναλαμβάνει την ρύθμιση της ισχύος.
 
Εντύπωση προκαλεί το σύστημα της εξάτμισης της turbo μοτοσυκλέτας μετά τον συμπιεστή, που αποτελείται από έναν και ιδιαίτερα παχύ σωλήνα. Η Yamaha έχει τοποθετήσει καταλύτες στο εσωτερικό αυτού του σωλήνα, ενώ μάλιστα το σύστημα θα μπορεί να είναι πιο συμπαγές από ένα ενός ατμοσφαιρικού κινητήρα, αφού δεν θα υπάρχει ανάγκη για ειδική μελέτη μήκους και διατομής των σωληνώσεων.
 
Σύμφωνα με τα στοιχεία που είναι διαθέσιμα προς το παρόν, ο κινητήρας θα μπορεί να αποδώσει 180 ίππους στις 8.500 στροφές και 18 kgm ροπής, διαθέσιμα σε ένα διάστημα από 3.000 μέχρι 7.000 στροφές, σε μια συμπεριφορά που θυμίζει μάλλον σύγχρονο τουρμπάτο αυτοκίνητο, παρά «κλασική» μοτοσυκλέτα. Σκεφτείτε το «τράβηγμα» ενός τέτοιου μοντέλου στα μεσαία, ανοίγοντας το γκάζι…
 
Οι πολλές πληροφορίες που είναι διαθέσιμες αλλά και τα εκτενή σχέδια, δείχνουν ότι σύντομα ίσως έρχονται και πιο επίσημες ανακοινώσεις! Θα ανήκει η νέα μοτοσυκλέτα στην σειρά MT; Μείνετε συντονισμένοι…
 

VITALIOTIS
  • Johnmt

    Καλά είναι τα νέα για τον turbo κινητήρα , η ερώτηση που γεννάται είναι αν είναι και οικονομικός...