Yamaha: Νέα γενιά ημιαυτόματου κιβωτίου – Το Y-AMT γίνεται φθηνότερο και πιο ευέλικτο

Yamaha:Το Y-AMT γίνεται φθηνότερο και πιο ευέλικτο - Τι αλλάζει
Πατέντες αποκαλύπτουν πιο απλή και χαμηλού κόστους λύση.
Ένας σερβοκινητήρας αντί για ποδομοχλό και μανέτα.
Φυγοκεντρικός συμπλέκτης για στάση και εκκίνηση.
Προοπτική για περισσότερα μοντέλα και μικρότερους κυβισμούς.
Πατέντες αποκαλύπτουν πιο απλή και χαμηλού κόστους λύση
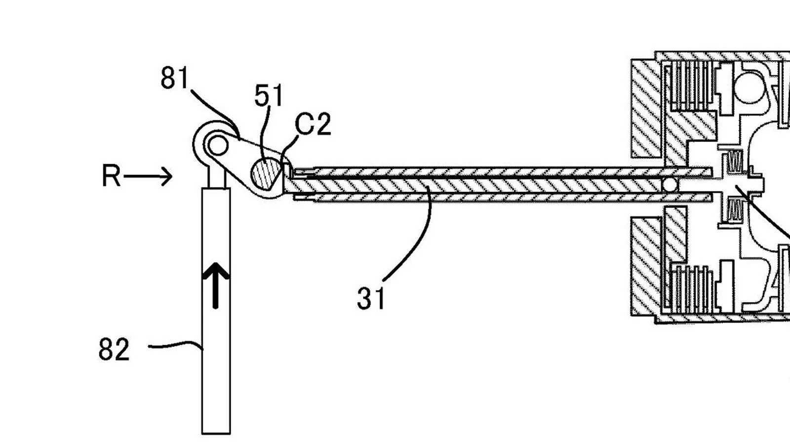
Η Yamaha φαίνεται έτοιμη να κάνει το επόμενο βήμα στην εξάπλωση των ημιαυτόματων κιβωτίων, παρουσιάζοντας μέσω νέων πατεντών μια απλοποιημένη εκδοχή του συστήματος Y-AMT. Η τεχνολογία, που ήδη χρησιμοποιείται σε μοντέλα όπως αυτά που βασίζονται στις πλατφόρμες MT-09 και MT-07, εξελίσσεται με στόχο τη μείωση του κόστους και της πολυπλοκότητας, ανοίγοντας τον δρόμο για εφαρμογή της σε ακόμη περισσότερες μοτοσυκλέτες. Σύμφωνα με τις πατέντες, η Yamaha καταργεί έναν από τους δύο ενεργοποιητές του υπάρχοντος Y-AMT, επιτρέποντας στον συμπλέκτη και την αλλαγή ταχυτήτων να λειτουργούν ταυτόχρονα μέσω ενός μόνο ηλεκτρομηχανικού σερβοκινητήρα. Η αλλαγή αυτή μειώνει τα εξαρτήματα και απλοποιεί σημαντικά την κατασκευή.

Ένας σερβοκινητήρας αντί για ποδομοχλό και μανέτα
Η νέα διάταξη βασίζεται σε εντελώς συμβατικό μηχανικό κιβώτιο, χωρίς εσωτερικές μετατροπές. Ο σερβοκινητήρας τοποθετείται εξωτερικά και αντικαθιστά τον ποδομοχλό αλλαγής ταχυτήτων, περιστρέφοντας τον οδοντωτό άξονα που κανονικά κινείται από το πόδι του αναβάτη. Ταυτόχρονα, μέσω δεύτερου συνδέσμου, ο ίδιος σερβοκινητήρας ενεργοποιεί τον συμπλέκτη, αποσυμπλέκοντάς τον στιγμιαία κατά την αλλαγή σχέσης και επαναφέροντάς τον αμέσως μετά. Με αυτόν τον τρόπο, οι αλλαγές ταχυτήτων μπορούν να πραγματοποιούνται με το πάτημα ενός κουμπιού ή ακόμη και πλήρως αυτόματα, ανάλογα με τη χαρτογράφηση και το λογισμικό της ECU που διαχειρίζεται το σύστημα. Η φιλοσοφία παραμένει πιστή στο Y-AMT, αλλά με λιγότερα μηχανικά και ηλεκτρονικά μέρη.

Φυγοκεντρικός συμπλέκτης για στάση και εκκίνηση
Το απλοποιημένο σύστημα, από μόνο του, δεν αρκεί για τη διαχείριση της στάσης και της εκκίνησης από στάση. Για αυτόν τον λόγο, η Yamaha συνδυάζει τη λύση με φυγοκεντρικό συμπλέκτη, αντίστοιχο με αυτούς που χρησιμοποιούνται στα scooter και σε ορισμένες σύγχρονες ημιαυτόματες μοτοσυκλέτες. Ο φυγοκεντρικός συμπλέκτης αποσυμπλέκει στο ρελαντί και εμπλέκει αυτόματα με το άνοιγμα του γκαζιού, επιτρέποντας ομαλή εκκίνηση χωρίς σβησίματα και στάση χωρίς ανάγκη χειρισμού συμπλέκτη. Έτσι, το σύστημα καλύπτει πλήρως τις ανάγκες καθημερινής οδήγησης, ακόμη και για αναβάτες χωρίς εμπειρία σε χειροκίνητα κιβώτια.
Προοπτική για περισσότερα μοντέλα και μικρότερους κυβισμούς
Ιδιαίτερη σημασία έχει το γεγονός ότι, όπως τονίζεται στις πατέντες, το νέο σύστημα έχει σχεδιαστεί ώστε να προσαρμόζεται σε υπάρχοντες κινητήρες και κιβώτια χωρίς μεγάλες αλλαγές στη βασική τους αρχιτεκτονική. Αυτό σημαίνει ότι η Yamaha θα μπορούσε να το εφαρμόσει γρήγορα σε ένα ευρύ φάσμα μοντέλων, εφόσον διαπιστώσει εμπορικό ενδιαφέρον. Αν και τα σχέδια απεικονίζουν έναν γενικό δικύλινδρο σε σειρά κινητήρα, η φιλοσοφία του συστήματος αφήνει ανοιχτό το ενδεχόμενο εφαρμογής του ακόμη και σε μικρούς μονοκύλινδρους κινητήρες, κάτι που θα το καθιστούσε ιδανικό για μοτοσυκλέτες εκμάθησης και αρχάριους αναβάτες. Αν το κόστος μειωθεί αρκετά, το απλοποιημένο Y-AMT θα μπορούσε να αποτελέσει καθοριστικό παράγοντα για τη μαζικότερη υιοθέτηση ημιαυτόματων κιβωτίων στη μοτοσυκλέτα, αλλάζοντας σταδιακά τα δεδομένα της αγοράς.



