Yamaha: Νέα γενιά ημιαυτόματου κιβωτίου – Το Y-AMT γίνεται φθηνότερο και πιο ευέλικτο

Yamaha:Το Y-AMT γίνεται φθηνότερο και πιο ευέλικτο - Τι αλλάζει

Yamaha:Το Y-AMT γίνεται φθηνότερο και πιο ευέλικτο - Τι αλλάζει

Η Yamaha φαίνεται έτοιμη να κάνει το επόμενο βήμα στην εξάπλωση των ημιαυτόματων κιβωτίων, παρουσιάζοντας μέσω νέων πατεντών μια απλοποιημένη εκδοχή τ

Η Yamaha φαίνεται έτοιμη να κάνει το επόμενο βήμα στην εξάπλωση των ημιαυτόματων κιβωτίων, παρουσιάζοντας μέσω νέων πατεντών μια απλοποιημένη εκδοχή του συστήματος Y-AMT.

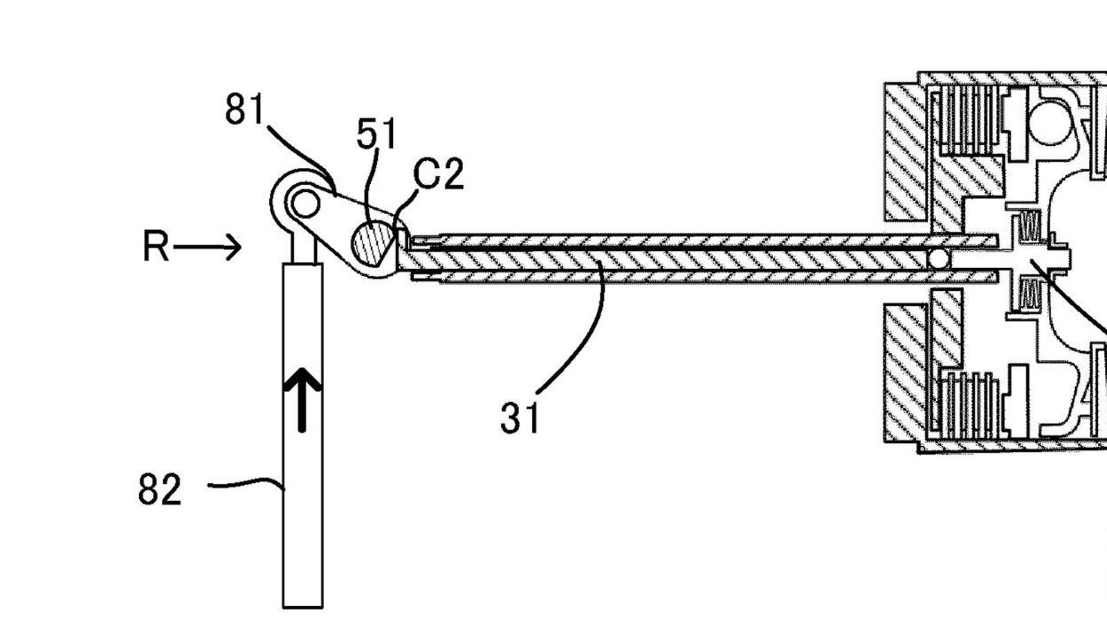
Η νέα διάταξη βασίζεται σε εντελώς συμβατικό μηχανικό κιβώτιο, χωρίς εσωτερικές μετατροπές. Ο σερβοκινητήρας τοποθετείται εξωτερικά και αντικαθιστά το

Η νέα διάταξη βασίζεται σε εντελώς συμβατικό μηχανικό κιβώτιο, χωρίς εσωτερικές μετατροπές. Ο σερβοκινητήρας τοποθετείται εξωτερικά και αντικαθιστά τον ποδομοχλό αλλαγής ταχυτήτων, περιστρέφοντας τον οδοντωτό άξονα που κανονικά κινείται από το πόδι του αναβάτη.