Δίπλωμα ευρεσιτεχνίας στην Ιαπωνία δείχνει σχέδια για ένα τρίτροχο Suzuki δεν μοιάζει με τους ανταγωνιστές της κατηγορίας καθώς έχει θέση οδήγησης τύπου go-kart αντί για την κλασική όρθια.
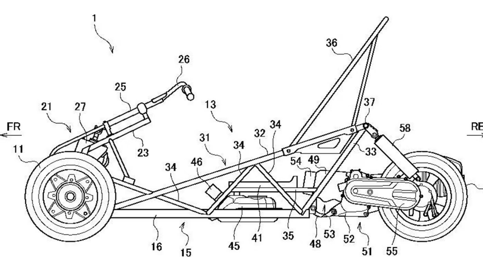
Συνδυάζει ένα κάθισμα τοποθετημένο χαμηλά, θυμίζοντας θέση οδήγησης αυτοκινήτου αλλά με σωληνωτό πλαίσιο μοτοσυκλέτας. Όπως φαίνεται θα είναι αυστηρά μονοθέσιο, ενώ για το σύστημα διεύθυνσης χρησιμοποίει κλασικό τιμόνι μοτοσυκλέτας με γκριπ που θα βοηθάει το τρίτροχο να «γέρνει» στις στροφές.
Αν και η εμφάνιση μπορεί να υποδηλώνει ένα «όχημα» υψηλών επιδόσεων, αυτό είναι παραπλανητικό καθώς η Suzuki το προορίζει για μια οικονομική λύση για τις καθημερινές μετακινήσεις. Ως εκ τούτου, δεν θα εφοδιάζεται με έναν κινητήρα από κάποιο γρήγορο μοντέλο βλέπε GSX-R1000, αλλά με έναν από τη γκάμα των scooter της εταιρείας. Όπως στα περισσότερα scooter, ο κινητήρας είναι ενιαίος με το ψαλίδι, με ολόκληρο το σύστημα μετάδοσης κίνησης να περιστρέφεται ώστε να παρέχει κίνηση στον τροχό.
Στα σχέδια βλέπουμε έναν κινητήρα που μοιάζει πολύ με τον τρέχοντα μονοκύλινδρο κινητήρα 125 κυβικών της Suzuki που συνδυάζεται με κιβώτιο ταχυτήτων CVT για να κάνει την οδήγηση όσο το δυνατόν πιο απλή, ενώ στον πίσω τροχό βλέπουμε αντί για δισκόφρενο, να έχει τοποθετηθεί ταμπούρο.
Θα πλαγιάζει σαν μοτοσυκλέτα και θα στοιχίζει όσο ένα scooterακι
Το χαμηλό κέντρο βάρους και η δομή της ανάρτησης θα επιτρέπει σε ολόκληρη την μοτοσυκλέτα να γέρνει στις στροφές όπως μια δίτροχη μοτοσυκλέτα, χωρίς κανένα ηλεκτρονικό βοήθημα για την επαναφορά της σε όρθια θέση, κάτι που θα μειώσει κι άλλο το κόστος παραγωγής. Με ένα σχετικά απλό, σωληνωτό πλαίσιο από χάλυβα, χωρίς πολλά ηλεκτρονικά συστήματα και με απλές ίσως και «παλιές» λύσεις όσον αφορά τα εξαρτήματα του, η Suzuki στοχεύει να το βγάλει στην αγορά στην τιμή ενός scooter 125 κυβικών.
Τρίτροχο μονοθέσιο 125 κ.εκ
Οδηγική συμπεριφορά δίτροχου
Χαμηλό κόστος παραγωγής και κτήσης
Προσδοκεί να γίνει το απόλυτο must της καθημερινότητας
Θα παίρνατε ένα τρίτροχο ή είστε fun των 2 τροχών μόνο;