LIVE: κίνηση στους δρόμους
Εξουσιοδοτημένοι αντιπρόσωποι - Συνεργάτες MotoΤρίτη

Τα σχέδια της Kawasaki για μια...πολύ διαφορετική μοτοσυκλέτα.

Τα σχέδια της Kawasaki για μια...πολύ διαφορετική μοτοσυκλέτα.

Τα σχέδια της Kawasaki για μια...πολύ διαφορετική μοτοσυκλέτα.

Kawasaki: Αυτή είναι η μοτοσυκλέτα του μέλλοντος;

Διαβάστηκε από 3.447 αναγνώστες (20/9/2019)

Ριζοσπαστικά σχέδια που κατέθεσε η εταιρεία από το Akashi, φανερώνουν ότι οι μηχανικοί εξερευνούν πλευρές της μοτοσυκλέτας που δεν τις ξέρουμε ακόμα. Δείτε περισσότερα…

mototriti Team

Η μοτοσυκλέτα είναι ένα από τα οχήματα που, παρά την μεγάλη της εξέλιξη μέσα στα τελευταία 100 και κάτι χρόνια, δεν εγκατέλειψε ποτέ την βασική της μορφή: Δηλαδή, αυτή ενός «ποδηλάτου με κινητήρα», κατασκευαστικά μιλώντας. Ωστόσο, με το μέλλον να γίνεται μέρα με την μέρα παρόν και τις ιδέες των μηχανικών να είναι αστείρευτες, είναι λογικό ότι κάποια στιγμή, μπορεί να δούμε μια τεράστια αλλαγή.  Κάτι τέτοιο σκέφτεται η Kawasaki, όπως αποκαλύπτουν σχέδια που κατατέθηκαν για κατοχύρωση!

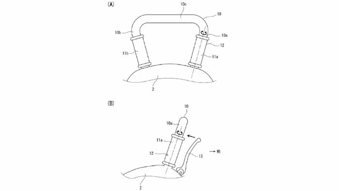
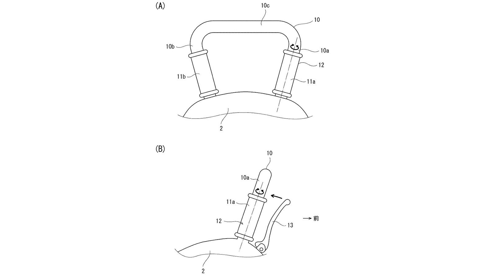
Προσέξτε τις εικόνες: Η «μοτοσυκλέτα» των σχεδίων της Kawasaki έχει ως μόνο κοινό με τις σημερινές, τους… δύο τροχούς! Όλη η υπόλοιπη κατασκευή είναι φουτουριστική, με δύο σαφή συστήματα ανάρτησης εμπρός και πίσω και ένα κεντρικό τμήμα που φιλοξενεί την θέση οδήγησης. Σύμφωνα με τα σχέδια, δεν θα υπάρχει τιμόνι στη μοτοσυκλέτα αυτή: Αισθητήρες θα αντιλαμβάνονται την θέση του αναβάτη πάνω στην μοτοσυκλέτα και θα «στρίβουν» το όχημα ανάλογα, με τις προθέσεις του αναβάτη.

Και εδώ είναι που το σχέδιο γίνεται ακόμα πιο ενδιαφέρον! Αν προσέξετε την 2η εικόνα, το όχημα δεν πλαγιάζει όπως μια κανονική μοτοσυκλέτα, στην στροφή, η οποία διατηρεί τους 2 τροχούς σε κλίση μαζί της. Η πατέντα της Kawasaki προβλέπει ότι το σώμα της μοτοσυκλέτας, ο πίσω τροχός, το κεντρικό τμήμα και ο εμπρός τροχός θα παίρνουν εντελώς ανεξάρτητη κλίση το ένα τμήμα με το άλλο, ώστε να βρίσκονται στην βέλτιστη δυνατή γωνία! Για παράδειγμα, στο σχέδιο που δείχνει το όχημα από μπροστά, βλέπουμε ότι ο εμπρός τροχός έχει «πλαγιάσει» τέρμα μέσα στην στροφή, η μοτοσυκλέτα πολύ λιγότερο, ενώ ο πίσω τροχός γέρνει… προς τα έξω και παραμένει σχεδόν όρθιος! Στην θεωρία δηλαδή, η Kawasaki σκέφτεται ότι αυτός θα ήταν ένας ιδανικός τρόπος στροφής.

Από τις λεπτομέρειες που δημοσιεύονται μαζί με την πατέντα, αποκαλύπτεται ότι η μοτοσυκλέτα αυτή θα φέρει «συμβατικά» χειριστήρια γκαζιού και φρένου (εννοούμε γκριπ και μανέτα, δηλαδή), στο δεξί χέρι του αναβάτη. Και βέβαια, με αυτά τα ριζοσπαστικά εμπρός και πίσω συστήματα, γίνεται σαφές ότι η μοτοσυκλέτα θα φέρει ηλεκτροκινητήρες για την κίνησή της, πιθανόν μάλιστα και δύο: Έναν στον εμπρός και έναν στον πίσω τροχό.

Φυσικά μια τόσο προχωρημένη ιδέα, δεν πρόκειται να μπει στην παραγωγή στο βραχυπρόθεσμο μέλλον: Κατοχυρώνεται για λόγους προστασίας, αλλά φανερώνει και τις προθέσεις των μηχανικών. Πως σας φαίνεται εσάς; Είστε έτοιμοι για την γέννηση της μοτοσυκλέτας, από την αρχή;
 

VITALIOTIS
PAPALEXANDRAKIS