Kawasaki Hydrogen Bike: Πατέντα την δείχνει με τέσσερις δεξαμενές υδρογόνου

Νέα πατέντα της Kawasaki αυξάνει τη χωρητικότητα υδρογόνου
Νέα πατέντα της Kawasaki αυξάνει τη χωρητικότητα υδρογόνου.
1 κιλό υδρογόνου χρειάζεται περίπου 11.000 λίτρα χώρου αποθήκευσης.
Η μοτοσυκλέτα γίνεται ακόμη πιο ογκώδης.
Ένα τεχνολογικό πείραμα και όχι μοντέλο παραγωγής.
Νέα πατέντα της Kawasaki αυξάνει τη χωρητικότητα υδρογόνου
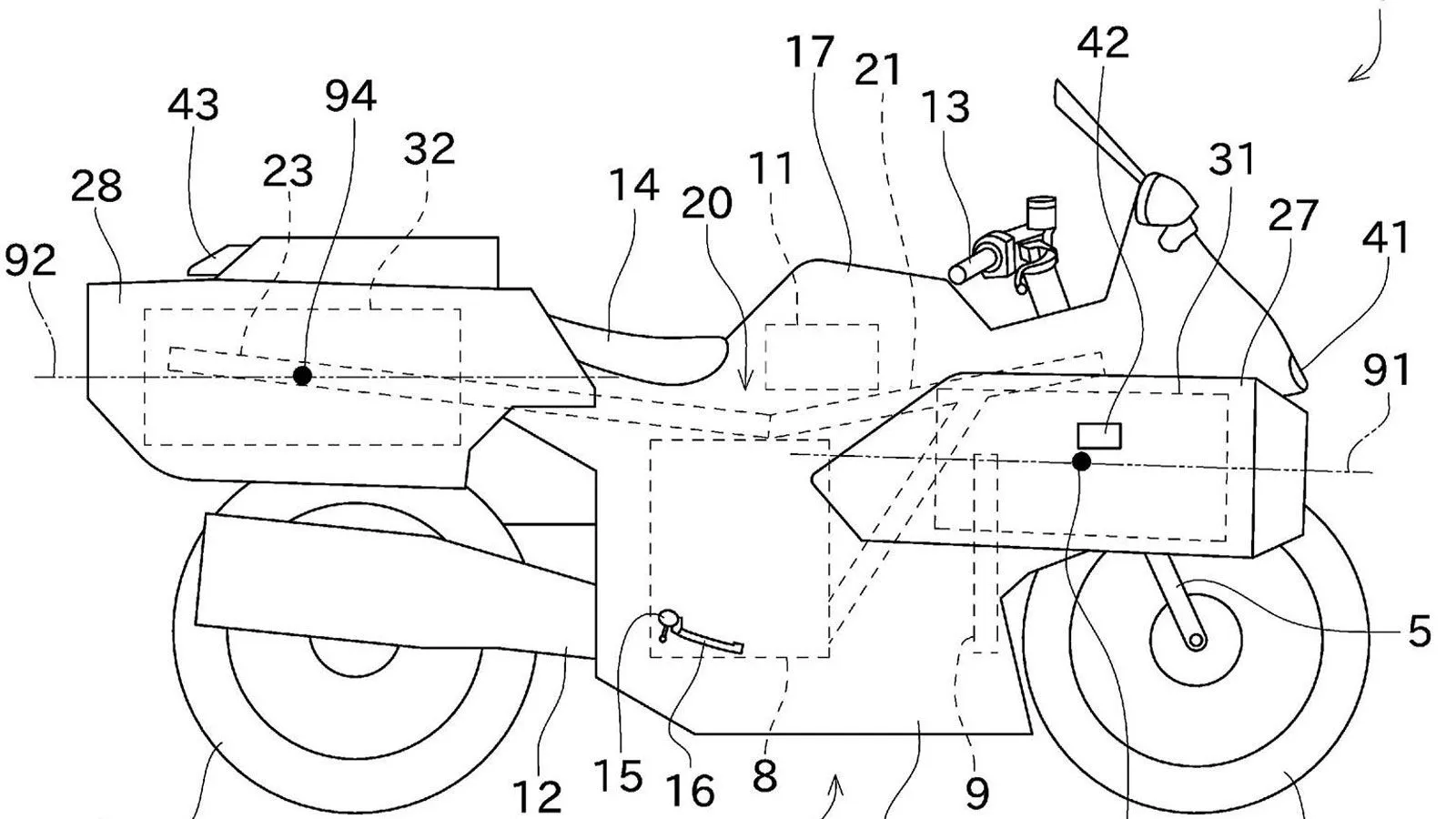
Η Kawasaki έχει ήδη παρουσιάσει δημόσια το πρωτότυπο της υδρογονοκίνητης μοτοσυκλέτας που βασίζεται στον υπερτροφοδοτούμενο κινητήρα της Kawasaki H2, ένα project που έχει τραβήξει έντονα το ενδιαφέρον λόγω της διαφορετικής τεχνολογικής προσέγγισης. Το συγκεκριμένο μοντέλο χρησιμοποιεί κινητήρα εσωτερικής καύσης που καίει υδρογόνο, αντί για μπαταρίες όπως στα περισσότερα ηλεκτρικά οχήματα.
Το πρωτότυπο ξεχωρίζει αμέσως λόγω των τεράστιων δεξαμενών υδρογόνου που βρίσκονται στο πίσω μέρος της μοτοσυκλέτας. Οι δεξαμενές αυτές καταλαμβάνουν ουσιαστικά τον χώρο που κανονικά θα χρησιμοποιούνταν για συνεπιβάτη ή αποσκευές.

Ωστόσο η αυτονομία παραμένει ένα από τα μεγαλύτερα προβλήματα των κινητήρων υδρογόνου. Για να αντιμετωπίσει αυτό το ζήτημα, η Kawasaki κατέθεσε μια νέα πατέντα που δείχνει μια ακόμη πιο ακραία λύση: την προσθήκη δύο επιπλέον δεξαμενών υδρογόνου στο μπροστινό μέρος της μοτοσυκλέτας.
Επίσης αν θες να μπεις στην κλήρωση για να κερδίσεις ένα Zontes 368G πάτα εδώ!
1 κιλό υδρογόνου χρειάζεται περίπου 11.000 λίτρα χώρου αποθήκευσης
Το υδρογόνο ως καύσιμο έχει αρκετά σημαντικά πλεονεκτήματα. Κατά την καύση του παράγεται κυρίως υδρατμός αντί για διοξείδιο του άνθρακα, ενώ θεωρητικά διαθέτει και πολύ υψηλή ενεργειακή πυκνότητα σε σχέση με τη βενζίνη.
Συγκεκριμένα, 1 κιλό υδρογόνου μπορεί να αποδώσει έως και τρεις φορές περισσότερη ενέργεια από 1 κιλό βενζίνης. Το πρόβλημα όμως είναι ότι το υδρογόνο είναι το πιο ελαφρύ και λιγότερο πυκνό στοιχείο που υπάρχει.

Σε φυσιολογική ατμοσφαιρική πίεση, 1 κιλό υδρογόνου χρειάζεται περίπου 11.000 λίτρα χώρου αποθήκευσης. Αν κάποιος ήθελε να αντικαταστήσει τα περίπου 14 λίτρα βενζίνης που έχει ένα τυπικό ρεζερβουάρ μοτοσυκλέτας, θα χρειαζόταν θεωρητικά πάνω από 100.000 λίτρα υδρογόνου.
Για αυτό το καύσιμο πρέπει να συμπιεστεί σε πίεση περίπου 700 bar μέσα σε ειδικές κυλινδρικές δεξαμενές υψηλής αντοχής. Ακόμη όμως και έτσι, ο όγκος παραμένει μεγάλος. Για παράδειγμα, 10 λίτρα συμπιεσμένου υδρογόνου αντιστοιχούν περίπου στην ενέργεια 1,4 λίτρων βενζίνης.
Ο διαγωνισμός δεν σταματά στη μοτοσυκλέτα έχει δώρο 50 μπουφάν και 50 κράνη! Για να τα διεκδικήσεις πάτα εδώ!
Η μοτοσυκλέτα γίνεται ακόμη πιο ογκώδης
Η νέα πατέντα της Kawasaki Hydrogen Bike δείχνει μια μοτοσυκλέτα που διαθέτει συνολικά τέσσερις δεξαμενές υδρογόνου. Οι δύο βρίσκονται στο πίσω μέρος, όπως και στο υπάρχον πρωτότυπο, ενώ άλλες δύο τοποθετούνται στα πλαϊνά του φέρινγκ μπροστά από τον αναβάτη.

Οι δεξαμενές αυτές τοποθετούνται εξωτερικά από τον τετρακύλινδρο κινητήρα 999 κ.εκ. και το μπροστινό σύστημα ανάρτησης, γεγονός που κάνει τη μοτοσυκλέτα ακόμη πιο φαρδιά και ογκώδη.
Επειδή οι δεξαμενές πρέπει να είναι κυλινδρικές για να αντέχουν την υψηλή πίεση, δεν μπορούν να ενσωματωθούν εύκολα στο πλαίσιο ή στο σχήμα της μοτοσυκλέτας. Επιπλέον, χρειάζονται ισχυρές προστατευτικές κατασκευές γύρω τους για λόγους ασφαλείας.
Σε περίπτωση ατυχήματος, μια δεξαμενή υδρογόνου που θα υποστεί ζημιά θα μπορούσε να προκαλέσει σοβαρή πυρκαγιά ή έκρηξη, γιΆ αυτό και η προστασία τους είναι ιδιαίτερα σημαντική.
Ένα τεχνολογικό πείραμα και όχι μοντέλο παραγωγής
Με όλα αυτά τα δεδομένα, είναι δύσκολο να φανταστεί κανείς ότι μια τέτοια μοτοσυκλέτα θα μπορούσε να φτάσει σύντομα στην παραγωγή. Ακόμη και αν αυτό συνέβαινε, η έλλειψη υποδομών ανεφοδιασμού υδρογόνου θα την καθιστούσε ιδιαίτερα δύσχρηστη.
Παρόλα αυτά, το project της Kawasaki έχει διαφορετικό στόχο. Η Kawasaki Heavy Industries υποστηρίζει έντονα την ιδέα μιας λεγόμενης «hydrogen society», όπου το υδρογόνο θα αποτελεί βασικό ενεργειακό καύσιμο στο μέλλον.
Η εταιρεία συμμετέχει ήδη στην ανάπτυξη μιας πλήρους αλυσίδας παραγωγής και μεταφοράς υδρογόνου, από την παραγωγή του καυσίμου μέχρι την αποθήκευση και τη μεταφορά του σε μεγάλες ποσότητες.
Υπό αυτό το πρίσμα, η υδρογονοκίνητη μοτοσυκλέτα της Kawasaki φαίνεται να λειτουργεί περισσότερο ως τεχνολογικό demonstrator, παρουσιάζοντας τις δυνατότητες των κινητήρων υδρογόνου, παρά ως μοντέλο που προορίζεται να βγει σύντομα στους δρόμους.
Μην ξεχάσεις να μπεις και εσύ στην κλήρωση για να κερδίσεις ένα Zontes 368G πάτα εδώ!

.jpg)
