LIVE: κίνηση στους δρόμους
Εξουσιοδοτημένοι αντιπρόσωποι - Συνεργάτες MotoΤρίτη

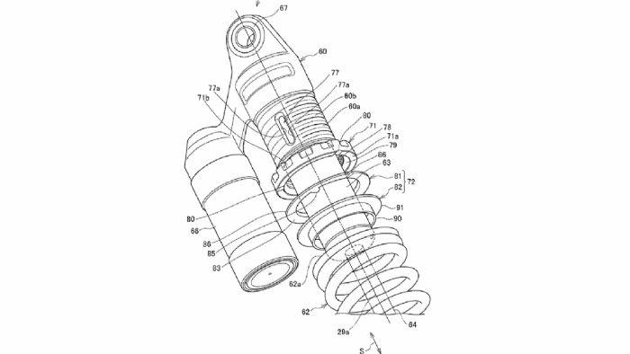
Μερικά από τα σχέδια που κατατέθηκαν για την Rebel 1100.

Μερικά από τα σχέδια που κατατέθηκαν για την Rebel 1100.

Μερικά από τα σχέδια που κατατέθηκαν για την Rebel 1100.

Μερικά από τα σχέδια που κατατέθηκαν για την Rebel 1100.

Honda: Ιδού το νέο Rebel 1100!

Διαβάστηκε από 4.602 αναγνώστες (19/10/2020)

Αποκαλύπτεται μέσα από σχέδια προς κατοχύρωση, η δημιουργία ενός μεγαλύτερου Rebel από την Honda, ρίχνοντας λάδι στην φωτιά των φημών που κρατούν χρόνια. Δείτε περισσότερα.

mototriti Team

HONDA: Πρόλαβε τώρα το SHMODE 125 σε προνομιακή τιμή!

HONDA: PCX125...Η καλύτερη πλευρά της πόλης!

Η Honda Rebel 1100 είναι μια μοτοσυκλέτα που ακούγεται έντονα σε φημολογία σχεδόν 2 χρόνια τώρα, για την παρουσίαση του και την διεύρυνση της γκάμας των Rebel. Τώρα ακόμα πιθανότερο φαίνεται το σενάριο της παρουσίασης του νέου μοντέλου, με σχέδια που κατατέθηκαν προς κατοχύρωση στο αμερικανικό γραφείο πατεντών.
 
Τα σχέδια είναι εξαιρετικά λεπτομερή, πράγμα που δίνει δικαίωμα εικασίας για ένα μοντέλο σε τελική φάση ανάπτυξης, πριν την παρουσίαση του. Στην καρδιά της νέας μοτοσυκλέτας, διακρίνεται ο δικύλινδρος των 1.100 κυβικών, που γνωρίσαμε πρώτα μέσα από την Africa Twin 1100, μάλιστα στο παρόν σχέδιο φαίνεται να έχει και το κιβώτιο DCT. Στην πλαϊνή όψη, εμφανίζεται επίσης η μορφή της εξάτμισης, η οποία θα κληθεί να είναι ιδιαίτερα πολύπλοκη λόγω προδιαγραφών ρύπων , αλλά και τις λεπτομέρειες της μορφής του πλαισίου, του εμπρός συμβατικού πιρουνιού με ακτινικά φρένα και της πίσω ανάρτησης.
 
Στην μπροστινή όψη, η μοτοσυκλέτα φαίνεται ιδιαίτερα ογκώδης, με τον φαρδύτερο κινητήρα των 1.100 κυβικών, το τελικό της εξάτμισης, το ψυγείο και το ρεζερβουάρ να είναι ευδιάκριτα.
 
Αξίζει να σημειώσουμε ότι, παρά το ότι οι πατέντες απεικονίζουν ξεκάθαρα μια Rebel 1100, δεν κατατέθηκαν ακριβώς για την μοτοσυκλέτα, αυτή καθεαυτή! Τα σχέδια έχουν σκοπό την κατοχύρωση και προστασία δύο άλλων σημείων: Τους αισθητήρες λάμδα της μοτοσυκλέτας και το σημείο τοποθέτησης τους, κάτω από το ψυγείο, αλλά και ένα νέο σύστημα στα πίσω αμορτισέρ με χειροκίνητη ρύθμιση προφόρτισης, που όμως «κλειδώνει» ώστε να μην ξερυθμίζει από την δύναμη των ελατηρίων του αμορτισέρ. Φυσικά, δεν είναι ούτε η πρώτη ούτε η τελευταία φορά, που μοτοσυκλέτα «στα σκαριά» εμφανίζεται σε φαινομενικά ανεξάρτητες πατέντες.
 
Μείνετε συντονισμένοι για περισσότερα…
 

VITALIOTIS
PAPALEXANDRAKIS