LIVE: κίνηση στους δρόμους
Εξουσιοδοτημένοι αντιπρόσωποι - Συνεργάτες MotoΤρίτη

BMW: Πατέντες για υβριδικό κινητήρα

Διαβάστηκε από 3.406 αναγνώστες (20/2/2019)

Απλοϊκά αλλά αποκαλυπτικά σχέδια, φαίνεται να κατοχύρωσε η BMW για νέο σύνολο κινητήρα-μοτέρ. Δείτε περισσότερα…

mototriti Team

Πίσω στο 2017, η BMW είχε αποφασίσει να δημοσιεύσει σχέδια για υβριδική μοτοσυκλέτα, αλλά τελικά αποδείχθηκε ότι αυτά ήταν ένα… πρωταπριλιάτικο αστείο. Φαίνεται όμως ότι, τελικά, οι Βαυαροί δεν μας… δούλευαν εντελώς, αλλά είχαν ήδη καταθέσει τις πατέντες τους, προκαλώντας και λίγο ντόρο στην πορεία.

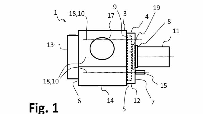
Τώρα, Αμερικανοί δημοσιογράφοι φαίνεται να εξασφάλισαν, τα σχέδια που απεικονίζουν έναν νέο κινητήρα Boxer, που συνδυάζεται με ηλεκτρικό μοτέρ. Οι μηχανικοί της BMW, όπως διαπιστώνετε και από τις εικόνες, δεν ασχολήθηκαν ιδιαίτερα με την λεπτομέρεια των σχεδίων και χρησιμοποίησαν απλά… γεωμετρικά σχήματα, για να απεικονίσουν αυτό που θέλουν. Έτσι, στην πρώτη εικόνα, βλέπουμε έναν Boxer από το πλάι: Ο κύλινδρος αντιστοιχεί στον αριθμό 17, το ηλεκτρικό μοτέρ στον αριθμό 11 και η μονάδα διαμοιρασμού ισχύος, με τον αριθμό 19. Ο άξονας εξόδου ισχύος είναι το 15, ενώ με το 13 μαρκάρεται ο συμπλέκτης, ο οποίος βρίσκεται στο εμπρός μέρος του υδρόψυκτου Boxer.



Με μια τέτοια μονάδα ισχύος, η BMW που την φέρει μπορεί να λειτουργεί με πολλαπλούς τρόπους, που θα μπορούν να επαληθευθούν μόνο στην πράξη. Ο ηλεκτροκινητήρας θα μπορεί να λειτουργεί υποβοηθητικά, ως μίζα για τον Boxer ή ως γεννήτρια, αλλά και παίρνοντας πρωτεύοντα ρόλο αν χρειαστεί, κινώντας μόνος του την μοτοσυκλέτα.



Αν και το σχέδιο είναι κατατοπιστικό, όσον αφορά την βασική ιδέα, προφανώς δεν αποκαλύπτει ούτε λεπτομέρειες, ούτε όμως και πρόθεση για χρήση σε μοτοσυκλέτα παραγωγής (ακόμα). Φαίνεται ότι η BMW αποφάσισε απλά να διαφυλάξει την δημιουργία της, προς το παρόν, εξετάζοντας το ενδεχόμενο για μελλοντική εφαρμογή της. Ίδωμεν.
 

VITALIOTIS
PAPALEXANDRAKIS