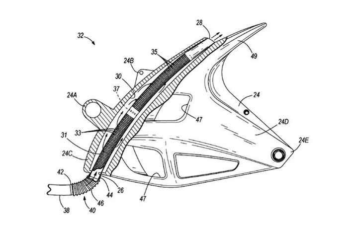
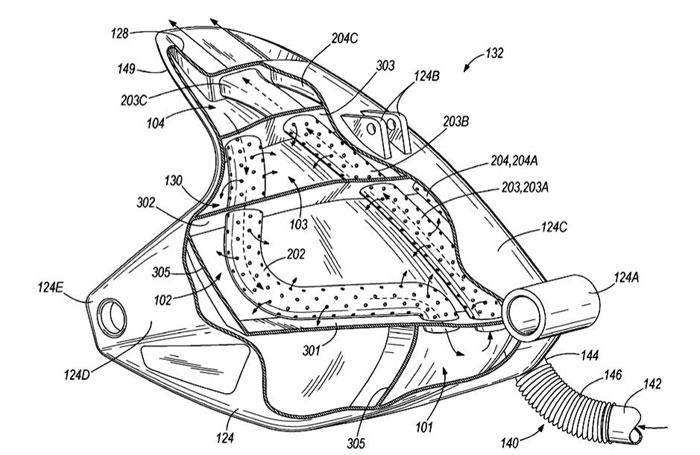
Θα θυμάστε βέβαια ότι στα Buell, το πλαίσιο έπαιζε και τον ρόλο του ρεζερβουάρ. Αντίστοιχης φιλοσοφίας είναι και η εν λόγω εφαρμογή, της οποίας τα σχέδια πρόσφατα δόθηκαν στη δημοσιότητα. Στα σχέδια αυτά, απεικονίζεται ένα χυτό ψαλίδι αλουμινίου, μέσα από τα τοιχώματα του οποίο διέρχονται σωλήνες που αποτελούν και το τελικό τμήμα της εξάτμισης. Η σύνδεση με το αρχικό τμήμα του συστήματος εξάτμισης, που ξεκινά από την εξαγωγή των κυλίνδρων και καταλήγει στο κάτω μέρος της μοτοσικλέτας, γίνεται μέσω ενός εύκαμπτου σωληνοειδούς τμήματος. Με τον τρόπο αυτό, είναι δυνατή η απρόσκοπτη κίνηση του ψαλιδιού χωρίς να εμποδίζεται η διοχέτευση των καυσαερίων στο εσωτερικό του. Τα οφέλη, είναι φυσικά το μειωμένο βάρος και οι μαζεμένες διαστάσεις. Η συγκεκριμένη «πατέντα» όμως, δεν πρόκειται να εφαρμοστεί σε καμία από τις αγωνιστικές μοτοσικλέτες που κατασκευάζει πλέον ο χαρισματικός μηχανικός και αυτό γιατί η κατοχύρωση της έγινε κατά τη περίοδο που ο Eric Buell ανήκε στο δυναμικό της Harley Davidson.
Ηλεκτρικά scooter με τη μεγαλύτερη αυτονομία και ABS στα φρένα
Όρια ταχύτητας, AI κάμερες και νέος ΚΟΚ: Γιατί οι οδηγοί λένε ότι το σύστημα δεν εφαρμόζεται
QJMotor Equus 600 V4: Café racer με V4 κινητήρα και ιταλικό design με τιμή έκπληξη
Vespa Primavera & Vespa Sprint S 2026: Με Keyless, πίσω δισκόφρενο και νέα ψηφιακή οθόνη
Montesa Cota 4RT 301RR: Αγωνιστικό DNA trial με βάρος μόλις 73 κιλά και τιμή 12.000 ευρώ
Peugeot PM-01 125: Urban roadster στα 4.400 ευρώ με 14 ίππους
Morbidelli T125X 2026: Adventure προσανατολισμός και από τα 125 κ.εκ.
V-Strom 800 DE: Ικανή να καλύψει όλες τις απαιτήσεις.
Test Oxford Arizona Air 1.0 WS: Ελαφρύ καλοκαιρινό μπουφάν σε γυναικεία γραμμή
Bridgestone Battlax SC2 Rain: Ειδικά σχεδιασμένο για βροχή ώστε να μην ξεκολλάει το Scooter σου
mototriti.gr | Ταυτότητα
Επωνυμία Επιχείρησης: AUTO ΤΡΙΤΗ ΑΕ
Έδρα - Γραφεία: Λεωφόρος Αμαρουσίου 14 - Νέο Ηράκλειο, Τ.Κ. 141 22
Νομική Μορφή: ΕΚΔΟΤΙΚΗ ΕΤΑΙΡΕΙΑ
Α.Φ.Μ.: 998384177
Δ.Ο.Υ.: ΚΕΦΟΔΕ
Στοιχεία Επικοινωνίας:
E-mail: [email protected]
Τηλέφωνο: 211 1085500
Ιστοσελίδα: www.mototriti.gr
Διοικητικά Στελέχη
Ιδιοκτήτες & Κύριοι Μέτοχοι: Δανάη Τριανταφύλλη Δάφνη Τριανταφύλλη
Νόμιμος εκπρόσωπος - Διευθυντής: Νίκος Καρανάσιος
Διευθυντής σύνταξης: Παναγιώτης Σιώπης
Διαχειριστής ονόματος τομέα: ΑUTO ΤΡΙΤΗ Α.Ε.