Η General Motors «ανασταίνει» τους δίχρονους: Η πατέντα-έκπληξη που ανατρέπει όσα ξέραμε

Η General Motors καταθέτει πατέντα για έναν νέο τύπο δίχρονου κινητήρα, διαψεύδοντας όσους πίστευαν ότι οι δίχρονοι ανήκουν οριστικά στο παρελθόν.
Οι δίχρονοι επιστρέφουν στο προσκήνιο — και μάλιστα από τη General Motors.
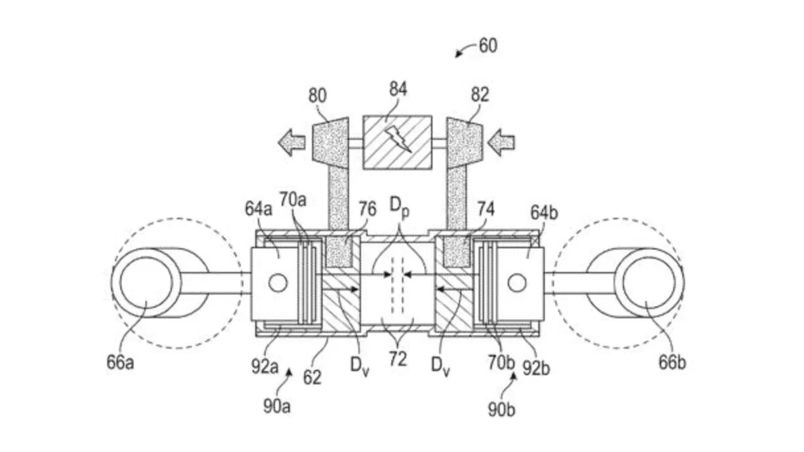
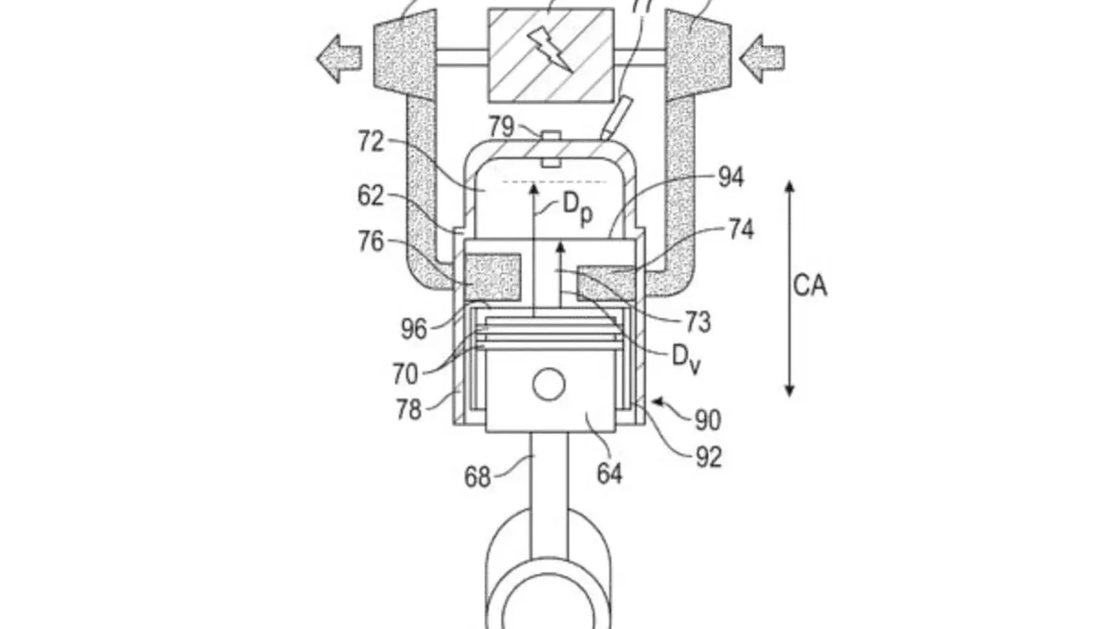
Μια κινούμενη μανέτα που τοποθετείται ανάμεσα σε έμβολο και κύλινδρο.
Μπορεί να λειτουργήσει σαν μεταβλητός χρονισμός θυρίδων.
Δίχρονο comeback ή μία ακόμη πατέντα που θα ξεχαστεί;
Οι δίχρονοι επιστρέφουν στο προσκήνιο — και μάλιστα από τη General Motors
Η General Motors καταθέτει πατέντα για έναν νέο τύπο δίχρονου κινητήρα, διαψεύδοντας όσους πίστευαν ότι οι δίχρονοι ανήκουν οριστικά στο παρελθόν. Σε μια εποχή όπου η αυτοκινητοβιομηχανία μιλά σχεδόν αποκλειστικά για ηλεκτροκίνηση και υδρογόνο, η GM επιλέγει να επενδύσει χρόνο και τεχνογνωσία σε μια τεχνολογία που όλοι νόμιζαν «τελειωμένη». Το ενδιαφέρον είναι πως αυτό δεν προέρχεται από start-up ή από κάποιο εργαστήριο ερευνητών, αλλά από έναν από τους μεγαλύτερους ομίλους του πλανήτη.
Μια κινούμενη μανέτα που τοποθετείται ανάμεσα σε έμβολο και κύλινδρο.

Ο δίχρονος της GM δεν μοιάζει σε τίποτα με τους κλασικούς «δίχρονους» που όλοι θυμόμαστε. Η πατέντα περιγράφει έναν κινητήρα όπου μια κινούμενη sleeve-μανέτα τοποθετείται ανάμεσα στο πιστόνι και στον κύλινδρο. Η μανέτα ανοίγει και κλείνει τα αντίστοιχα ports συγχρονισμένα με την κίνηση του εμβόλου, επιτρέποντας την είσοδο αέρα, τη σφράγιση για καύση και στη συνέχεια την εξαγωγή καυσαερίων με εντελώς ελεγχόμενο τρόπο. Με αυτόν τον σχεδιασμό, η GM επιχειρεί να λύσει τρία διαχρονικά μειονεκτήματα των δίχρονων: χαμηλή απόδοση καύσης, υψηλές εκπομπές ρύπων και μειωμένη αντοχή. Η ίδια η μανέτα «συνοδεύει» τα ελατήρια του εμβόλου, ώστε να μην ακουμπούν στις θυρίδες, μειώνοντας τη φθορά—μια από τις μεγαλύτερες παθογένειες του παραδοσιακού δίχρονου.
Μπορεί να λειτουργήσει σαν μεταβλητός χρονισμός θυρίδων
Η πατέντα δεν το διευκρινίζει, όμως η σχεδίαση «ανοίγει την πόρτα» για κάτι που ποτέ δεν είχαμε δει σε δίχρονο: ενδεχόμενο μεταβλητού χρονισμού. Αν η μανέτα μπορεί να μεταβάλλει τον χρόνο ή το εύρος ανοίγματος των θυρίδων, τότε η GM ίσως βρίσκεται μπροστά σε έναν δίχρονο κινητήρα με αποδοτικότητα κοντά σε τετράχρονο. Αυτό θα σήμαινε καλύτερη ροπή χαμηλά, περισσότερη δύναμη ψηλά και… επανάσταση σε μια τεχνολογία που όλοι θεωρούσαν ξεπερασμένη.
Δίχρονο comeback ή μία ακόμη πατέντα που θα ξεχαστεί;
Οι «σωτήρες» των δίχρονων εμφανίζονται συχνά, όμως σπάνια φτάνουν στη γραμμή παραγωγής. Χρειάζεται μεγάλη επιφύλαξη, γιατί καμία αυτοκινητοβιομηχανία δεν έχει βάλει σοβαρά δίχρονο σε μοντέλο εδώ και δεκαετίες. Παρόλα αυτά, η είσοδος της GM στη συζήτηση αλλάζει τα δεδομένα. Αν ένας τόσο μεγάλος όμιλος επιλέγει να επενδύσει σε δίχρονη αρχιτεκτονική, τότε ίσως η τεχνολογία να έχει πολύ μεγαλύτερο μέλλον απΆ όσο νομίζαμε. Και, αν η GM ανοίξει τον δρόμο για δίχρονους στους τετράτροχους, δεν αποκλείεται κάποια στιγμή να δούμε moto-κατασκευαστές να ξανακοιτάζουν σοβαρά τους δίχρονους κινητήρες.

.jpg)

