Η General Motors «ανασταίνει» τους δίχρονους: Η πατέντα-έκπληξη που ανατρέπει όσα ξέραμε

Η General Motors καταθέτει πατέντα για έναν νέο τύπο δίχρονου κινητήρα, διαψεύδοντας όσους πίστευαν ότι οι δίχρονοι ανήκουν οριστικά στο παρελθόν.

Η General Motors καταθέτει πατέντα για έναν νέο τύπο δίχρονου κινητήρα, διαψεύδοντας όσους πίστευαν ότι οι δίχρονοι ανήκουν οριστικά στο παρελθόν.

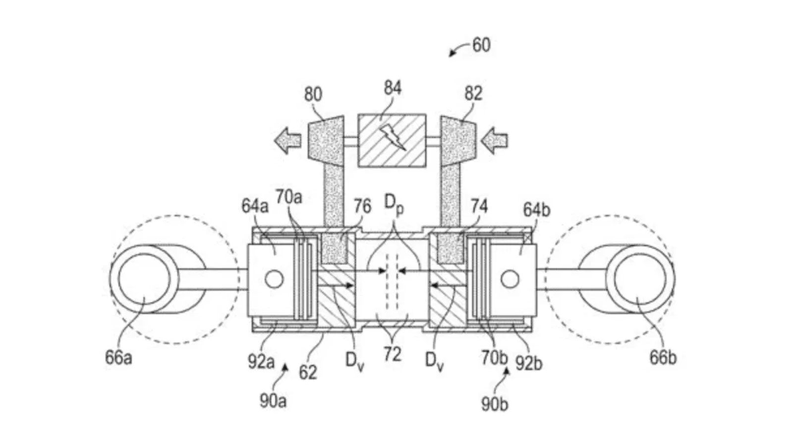
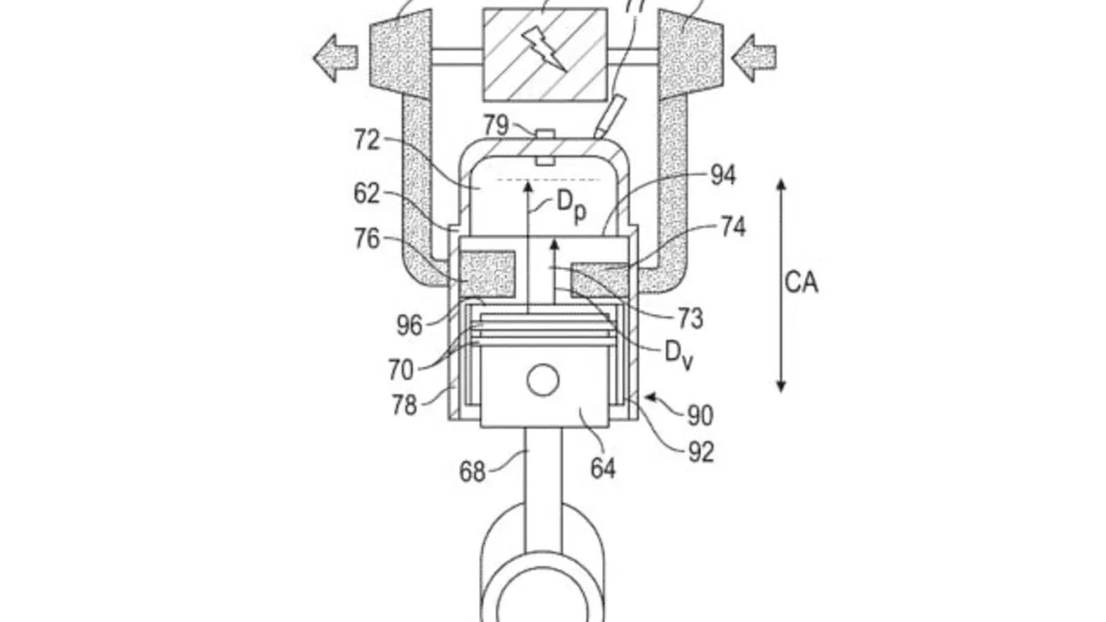
Ο δίχρονος της GM δεν μοιάζει σε τίποτα με τους κλασικούς «δίχρονους» που όλοι θυμόμαστε. Η πατέντα περιγράφει έναν κινητήρα όπου μια κινούμενη sleeve

Ο δίχρονος της GM δεν μοιάζει σε τίποτα με τους κλασικούς «δίχρονους» που όλοι θυμόμαστε. Η πατέντα περιγράφει έναν κινητήρα όπου μια κινούμενη sleeve-μανέτα τοποθετείται ανάμεσα στο πιστόνι και στον κύλινδρο.