Έχετε σκεφτεί ποτέ ότι θα θέλατε να έχετε, έστω και σε ελάχιστο βαθμό, διαφορετικά χαρακτηριστικά θέσης οδήγησης στη μοτοσικλέτα σας, ανάλογα με την οδήγηση που κάνετε εκείνη τη στιγμή; Η Honda φαίνεται ότι «εισάκουσε» τις προσευχές και αναπτύσσει ένα σύστημα, το οποίο δρα στη σέλα και στα μαρσπιέ, μεταβάλλοντας την γεωμετρία της θέσης οδήγησης, ανάλογα με τις εκάστοτε ανάγκες!
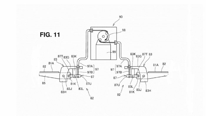
Το σύστημα αποτελείται από μια σειρά ηλεκτροκινητήρων σέρβο, οι οποίοι θα βρίσκονται κάτω από τη σέλα. Σύμφωνα με τα σχέδια, οι κινητήρες αυτοί θα ανασηκώνουν την σέλα προς τα εμπρός, σε έντονη επιτάχυνση, αλλά και τα τη γυρνούν προς τα πίσω, σε ανάγκες επιβράδυνσης! Μάλιστα, κατά την επιβράδυνση, η πίσω σέλα θα σηκώνεται προς τα πίσω σε εντονότερο βαθμό, προκειμένου το βάρος του συνεπιβάτη να βαρύνει λιγότερο τον αναβάτη εμπρός του!
Παρόμοια θα μεταβάλλεται και το ύψος στα μαρσπιέ, τα οποία θα κινούνται και αυτά από σερβοκινητήρες και θα αλλάζουν την γωνία του ποδιού του αναβάτη, στις στροφές. Ο αναβάτης αναμένεται να έχει και την δυνατότητα να προσαρμόσει κατά βούληση το ύψος των μαρσπιέ, ενεργώντας με ανάλογα κουμπιά πάνω στον σερβοκινητήρα.
Ουσιαστικά, με τις εναλλαγές αυτές, η μοτοσικλέτα αλλάζει χαρακτηριστικά θέσης οδήγησης, προσφέροντας στοιχεία από άλλα είδη μοτοσικλετών-κυρίως τις πιο sport- πάνω σε μια τουριστική πλατφόρμα βάσης!
Το σύστημα προς το παρόν έχει παρουσιαστεί με βάση δυο τουριστικές μοτοσικλέτες, την VFR1200F και την Goldwing, ωστόσο δεν αποκλείεται να το δούμε και σε άλλες μοτοσικλέτες αργότερα. Εσείς τι λέτε; Θεωρείτε την νέα τεχνολογία χρήσιμη ή υπερβολική;
Scooter από 150 έως 200κ.εκ. με τη χαμηλότερη κατανάλωση
TAILG X51 Lead Acid: Προσιτή λύση ηλεκτροκίνησης στα 1.298 ευρώ
BMW R20 και R12 Cafe Racer: Δύο νέες ρετρό μοτοσυκλέτες στη Heritage γκάμα
Ducati: Διέρρευσαν τα τελικά σχέδια των DesertX V2 και Desmo450 EDS
Triumph Bonneville 1200: Αποκαλύπτεται η ημερομηνία λανσαρίσματος
Παρουσίαση Oxford Aquatex Pro: Πλήρης προστασία από ήλιο, βροχή & σκόνη
Πιάσανε 24χρονο από την Θήβα που δεν σταμάτησε σε έλεγχο – Βίντεο τον πρόδωσε
QJMOTOR IMBROS 2026: Οδοιπορικό από την Ίμβρο στη Μικρά Ασία
Bridgestone Battlax S22 120/70-17 & 180/55-17
mototriti.gr | Ταυτότητα
Επωνυμία Επιχείρησης: AUTO ΤΡΙΤΗ ΑΕ
Έδρα - Γραφεία: Λεωφόρος Αμαρουσίου 14 - Νέο Ηράκλειο, Τ.Κ. 141 22
Νομική Μορφή: ΕΚΔΟΤΙΚΗ ΕΤΑΙΡΕΙΑ
Α.Φ.Μ.: 998384177
Δ.Ο.Υ.: ΚΕΦΟΔΕ
Στοιχεία Επικοινωνίας:
E-mail: [email protected]
Τηλέφωνο: 211 1085500
Ιστοσελίδα: www.mototriti.gr
Διοικητικά Στελέχη
Ιδιοκτήτες & Κύριοι Μέτοχοι: Δανάη Τριανταφύλλη Δάφνη Τριανταφύλλη
Νόμιμος εκπρόσωπος - Διευθυντής: Νίκος Καρανάσιος
Διευθυντής σύνταξης: Παναγιώτης Σιώπης
Διαχειριστής ονόματος τομέα: ΑUTO ΤΡΙΤΗ Α.Ε.