LIVE: κίνηση στους δρόμους
Εξουσιοδοτημένοι αντιπρόσωποι - Συνεργάτες MotoΤρίτη

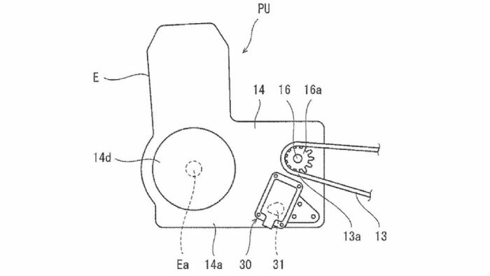
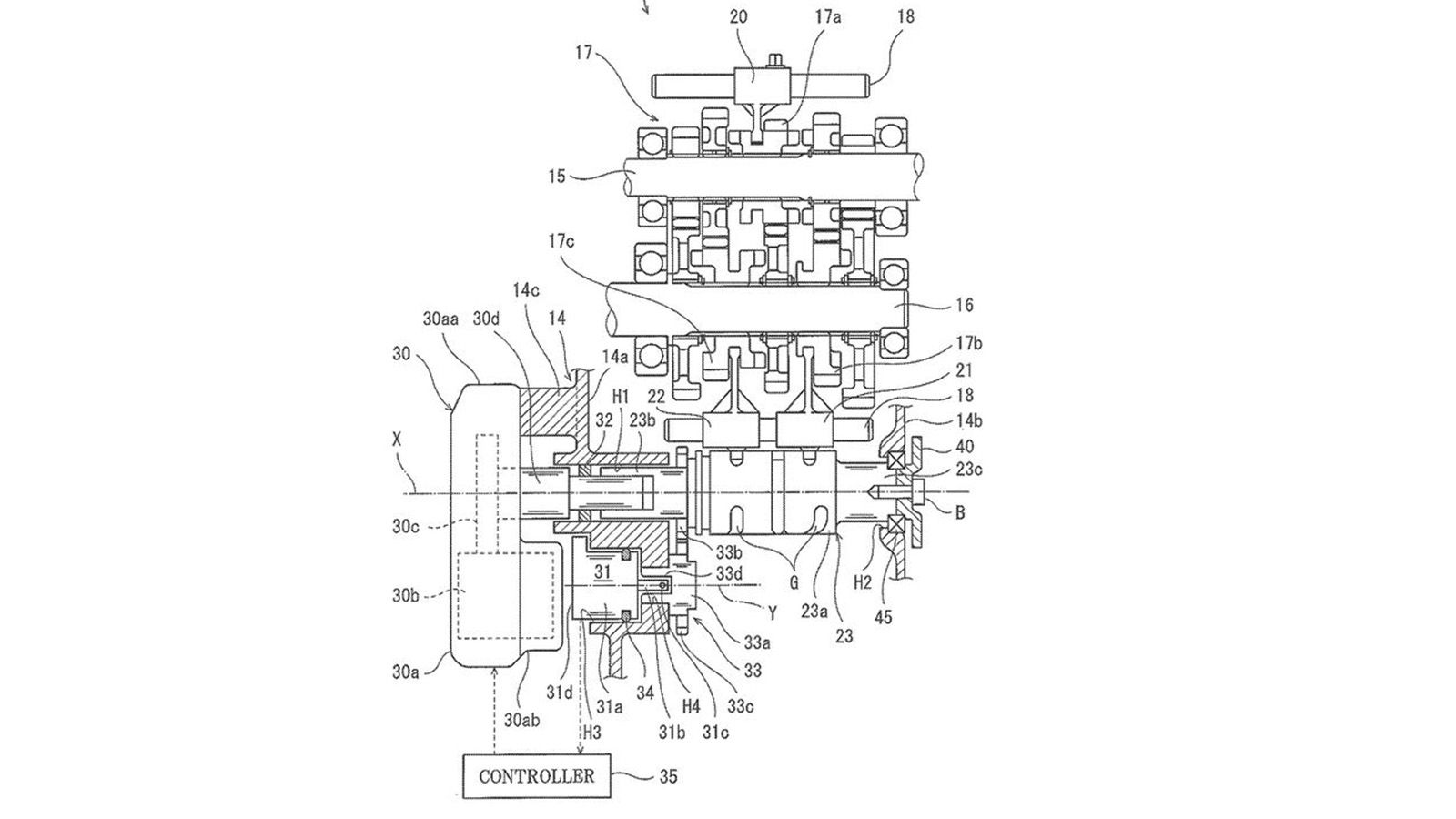
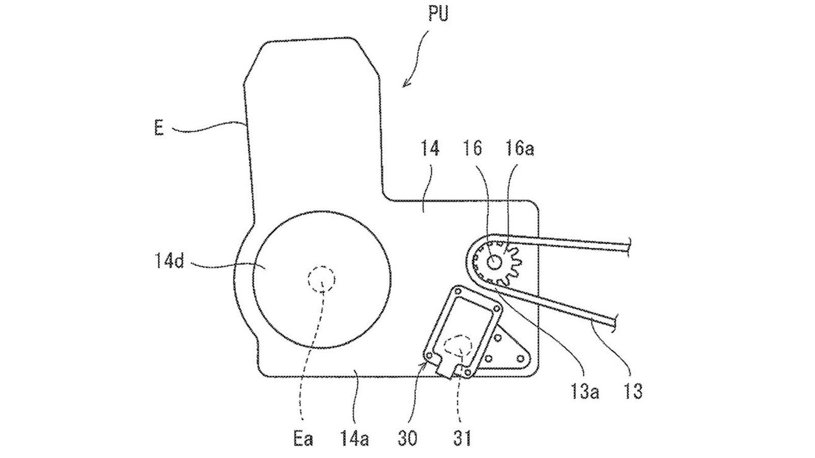
Μερικά από τα σχέδια της πατέντας της Kawasaki.

Μερικά από τα σχέδια της πατέντας της Kawasaki.

Μερικά από τα σχέδια της πατέντας της Kawasaki.

Kawasaki: Νέες πατέντες για ηλεκτρονικό κιβώτιο ταχυτήτων

Διαβάστηκε από 2.194 αναγνώστες (28/1/2021)

Περισσότερα σχέδια για ένα νέο, ηλεκτρονικά ελεγχόμενο σασμάν για μοτοσυκλέτες, κατατέθηκαν προς κατοχύρωση από την Kawasaki. Δείτε περισσότερα.

mototriti Team

Η Kawasaki φαίνεται πως εξετάζει τα ηλεκτρονικά ελεγχόμενα κιβώτια ταχυτήτων, όπως φανερώνουν οι ανάλογες πατέντες που κατατέθηκαν στην Ιαπωνία και αποκάλυψαν μερικά διεθνή μέσα. Η εταιρεία από το Akashi έχει την δική της προσέγγιση για το σύστημα, που απέχει παρασάγγας από το DCT της Honda, αλλά μοιράζεται κάποια κοινά με το σύστημα YCC-S της Yamaha.
 
Η πατέντα αντικαθιστά την μηχανική σύνδεση του λεβιέ των ταχυτήτων με έναν ηλεκτρονικό σερβομηχανισμό, ο οποίος θα ελέγχει τον «μύλο» στο εσωτερικό του κινητήρα. Ο έλεγχος του σερβομηχανισμού θα μπορούσε να γίνει πρακτικά με οποιονδήποτε τρόπο: Είτε πλήρως αυτόματα ανάλογα με την κινητική κατάσταση της μοτοσυκλέτας, είτε μέσω ενός «ηλεκτρονικού» λεβιέ ταχυτήτων στο πόδι, είτε με πλήκτρα στο τιμόνι.
 
Δεν έχει διευκρινιστεί ακόμη σε ποια μοντέλα θα μπορούσε να τοποθετηθεί το σύστημα, ωστόσο είναι λογικό να είναι «υποψήφιο» για τουριστικές προτάσεις, όπως η Z1000SX που χρησιμοποιείται ως «υπόδειγμα» στην πατέντα. Επίσης, δεν αποκλείεται το σύστημα να εξοπλίσει και άλλα μοντέλα της Kawasaki στο μέλλον, εκτός από τα αμιγώς τουριστικά.
 
Πότε θα δούμε όμως αυτή την νέα τεχνολογία; Αναμένεται ακόμη η τουριστική μοτοσυκλέτα της Kawasaki που θα φέρει σύστημα ραντάρ, άρα δεν αποκλείεται η εισαγωγή της εν λόγω τεχνολογίας σε εκείνο το μοντέλο, φυσικά ως επίδειξη τεχνολογικού επιπέδου. Προς το παρόν τηρούμε στάση αναμονής.

(Πηγές-Φωτό: Japanese Patent Office, Cycleworld, Moto.it)
 

VITALIOTIS