LIVE: κίνηση στους δρόμους
Εξουσιοδοτημένοι αντιπρόσωποι - Συνεργάτες MotoΤρίτη

Honda: Νέες πατέντες για μοτό υδρογόνου

Διαβάστηκε από 2.606 αναγνώστες (10/4/2019)

Συνεχίζει να ασχολείται με μια πιθανή μοτοσυκλέτα κυψελών καυσίμου η Honda, κατοχυρώνοντας νέες πατέντες. Δείτε περισσότερα…

mototriti Team

HONDA: Πρόλαβε τώρα το SHMODE 125 σε προνομιακή τιμή!

HONDA: PCX125...Η καλύτερη πλευρά της πόλης!

Παρά το ότι οι κατασκευαστές φαίνεται να επικεντρώνονται στην ανάπτυξη ηλεκτροκίνητων μοντέλων για το άμεσο μέλλον, φαίνεται πως η Honda δεν έχει εγκαταλείψει την εργασία στις κυψέλες καυσίμου. Αυτό τουλάχιστον δείχνουν, νέες πατέντες που η εταιρεία κατοχύρωσε, για τμήματα των μηχανισμών κυψελών, μόλις εχθές 9 Απριλίου.

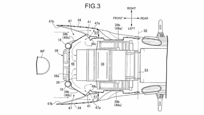
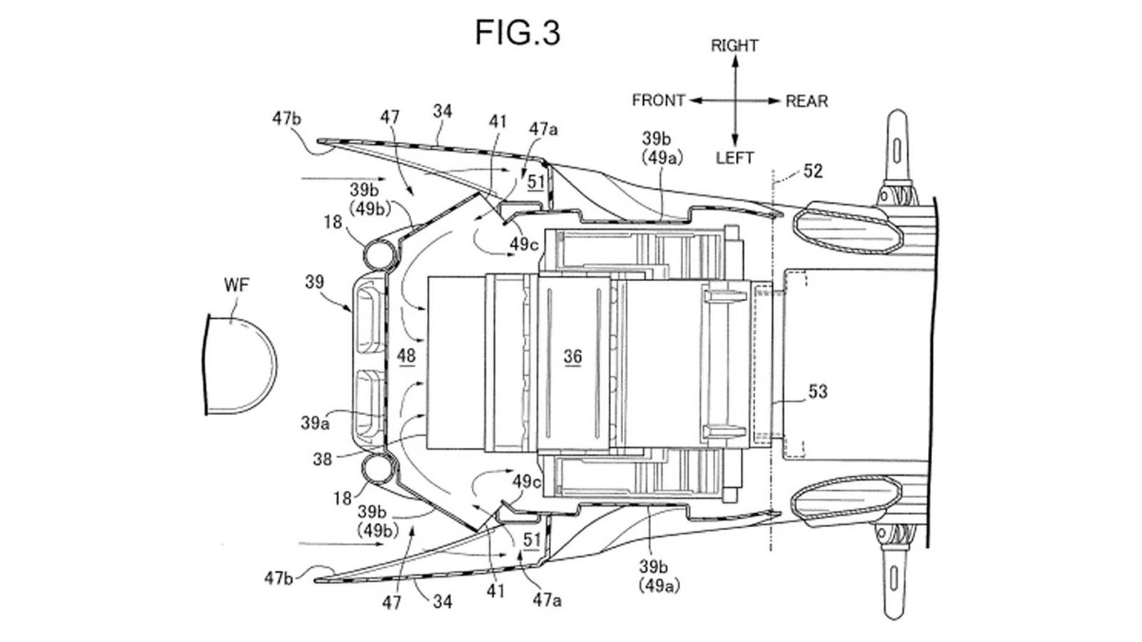
Η Honda κατοχύρωσε σύστημα «κυκλοφορίας αέρα» γύρω από τις κυψέλες, που μέσω της διατήρησης ρεύματος αέρα, θα κρατά σκόνη και παρόμοιες ακαθαρσίες μακριά από την εγκατάσταση. Φυσικά τα σχέδια είναι ιδιαίτερα πολύπλοκα, αλλά εξυπηρετούν την επιβεβαίωση ότι η εταιρεία δεν έχει σταματήσει την έρευνα και εξέλιξη της τεχνολογίας.

Τι είναι όμως οι κυψέλες καυσίμου; Πρόκειται για μια συσκευή που εξάγει ηλεκτρισμό απευθείας από το υδρογόνο, μέσα από μια διαδικασία που παράγει μόνο υδρατμούς ως «ρύπους» ή καλύτερα, προϊόντα αντίδρασης αφού φυσικά, το νερό δεν μολύνει. Μέσω μιας κυψέλης καυσίμου, μπορείς θεωρητικά να έχεις ένα ηλεκτροκίνητο όχημα, χωρίς τα προβλήματα μιας μπαταρίας, όσον αφορά βάρος και χρόνο επαναφόρτισης. Μια μπουκάλα υδρογόνου είναι σαφώς ελαφρύτερη, ενώ γεμίζει «παραδοσιακά», από αντλία, σαν σε βενζινάδικο.

Ωστόσο, τα οχήματα κυψελών καυσίμου έχουν και αυτά τα «θέματά» τους: Η εδραίωση δικτύου πρατηρίων υδρογόνου, η εξασφάλιση του αερίου αλλά και ανησυχίες για την ασφαλή αποθήκευσή του αποτελούν ακόμα τροχοπέδη γα την διάδοσή τους. Μάλιστα, με την Honda να συμμετέχει και στην συνάντηση των «Μεγάλων 4»  σχετικά με την ηλεκτροκίνηση, είναι πιθανό να κατοχυρώνει πατέντες για την προστασία τους και όχι απαραίτητα για την χρήση τους. Βέβαια, με την αναζήτηση μιας βιώσιμης λύσης ηλεκτροκίνησης να είναι ακόμα σε εξέλιξη, όση περισσότερη τεχνογνωσία υπάρχει, τόσο το καλύτερο.
 

VITALIOTIS
PAPALEXANDRAKIS