LIVE: κίνηση στους δρόμους
Εξουσιοδοτημένοι αντιπρόσωποι - Συνεργάτες MotoΤρίτη

Honda: Με 2 μπουζί τα CRF250L και 250 Rally το 2020

Διαβάστηκε από 4.661 αναγνώστες (30/7/2019)

Τα μικρά αλλά σκληροπυρηνικά adventure της Honda θα αποκτήσουν δεύτερο μπουζί και άλλες βελτιώσεις στα μηχανικά μέρη την επόμενη χρονιά. Ποια τα οφέλη;

mototriti Team

HONDA: Πρόλαβε τώρα το SHMODE 125 σε προνομιακή τιμή!

HONDA: PCX125...Η καλύτερη πλευρά της πόλης!

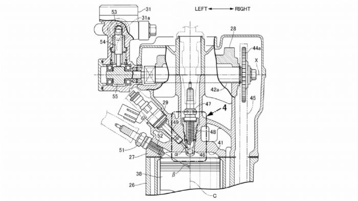
Μπορεί εμφανισιακά να μη διακρίνονται αλλαγές όμως τα CRF250L και CRF250 Rally θα έχουν αλλαγές στα μηχανικά μέρη όπως δείχνουν σχέδια που κατατέθηκαν για κατοχύρωση πατέντας. Ποιο συγκεκριμένα, ο κινητήρας των 250 κυβικών θα αποκτήσει το 2020 δεύτερο μπουζί, νέα μηχανική αντλία καυσίμου και άμεσο ψεκασμό.

Τα δυο μπουζί βοηθούν στο να γίνεται πιο αποδοτική η καύση του μείγματος αέρα/καυσίμου, ενώ η μηχανική αντλία αναμένεται να μειώσει την ανάγκη συντήρησής της στις δυο μοτοσυκλέτες. Ο ψεκασμός θα βελτιώσει ακόμα περισσότερο την κατανάλωση καυσίμου και τα χαρακτηριστικά λειτουργίας του κινητήρα. Η συγκεκριμένη κατηγορία έχει γνωρίσει μεγάλη επιτυχία στις αγορές της Ασίας και αναπτύσσεται σε όλο τον κόσμο σιγά σιγά, οπότε είναι λογικό μεγάλοι κατασκευαστές όπως η Honda να επενδύουν σε αυτές τις μοτοσυκλέτες.

VITALIOTIS
PAPALEXANDRAKIS