LIVE: κίνηση στους δρόμους
Εξουσιοδοτημένοι αντιπρόσωποι - Συνεργάτες MotoΤρίτη

Το σχέδιο πατέντας της BMW: Προσέξτε τα επιμέρους τμήματά του.

BMW: Εξετάζει ασύρματη φόρτιση για ηλεκτρικά δίκυκλα

Διαβάστηκε από 2.273 αναγνώστες (30/12/2019)

Είναι αυτό το επόμενο βήμα στην ηλεκτροκίνηση; Δείτε τι εξετάζει η BMW, κατοχυρώνοντας πατέντες για τις επόμενες τεχνολογίες της.

mototriti Team

Η φόρτιση ενός ηλεκτρικού scooter είναι μια σχετικά απλή υπόθεση: To συνδέεις στον ειδικό φορτιστή ή κατά περίπτωση… απευθείας στην πρίζα και καθάρισες. Ή μήπως… όχι; Η BMW φαίνεται πως εξερευνά νέες μεθόδους φόρτισης των ηλεκτρικών δικύκλων της, χρησιμοποιώντας τεχνολογία ασύρματης επαναφόρτισης.

Η τεχνολογία ή ίδια, δεν είναι κάτι άγνωστο, καθώς χρησιμοποιείται ευρέως στα κινητά τηλέφωνα εδώ και χρόνια. Για τα δίκυκλα όμως, θα είναι κάτι εντελώς καινούργιο. Η BMW έχει δοκιμάσει την τεχνολογία και στα αυτοκίνητά της, φαίνεται όμως ότι κατοχυρώνει πατέντες για δίτροχη εφαρμογή που θα μπορεί να λειτουργήσει ακόμη καλύτερα.

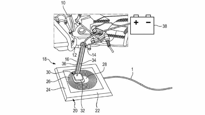
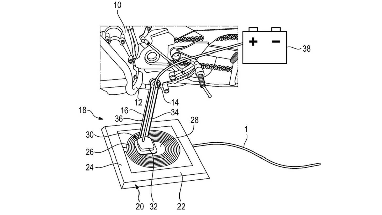
Δείτε στο σχεδιάγραμμα, που προέρχεται από την πατέντα της BMW, τον τρόπο που προτείνει η εταιρεία: Την χρήση του σταντ του δικύκλου, για την επαναφόρτιση του οχήματος. Ο αναβάτης θα παρκάρει το δίκυκλο του τοποθετώντας το σταντ πάνω σε μια ειδική βάση, η οποία θα είναι και ο «πομπός» της ηλεκτρικής ενέργειας προς την μοτοσυκλέτα. Ο αντίστοιχος «δέκτης» θα βρίσκεται στο σταντ, το οποίο κατόπιν θα μεταφέρει με καλωδίωση, το ρεύμα στην μπαταρία.

Θα μας ρωτήσετε εύλογα, γιατί και πως επιλέχθηκε αυτή η λύση. Η απάντηση είναι σχετικά απλή: Με την υπάρχουσα τεχνολογία, η ασύρματη φόρτιση λειτουργεί καλύτερα όταν οι επιφάνειες επαγωγής της ηλεκτρικής ενέργειας έχουν μικρή απόσταση μεταξύ τους ή ιδανικά, είναι σε επαφή. Καθώς τα δίτροχα έχουν πάντα ένα σημείο επαφής με το έδαφος που είναι παράλληλα και αγώγιμο στον ηλεκτρισμό (το σταντ, σε αντίθεση με τα ελαστικά), είναι εύκολη η χρήση μιας βάσης φόρτισης από τον αναβάτη. Επίσης, η τοποθέτηση της εν λόγω βάσης μπορεί να γίνει πρακτικά οπουδήποτε, διευκολύνοντας την χρήση της. Αντίθετα, στα αυτοκίνητα, χρειάζεται σίγουρα τοποθέτηση ενός διαφορετικού και μεγαλύτερου συστήματος, σε συγκεκριμένη θέση στάθμευσης, ενώ και η απόδοση του συστήματος δεν είναι η καλύτερη.

Η BMW φαίνεται ότι έχει πάρει στα σοβαρά την ανάπτυξη ηλεκτροκίνητων λύσεων και περισσότερα νέα, είναι θέμα χρόνου. Μείνετε συντονισμένοι…
 

VITALIOTIS
PAPALEXANDRAKIS