
BMW: Μελετά ιδέες «παθητικής ασφάλειας»
Δευτέρα, 17 Φεβρουαρίου 2020
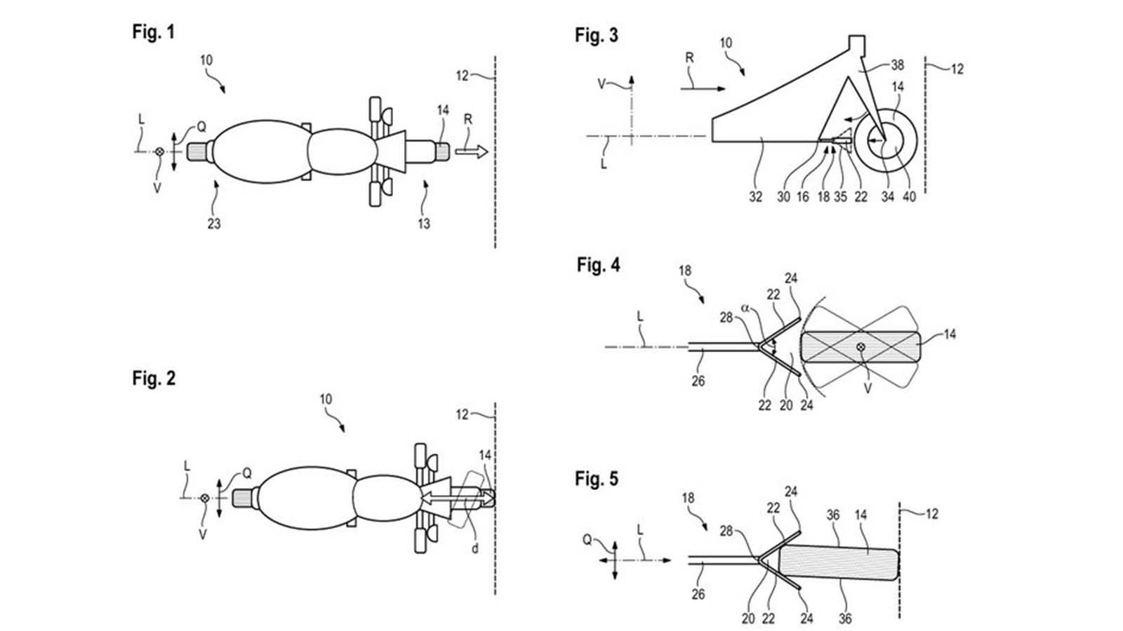
Μια απλή αλλά πολλά υποσχόμενη ιδέα, κατοχυρώνει η BMW για μελλοντικές μοτοσυκλέτες με «ζώνες παραμόρφωσης» σε περίπτωση σύγκρουσης. Δείτε περισσότερα...

Μια απλή αλλά πολλά υποσχόμενη ιδέα, κατοχυρώνει η BMW για μελλοντικές μοτοσυκλέτες με «ζώνες παραμόρφωσης» σε περίπτωση σύγκρουσης. Δείτε περισσότερα...

Κατάσκοποι ήδη τροφοδότησαν την παγκόσμια σκηνή, με φωτογραφίες ενός νέου μοντέλου που φαίνεται ότι είναι το Triumph Tiger 1200! Δείτε περισσότερα. ...

Σχέδια μιας ριζοσπαστικής, για τα δεδομένα της Kawasaki, μοτοσυκλέτας, έκαναν την εμφάνιση τους στα διεθνή μέσα. Τι ετοιμάζει το Akashi; ...

Περισσότερες ενδείξεις και στοιχεία φανερώνουν ότι μια νέα έκδοση του Yamaha Tenere 700 βρίσκεται στα σκαριά από την εταιρεία. Τι μας ετοιμάζει η Yama...

H νέα sport μοτοσυκλέτα της Aprilia θα γίνει διαθέσιμη και σε έκδοση με περιορισμένη ισχύ για κατόχους διπλώματος A2, όπως ανακοίνωσε η εταιρεία! Δείτ...

Με τον όγκο και τον ήχο της δεν πέρναγε έτσι κι αλλιώς απαρατήρητη, πόσο μάλλον τώρα με τέτοιο βάψιμο. ...

H Triumph, πιστή στο ραντεβού της, παρουσίασε επίσημα το νέο Street Triple R του 2020. Διαβάστε όλες τις λεπτομέρειες....

Μια νέα περιορισμένης έκδοσης Road Glide παρουσίασε η Harley-Davidson κάνοντας ακόμα πιο premium τη μοναδική αυτή μοτοσυκλέτα....

Αν ψάχνεις μοτοσυκλέτα με ισχυρό ηχοσύστημα, η ειδική αυτή έκδοση της Roadmaster είναι για εσένα.
...

Το down sizing χτύπησε και την Aprilia, η οποία ετοιμάζει scooter για την αγορά της Ινδίας. Θα το δούμε στην Ευρώπη; Διαβάστε περισσότερα....

To KTM 790 Adventure θα σε ακολουθήσει παντού σε άσφαλτο και χώμα, αποδεικνύοντάς σου καθημερινά πως είναι ένας πιστός σύντροφος με δύο τροχούς....

Μικρές αλλαγές πραγματοποίησε η KYMCO στο AK550 της για το 2020, όπως χαρακτηριστικά αναφέρουν πηγές από το εξωτερικό. Δείτε περισσότερα. ...

Η μεγαλύτερη σε κυβισμό μοτοσυκλέτα παραγωγής του κόσμου εμφανίστηκε ενώπιον πολλών βλεμμάτων στα κεντρικά της Triumph στην Αθήνα, σε μια ειδική βραδι...

Την διακοπή της διάθεσης του Burgman στην Ευρώπη φαίνεται πως αποφάσισε η Suzuki, η οποία κάνει λόγο για νέα μοντέλα που θα το αντικαταστήσουν. Δείτε ...

Η παρουσίαση της Ducati Superleggera V4 είναι γεγονός – Δείτε όλα όσα θέλετε να ξέρετε.
...

H νέα υπερπολυτελής μοτοσυκλέτα της Indian, Roadmaster Elite, έρχεται με νέα χρώματα, μεγαλύτερο κινητήρα και αρκετές ακόμα αλλαγές, ενώ θα είναι αυσ...

Οι «διαρροές» για την νέα, υπερ-μοτοσυκλέτα της Ducati συνεχίζονται και πλέον είναι ελάχιστα όσα δεν έχουμε δει! Πάρτε την τελευταία σας γεύση, πριν τ...

Με μια υπέροχη, επετειακή έκδοση περιορισμένης παραγωγής του Fat Boy γιορτάζει τα 30 χρόνια του μοντέλου η Harley-Davidson. Δείτε περισσότερα… ...

Μια ακόμα ειδική έκδοση μοτοσυκλέτας από την MV Agusta,για την Brutale 800RR, εμπνευσμένη από μια ιστοσελίδα διάθεσης ειδών πολυτελείας. Δείτε περισσό...

Πληροφορίες από την Μεγάλη Βρετανία μιλούν για μια «ενδιάμεση έκδοση» του Triumph Street Triple που θα τοποθετηθεί ανάμεσα στις S και RS. Δείτε περισσ...
mototriti.gr | Ταυτότητα
Επωνυμία Επιχείρησης: AUTO ΤΡΙΤΗ ΑΕ
Έδρα - Γραφεία: Λεωφόρος Αμαρουσίου 14 - Νέο Ηράκλειο, Τ.Κ. 141 22
Νομική Μορφή: ΕΚΔΟΤΙΚΗ ΕΤΑΙΡΕΙΑ
Α.Φ.Μ.: 998384177
Δ.Ο.Υ.: ΚΕΦΟΔΕ
Στοιχεία Επικοινωνίας:
E-mail: info@mototriti.gr
Τηλέφωνο: 211 1085500
Ιστοσελίδα: www.mototriti.gr
Διοικητικά Στελέχη
Ιδιοκτήτες & Κύριοι Μέτοχοι: Δανάη Τριανταφύλλη – Δάφνη Τριανταφύλλη
Νόμιμος εκπρόσωπος - Διευθυντής: Νίκος Καρανάσιος
Διευθυντής σύνταξης: Παναγιώτης Σιώπης
Διαχειριστής ονόματος τομέα: ΑUTO ΤΡΙΤΗ Α.Ε.