Honda V4 2026: Νέα πατέντα δείχνει τον επόμενο μεγάλο κινητήρα – όλα δείχνουν νέο VFR

Η Honda και ο κινητήρας V4 είναι δύο ιστορίες δεμένες μεταξύ τους για σχεδόν 40 χρόνια. Από το 1982 έως το 2020, τα μοντέλα VF και VFR έφεραν τον χαρακτηριστικό τετρακύλινδρο σε διάταξη V, που έδωσε στη μάρκα μοναδικό ήχο, απόδοση και χαρακτήρα.
Ο θρύλος του V4 επιστρέφει: Η Honda δείχνει έτοιμη για μεγάλη επιστροφή.
Νέο κύκλωμα λαδιού, ψύξης και πολύ πιο compact κινητήρας.
Big Bang ή Screamer; Τι δείχνουν τα σχέδια για γωνία κυλίνδρων και ήχο.
Τέλος το cardan – μόνο αλυσίδα και πιθανή εμφάνιση το 2027.
Ο θρύλος του V4 επιστρέφει: Η Honda δείχνει έτοιμη για μεγάλη επιστροφή
Η Honda και ο κινητήρας V4 είναι δύο ιστορίες δεμένες μεταξύ τους για σχεδόν 40 χρόνια. Από το 1982 έως το 2020, τα μοντέλα VF και VFR έφεραν τον χαρακτηριστικό τετρακύλινδρο σε διάταξη V, που έδωσε στη μάρκα μοναδικό ήχο, απόδοση και χαρακτήρα. Κι όμως, εδώ και πέντε χρόνια ο V4 έχει εξαφανιστεί από την παραγωγή, με τους φίλους της Honda να αναρωτιούνται αν θα υπάρξει συνέχεια.

Οι απαντήσεις φαίνεται πως έρχονται τώρα, καθώς η Honda κατέθεσε δύο νέα διπλώματα ευρεσιτεχνίας που περιγράφουν έναν ολοκαίνουργιο V4 κινητήρα. Για πρώτη φορά οι λεπτομέρειες είναι τόσο συγκεκριμένες, ώστε να μοιάζει ξεκάθαρο ότι η εταιρεία δεν βρίσκεται πια σε θεωρητικό στάδιο, αλλά έχει προχωρήσει βαθιά στην ανάπτυξη ενός νέου μεγάλου κινητήρα. Για πολλούς, είναι η πιο ισχυρή ένδειξη μέχρι σήμερα ότι ένα νέο VFR 1200 –ή κάποιο νέο μεγάλο sport-tourer– μπορεί να βρίσκεται προ των πυλών.
Νέο κύκλωμα λαδιού, ψύξης και πολύ πιο compact κινητήρας
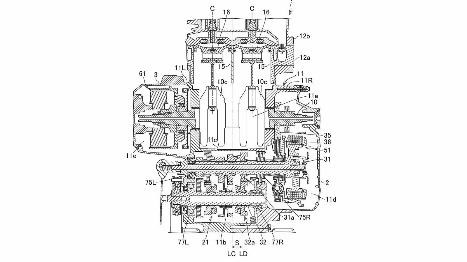
Το πρώτο δίπλωμα ευρεσιτεχνίας περιγράφει ένα ολοκαίνουργιο κύκλωμα λαδιού, σχεδιασμένο για να μειώνει τις εσωτερικές τριβές στις αντλίες λαδιού. Η Honda φαίνεται να υιοθετεί μικρότερες διαδρομές λίπανσης μέσα στο κάρτερ, με ενσωματωμένους βοηθητικούς θαλάμους που φροντίζουν το δυναμό, την αντλία νερού, τον starter clutch και τον συμπλέκτη.

Το δεύτερο δίπλωμα αφορά ένα νέο σύστημα ψύξης, όπου το V «γεμίζει» με σωληνώσεις ανάμεσα στις κυλινδροκεφαλές, ώστε η πίσω κυλινδροκεφαλή –που ζορίζεται πάντα περισσότερο– να ψύχεται πιο αποτελεσματικά. Εκεί όμως που πραγματικά εντυπωσιάζει το σχέδιο είναι στο μέγεθος. Ο κινητήρας και το κιβώτιο φαίνονται αισθητά μικρότερα από τον V4 των VFR 1200, που ήταν ιδιαίτερα ογκώδης. Η Honda δηλώνει ότι θέλει να μειώσει την πολυπλοκότητα παραγωγής, κάτι που εξηγεί τη μετάβαση σε ένα πιο συμπαγές μοτέρ. Όλα αυτά μαζί συνθέτουν την εικόνα ενός εντελώς νέου V4, σχεδιασμένου με σύγχρονη φιλοσοφία και στόχο μικρότερο βάρος.
Big Bang ή Screamer; Τι δείχνουν τα σχέδια για γωνία κυλίνδρων και ήχο

Ο παλιός 1200άρης V4 της Honda ξεχώριζε για το big-bang firing order (104-256-104-256), χάρη στη γωνία 76 μοιρών και τις μπιέλες με διαφορά 28 μοιρών. Αυτός ο σχεδιασμός έδινε έναν ιδιαίτερο, «βαρύ» παλμό χωρίς την ανάγκη αντικραδασμικού άξονα. Αντίθετα, οι 750 και 800 κυβικών χρησιμοποιούσαν κλασική διάταξη 90 μοιρών με regular firing order, πιο «γραμμική» αλλά με περισσότερους κραδασμούς. Τα νέα σχέδια, όμως, δείχνουν κάτι ενδιαφέρον: υπάρχει αντικραδασμικός άξονας, οι κύλινδροι τοποθετούνται χωρίς offset και η γωνία φαίνεται πιο κοντά στις 90 μοίρες. Αυτό σημαίνει ότι ο νέος V4 θα έχει πιθανότατα ομοιόμορφο ρυθμό καύσης, άρα έναν ήχο διαφορετικό από το big-bang VFR 1200 και ακόμη πιο ξένο σε σχέση με τα Aprilia V4 των 65° ή τα Ducati V4 των 90°. Η Honda φαίνεται πως επιλέγει μια νέα ταυτότητα για τον ήχο και τη λειτουργία του V4, πιο σύγχρονη και πιο πολιτισμένη.
Τέλος το cardan – μόνο αλυσίδα και πιθανή εμφάνιση το 2027

Ίσως το πιο εντυπωσιακό στοιχείο των πατεντών είναι η απουσία cardan (κεντρικού άξονα). Το δίπλωμα ευρεσιτεχνίας αναφέρει ξεκάθαρα αλυσίδα για τη μετάδοση στον πίσω τροχό, χωρίς να αφήνει ερμηνευτικά παράθυρα. Αυτό είναι μεγάλη αλλαγή, καθώς το VFR για δεκαετίες συνδέθηκε με cardan, άνεση τουρισμού και χαμηλή συντήρηση. Η επιλογή αλυσίδας δείχνει δύο πράγματα: η Honda θέλει χαμηλότερο βάρος και ίσως μια πιο σπορ κατεύθυνση για τον διάδοχο. Ίσως μιλάμε για ένα ημι-sport-tourer, πιο κοντά στη φιλοσοφία της Ducati Multistrada V4S ή της Aprilia Tuono Tourer, παρά για ένα κλασικό grand tourer όπως τα προηγούμενα VFR. Το γεγονός ότι το κάρτερ και το κιβώτιο έχουν μικρύνει σημαντικά ενισχύει αυτή την υπόθεση: ο νέος V4 δείχνει φτιαγμένος για να ζει μέσα σε ένα πλαίσιο με σαφώς πιο compact διαστάσεις. Η Honda κατέθεσε τις πατέντες τον Μάιο του 2024, και αυτές αποκαλύφθηκαν δημόσια στα τέλη του 2025. Συνήθως, από το στάδιο αυτό έως την εμφάνιση ενός πραγματικού μοντέλου χρειάζονται τουλάχιστον δύο χρόνια. Αυτό σημαίνει ότι ο νέος V4 δύσκολα θα εμφανιστεί πριν το 2027–2028. Το μεγάλο ερώτημα είναι τι είδους μοτοσυκλέτα θα τον φορέσει πρώτη. Οι φήμες συγκλίνουν σε ένα νέο VFR 1200 ή έναν διάδοχο στη sport-touring κατηγορία, όμως δεν αποκλείεται η Honda να σχεδιάζει μια εντελώς νέα πλατφόρμα, ίσως ακόμη και ένα premium sport μοντέλο πάνω από το CBR1000RR-R, με έμφαση στην τεχνολογία και την ποιοτική λειτουργία. Το μόνο βέβαιο είναι πως η Honda δεν σχεδιάζει έναν απλό διάδοχο, αλλά έναν νέο V4 από καθαρή λευκή σελίδα, με τεχνολογίες που δείχνουν μεγάλο άλμα σε βάρος, μέγεθος και απόδοση.

.jpg)

