Honda V4 2026: Νέα πατέντα δείχνει τον επόμενο μεγάλο κινητήρα – όλα δείχνουν νέο VFR

Η Honda και ο κινητήρας V4 είναι δύο ιστορίες δεμένες μεταξύ τους για σχεδόν 40 χρόνια. Από το 1982 έως το 2020, τα μοντέλα VF και VFR έφεραν τον χαρα

Η Honda και ο κινητήρας V4 είναι δύο ιστορίες δεμένες μεταξύ τους για σχεδόν 40 χρόνια. Από το 1982 έως το 2020, τα μοντέλα VF και VFR έφεραν τον χαρακτηριστικό τετρακύλινδρο σε διάταξη V, που έδωσε στη μάρκα μοναδικό ήχο, απόδοση και χαρακτήρα.

Κι όμως, εδώ και πέντε χρόνια ο V4 έχει εξαφανιστεί από την παραγωγή, με τους φίλους της Honda να αναρωτιούνται αν θα υπάρξει συνέχεια. Οι απαντήσεις

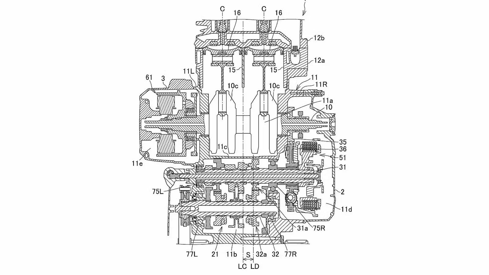
Κι όμως, εδώ και πέντε χρόνια ο V4 έχει εξαφανιστεί από την παραγωγή, με τους φίλους της Honda να αναρωτιούνται αν θα υπάρξει συνέχεια. Οι απαντήσεις φαίνεται πως έρχονται τώρα, καθώς η Honda κατέθεσε δύο νέα διπλώματα ευρεσιτεχνίας που περιγράφουν έναν ολοκαίνουργιο V4 κινητήρα.

Το πρώτο δίπλωμα ευρεσιτεχνίας περιγράφει ένα ολοκαίνουργιο κύκλωμα λαδιού, σχεδιασμένο για να μειώνει τις εσωτερικές τριβές στις αντλίες λαδιού.

Το πρώτο δίπλωμα ευρεσιτεχνίας περιγράφει ένα ολοκαίνουργιο κύκλωμα λαδιού, σχεδιασμένο για να μειώνει τις εσωτερικές τριβές στις αντλίες λαδιού.