H BMW δοκιμάζει περιστρεφόμενα winglets με βάση το φαινόμενο Magnus

H BMW δοκιμάζει περιστρεφόμενα winglets με βάση το φαινόμενο Magnus
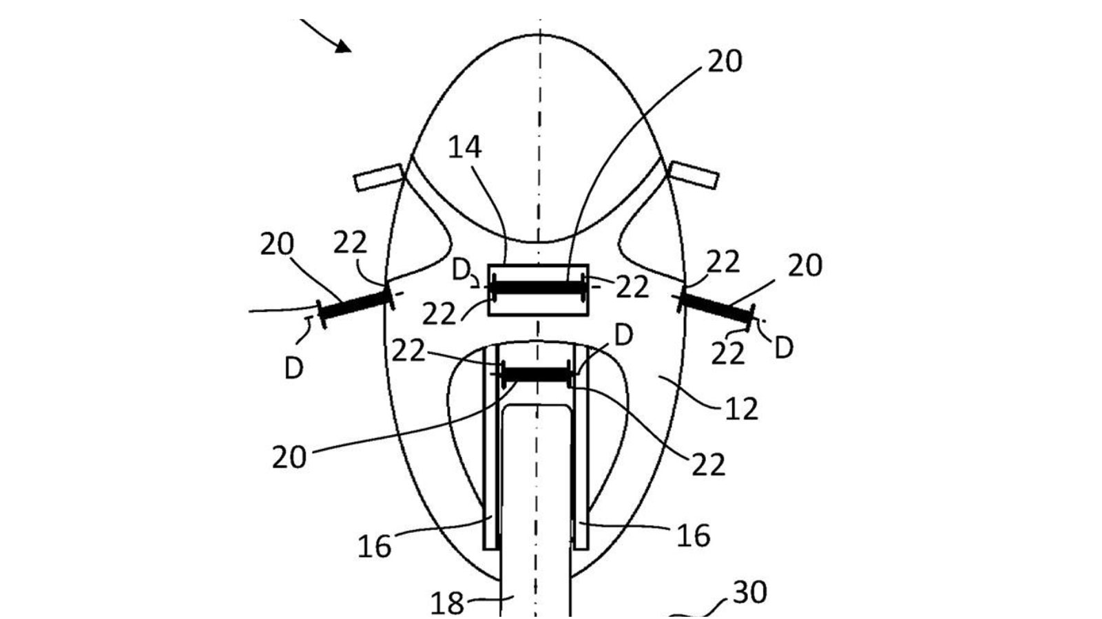
Η πατέντα της BMW με ρότορες τύπου Flettner.
Μεταβλητό downforce ανεξάρτητα από ταχύτητα και κλίση.
Έλεγχος συμπεριφοράς μέσα στη στροφή μέσω αεροδυναμικής.
Τεχνολογία εξέλιξης ή προάγγελος νέας γενιάς superbike;
Η πατέντα της BMW με ρότορες τύπου Flettner

Η BMW καταθέτει πατέντα που αντικαθιστά τα σταθερά winglets με περιστρεφόμενους κυλίνδρους τύπου Flettner, αξιοποιώντας το φαινόμενο Magnus για τη δημιουργία κάθετης δύναμης. Οι ρότορες αυτοί τοποθετούνται στα σημεία όπου σήμερα βρίσκονται τα αεροδυναμικά βοηθήματα, με στόχο την παραγωγή ελεγχόμενου downforce χωρίς την ανάγκη σταθερών πτερυγίων. Πρόκειται για μια προσέγγιση που αλλάζει τον τρόπο με τον οποίο «διαβάζεται» ο αέρας γύρω από τη μοτοσυκλέτα.
Μεταβλητό downforce ανεξάρτητα από ταχύτητα και κλίση

Σε αντίθεση με τα συμβατικά winglets, οι περιστρεφόμενοι ρότορες δεν εξαρτώνται από την κλίση ή τη στάση της μοτοσυκλέτας. Η ταχύτητα περιστροφής τους μπορεί να ρυθμίζεται ανεξάρτητα από την ταχύτητα κίνησης, προσφέροντας αυξημένη πρόσφυση σε χαμηλές ταχύτητες και μηδενισμό της αεροδυναμικής αντίστασης στις ευθείες. Ακόμη και σε συνθήκες έντονης επιτάχυνσης ή σούζας, το σύστημα συνεχίζει να λειτουργεί προβλέψιμα.
Έλεγχος συμπεριφοράς μέσα στη στροφή μέσω αεροδυναμικής
Η πατέντα περιγράφει δυνατότητα αντίθετης περιστροφής των πλευρικών ρότορων κατά την είσοδο σε στροφή. Με τον εξωτερικό ρότορα να δημιουργεί μεγαλύτερη κάθετη δύναμη και τον εσωτερικό να λειτουργεί αντίστροφα, η μοτοσυκλέτα μπορεί να επηρεάζεται αεροδυναμικά προς το εσωτερικό της τροχιάς. Πρόκειται για μια μορφή ενεργής αεροδυναμικής που παρεμβαίνει άμεσα στη συμπεριφορά, χωρίς μηχανικές μεταβολές στο πλαίσιο ή στις αναρτήσεις.
Τεχνολογία εξέλιξης ή προάγγελος νέας γενιάς superbike;
Παρότι η BMW δεν έχει ανακοινώσει εφαρμογή σε μοντέλο παραγωγής, το επίπεδο λεπτομέρειας της πατέντας δείχνει σοβαρή ερευνητική κατεύθυνση. Σε μια εποχή αυστηρών κανονισμών για τα αεροδυναμικά βοηθήματα, λύσεις όπως οι ρότορες Flettner ενδέχεται να αποτελέσουν εναλλακτικό δρόμο εξέλιξης. Το σίγουρο είναι ότι η BMW συνεχίζει να επενδύει στην αεροδυναμική ως βασικό εργαλείο ελέγχου και όχι απλώς ως στοιχείο εντυπωσιασμού.



