H BMW δοκιμάζει περιστρεφόμενα winglets με βάση το φαινόμενο Magnus

H BMW δοκιμάζει περιστρεφόμενα winglets με βάση το φαινόμενο Magnus

H BMW δοκιμάζει περιστρεφόμενα winglets με βάση το φαινόμενο Magnus

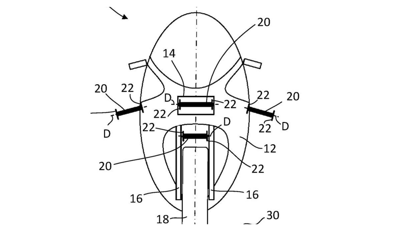
Η BMW καταθέτει πατέντα που αντικαθιστά τα σταθερά winglets με περιστρεφόμενους κυλίνδρους τύπου Flettner, αξιοποιώντας το φαινόμενο Magnus για τη δημ

Η BMW καταθέτει πατέντα που αντικαθιστά τα σταθερά winglets με περιστρεφόμενους κυλίνδρους τύπου Flettner, αξιοποιώντας το φαινόμενο Magnus για τη δημιουργία κάθετης δύναμης.