LIVE: κίνηση στους δρόμους
Εξουσιοδοτημένοι αντιπρόσωποι - Συνεργάτες MotoΤρίτη

Ο υπερ-τροφοδοτούμενος κινητήρας της Honda!

Ο υπερ-τροφοδοτούμενος κινητήρας της Honda!

Ο υπερ-τροφοδοτούμενος κινητήρας της Honda!

Ο υπερ-τροφοδοτούμενος κινητήρας της Honda!

Υπερ-τροφοδοτούμενος κινητήρας

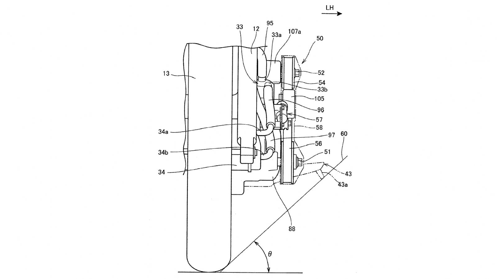
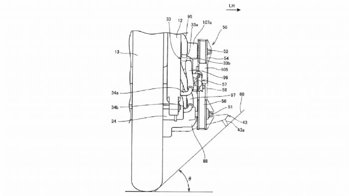
Το φώς της δημοσιότητας βρήκαν κάποια σχέδια που αφορούν υπέρ-τροφοδοτούμενο κινητήρα από την Honda ο οποίος πιθανόν θα χρησιμοποιείται από μελλοντικά μοντέλα.

 
Από τα παλαιά χρόνια ο ανταγωνισμός οδηγεί σε νέες ανακαλύψεις και ιδέες που οδηγούν την τεχνολογία να κάνει άλματα πρωτοπορίας. Αυτά τα άλματα τα συναντάμε αρκετά μέσα στην καθημερινότητα μας σε διαφορές συσκευές αλλά και στις μοτοσυκλέτες.

Έχουμε ξαναδεί στα προηγούμενα χρόνια προσπάθειες παραγωγής ενός υπέρ-τροφοδοτούμενου κινητήρα που δυστυχώς χτύπησαν τοίχο. Σήμερα όμως εταιρίες όπως η Kawasaki κατάφεραν να κατασκευάσουν τέτοιους κινητήρες με το θεμιτό αποτέλεσμα.

Τώρα όμως είναι σειρά της Honda να κάνει βήματα προς εκείνη την κατεύθυνση και μπορούμε να το καταλάβουμε από σχεδιαγράμματα που δημοσιεύτηκαν.

Στα σχεδιαγράμματα φαίνεται πως το κιτ του υπέρ-τροφοδοτούμενου κινητήρα βρίσκεται στην αριστερή πλευρά. Φυσικά, σκοπός της Honda με αυτόν τον κινητήρα είναι να δώσει στις μοτοσυκλέτες μία νέα δύναμη που θα τις κάνει ασυναγώνιστες στην αγορά.

Είναι πολύ πιθανόν ότι αυτόν το κινητήρα δεν θα τον δούμε σε υπάρχοντα μοντέλα της εταιρίας λόγω της μορφοποίησης του. Θα περιμένουμε όμως να δούμε τι μας επιφυλάσσει η Honda για το μέλλον. 
 

 

HONDA - ΤΕΛΕΥΤΑΙΑ ΝΕΑ

ΥΠΗΡΕΣΙΕΣ: ΝΕΕΣ ΤΙΜΕΣ - ΠΡΟΣΦΟΡΕΣ