Υβριδικές Versys και Eiminator προ των πυλών από την Kawasaki
- Ίδιοι κινητήρες με τα Ninja και Z Hybrid.
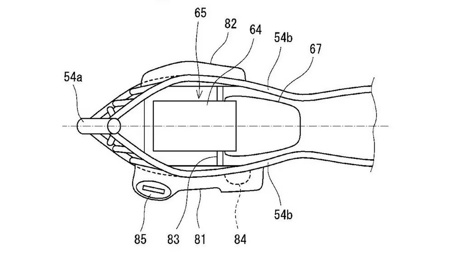
- Η μπαταρία θα τοποθετείται εκέι που κανονικά βρίσκεται το ντεπόζιτο.
- To ρεζερβουάρ θα διαιρείται και θα "καλύπτει" τη μπαταρία από τα πλάγια.
Μπορεί οι πρώτες υβριδικές μοτοσυκλέτες της Kawasaki (Ninja 7 Hybrid και Ζ7 Hybrid), να βρίσκονται ακόμα στα αρχικά στάδια της ζωής τους, όμως οι "Πράσινοι" ήδη δουλεύουν στα επόμενα βήματα αυτής της πορείας, όπου όλα δείχνουν ότι θα είναι ένα υβριδικό Versys και ένα υβριδικό Eliminator.
Αυτό δείχνουν τουλάχιστον οι νέες αιτήσεις για δίπλωμα ευρεσιτεχνίας που αποκαλύφθηκαν και οι οποίες ασχολούνται με τα "λογιστικά προβλήματα" του να χωρέσουν και οι δύο κινητήρες, το ντεπόζιτο και η μπαταρία μέσα στα "στενά" όρια ενός πλαισίου μοτοσυκλέτας.
Στις Ninja και Z, η λύση που είχε προτιμηθεί ήταν να "στριμώξουν' τη μπαταρία και τα εξαρτήματά της κάτω από τη σέλα, κάτι το οποίο λειτούργησε αλλά ανάγκασε την εταιρεία να μεγαλώσει αρκετά το μεταξόνιο, δίνοντας μια κάπως ασυνήθιστη εμφάνιση στο μοντέλο - αλλάζοντας ταυτόχρονα και την οδηγική του συμπεριφορά.
Στις πατέντες για τα Versys και Eliminator φαίνεται ότι προτιμήθηκε μια άλλη λύση. Αυτή τη φορά, αντί να επιμηκυνθεί η μοτοσυκλέτα, αποκτά μεγαλύτερο πλάτος. Η μπαταρία μπαίνει ακριβώς πάνω από τον κινητήρα, εκεί που παραδοσιακά βρίσκεται το ντεπόζιτο.
Και πού πάει το ντεπόζιτο; Στην περίπτωση του Eliminator, θα υπάρχουν δύο πλαστικά ντεπόζιτα δεξιά και αριστερά από τη μπαταρία και λίγο πιο χαμηλά, βιδωμένα έξω από το πλαίσιο! Για το Versys, φαίνεται ότι η Kawasaki ετοιμάζει ένα ντεπόζιτο, το οποίο - όπως έχουμε δει σε κάποιες Adventure μοτοσυκλέτες - θα είναι μεν ενιαίο, όμως θα "καλύπτει" τη μπαταρία από πάνω, με τα μεγαλύτερα μέρη του να βρίσκονται δεξιά και αριστερά της, λίγο πιο κάτω. Αυτο θα προσπαθήσει (όπως και στο Eliminator) να διατηρήσει το κέντρο βάρους λίγο πιο χαμηλά και να "αντισταθμίσει" ουσιαστικά το "ψήλωμα" του κέντρου βάρους από την ψηλά τοποθετημένη μπαταρία.
Με τόσο εξέλιξη (και χρήμα) που έπεσε για την ανάπτυξη των πρώτων υβριδικών της μοτοσυκλετών, είναι λογικό η Kawasaki να θέλει να αξιοποιήσει αυτά τα προχωρήματα σε όσα περισσότερα μοντέλα μπορεί. Ο κινητήρας πάντως (τόσο ο θερμικός όσο και ο ηλεκτροκινητήρας) θα είναι οι ίδιοι που χρησιμοποιούνται αυτή τη στιγμή στο Ninja Hybrid και Z7 Hybrid.





.jpg)
