Πατέντα της BMW για ρυθμιζόμενα μαρσπιέ εμφανίστηκε
Δεν χρειάζονται εργαλεία για τη ρύθμισή τους
Μεγάλη ευελιξία σχετικά με τον άξονα ή την καμπύλη ρύθμισης
Αναπτύσσονται πιθανότατα για ηλεκτρικές μοτοσυκλέτες
Θα τοποθετηθούν στα μοντέλα DC που ετοιμάζει;
Δεν χρειάζονται εργαλεία για τη ρύθμισή τους
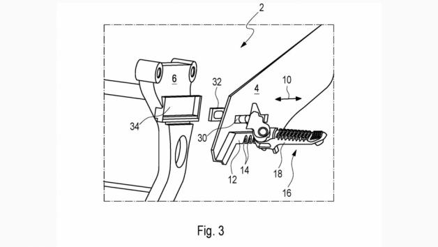
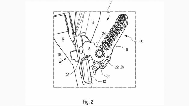
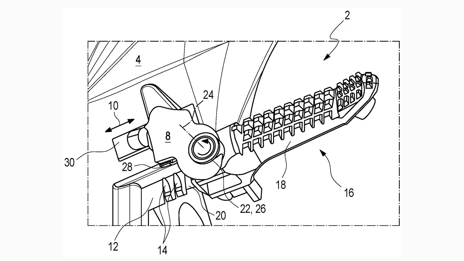
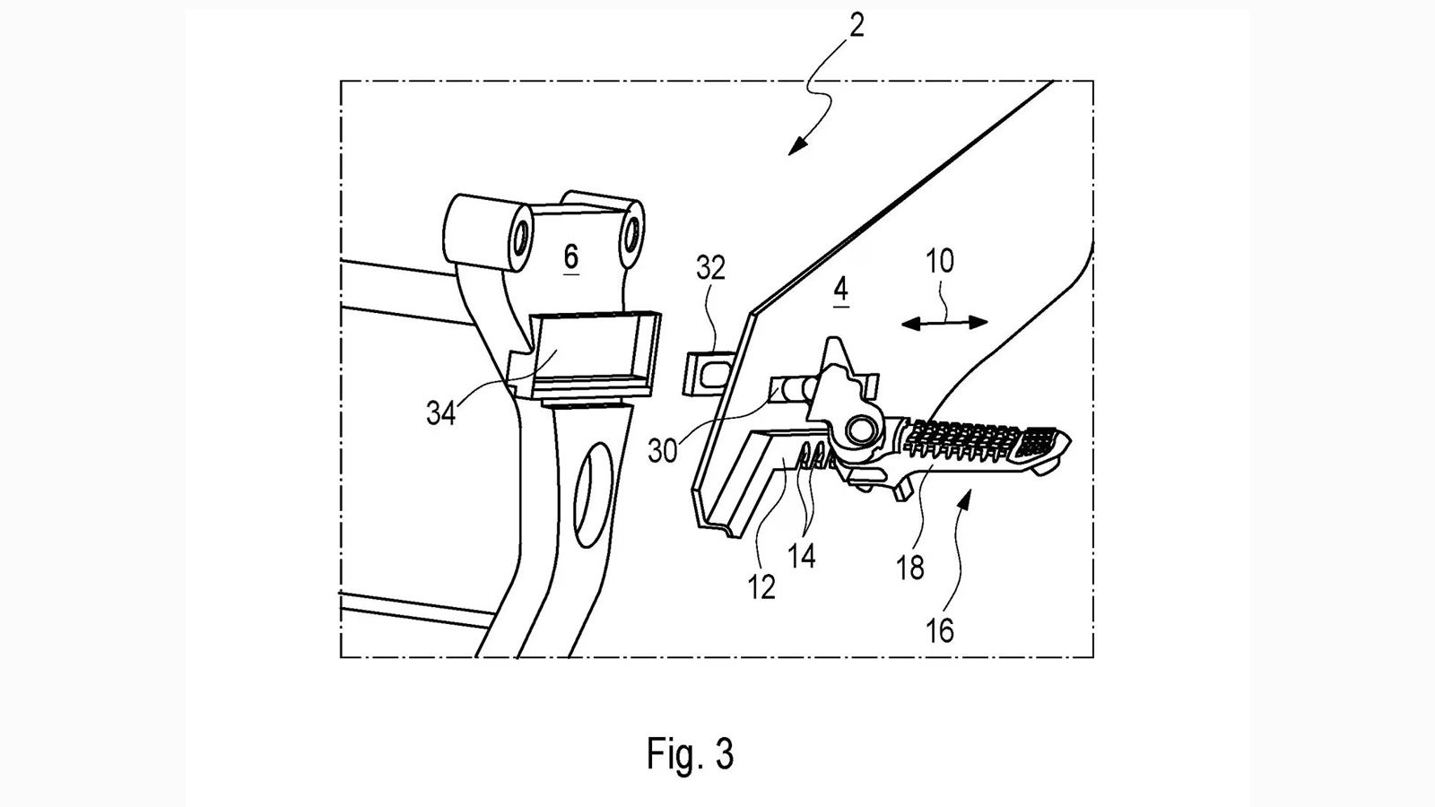
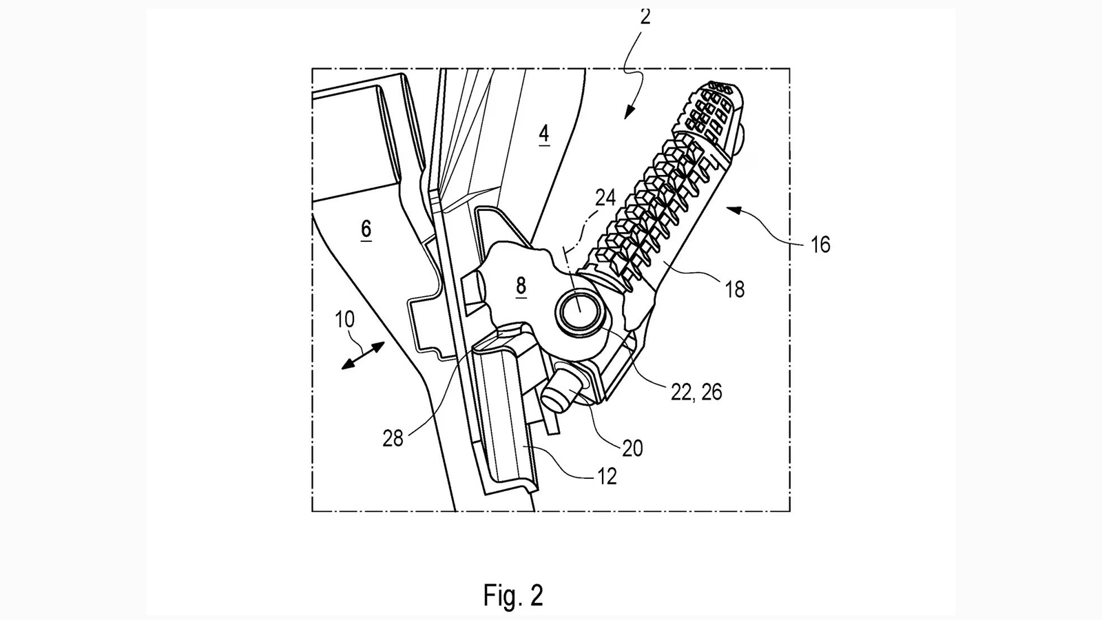
Τα ρυθμιζόμενα μαρσπιέ δεν αποτελούν μία καινοτομία, αλλά τις περισσότερες φορές για την αλλαγή της θέσης τους απαιτείται η χρήση κάποιου εξαγωνικού κλειδιού, ή αστεριού (Torx). Για την εξάλειψη της ταλαιπωρίας αυτής που προϋποθέτει εργαλεία, η BMW έχει καταθέσει δίπλωμα ευρεσιτεχνίας στο οποίο απεικονίζονται μαρσπιέ που αλλάζουν θέση σε δευτερόλεπτα. Το σύστημα με το οποίο λειτουργούν είναι απλό, κάτι που εγείρει την ερώτηση του γιατί δεν υπήρχαν ήδη. Τα μαρσπιέ φαίνεται να είναι τοποθετημένα σε μία ράγα πάνω στην οποία μπορούν να ολισθαίνουν, χωρίς να χρειάζεται να λυθούν κάποιες βίδες. Αντιθέτως υπάρχει μία οδοντωτή κατασκευή με διάφορες θέσεις στο τέλος του αλουμινένιου πλαισίου όπου τοποθετούνται τα μαρσπιέ και ένας πύρος προς την αντίθετη πλευρά σε κάθε πατάκι (προς την μοτοσυκλέτα) που το κρατάει στη θέση του. Τα ίδια τα πατάκια ανοιγοκλείνουν με τον παραδοσιακό τρόπο όπως στις περισσότερες μοτοσυκλέτες ενώ όταν βρίσκονται στην θέση οδήγησης ο πύρος τα "κλειδώνει" στο σημείο που έχει επιλέξει ο αναβάτης. Για την αλλαγή της θέσης τους χρειάζεται απλώς να τα διπλώσεις προς τα πάνω, ελευθερώνοντας τον πύρο από την αυλάκωση που βρισκόταν, ώστε να τα τοποθετήσεις σε μία άλλη.
Μεγάλη ευελιξία σχετικά με τον άξονα ή την καμπύλη ρύθμισης
Στην πατέντα της BMW διευκρινίζεται πως η ράγα πάνω στην οποία θα ολισθαίνουν τα μαρσπιέ θα μπορεί να είναι ευθεία ή και καμπυλωτή ανάλογα με την μοτοσυκλέτα στην οποία θα τοποθετείται. Σε μία σπορ μοτοσυκλέτα για παράδειγμα θα μπορούσαν να ρυθμίζονται προς τα πάνω και πίσω για την οδήγηση σε πίστα που απαιτεί μία πιο επιθετική θέση, ή μπροστά και προς τα κάτω όταν ο αναβάτης αναζητά μία πιο άνετη θέση οδήγησης.
Αν σου άρεσε: Κοινοποίησέ το »
Σχολίασέ το, στη σελίδα μας στο Facebook »
Αναπτύσσονται πιθανότατα για ηλεκτρικές μοτοσυκλέτες
Ακούγεται απλό σαν ιδέα, αλλά γιατί φαίνεται πως αναπτύσσεται για ηλεκτρικές μοτοσυκλέτες; Η απάντηση είναι πως το σύστημα αυτό δεν μπορεί εύκολα να συνδυαστεί με έναν λεβιέ ταχυτήτων ή ένα ποδόφρενο, σαν αυτά που έχουν οι περισσότερες θερμικές μοτοσυκλέτες. Στις ηλεκτρικές μοτοσυκλέτες με μία ταχύτητα όμως, που στην αριστερή μανέτα τοποθετείται το πίσω φρένο, τα μαρσπιέ υπάρχουν μόνο για την στήριξη των ποδιών του αναβάτη, οπότε η ιδέα αυτή εφαρμόζεται απροβλημάτιστα σε εκείνες.
Θα τοποθετηθούν στα μοντέλα DC που ετοιμάζει;
Στο δίπλωμα ευρεσιτεχνίας απεικονίζονται τα μαρσπιέ τοποθετημένα σε ένα αλουμινένιο πλαίσιο με το μοχλικό σύστημα του ψαλιδιού να είναι εμφανές και με δύο τρύπες στις οποίες αυτά θα βιδώνονται στο πλαίσιο της μοτοσυκλέτας. Προς το παρόν τα σχέδια αυτά δεν φαίνεται να ταιριάζουν με καμία μοτοσυκλέτα από τον στόλο της BMW, αντιθέτως μοιάζουν πολύ με το Concept μίας ηλεκτρικής μοτοσυκλέτας με μία μεγάλη μπαταρία που λειτουργεί σαν δομικό στοιχείο της, που η εταιρεία αναπτύσσει για την οποία είχαμε πρόσφατα δημοσιοποιήσει ένα άρθρο. Αποτελεί αυτό όμως αδιαμφισβήτητο στοιχείο, ότι θα δούμε άμεσα ηλεκτρικές μοτοσυκλέτες στην γκάμα της εταιρείας πλάι στα ηλεκτρικά scooters CE; Όχι ακριβώς. Με στοιχεία όμως όπως το δίπλωμα ευρεσιτεχνίας, την ηλεκτρική μοτοσυκλέτα concept με το όνομα: Vision DC που η εταιρεία παρουσίασε το 2019 και την κατοχύρωση μίας σειράς ονομάτων DC (01-09) το μόνο σίγουρο είναι πως η BMW ερευνά πυρετωδώς την ηλεκτροκίνηση στον τομέα των μοτοσυκλετών.







