Μεγάλα σχέδια σχετικά με την ηλεκτροκίνηση για την BMW
Κατοχυρώνει 11 ονομασίες η εταιρεία
DC 04 η πρώτη ηλεκτρική μοτοσυκλέτα της BMW;
Vision DC Roadster με εικονική Boxer διάταξη
CE 04 scooter πόλης αντίστοιχο των βενζινοκίνητων 125cc
BMW: Σπανός AE - Premium εμπειρία με όφελος 1.000 ευρώ και μηνιαία δόση από 89 ευρώ!
Κατοχυρώνει 11 ονομασίες η εταιρεία
Η BMW έχει παρουσιάσει αρκετές ηλεκτρικές μοτοσυκλέτες από το 2015 σε μορφή μελετών, concept, αλλά και πλήρως λειτουργικών μοντέλων. Η εταιρεία κατοχύρωσε μάλιστα 11 νέα ονόματα μοντέλων. Μετά τα μοντέλα CE, που αφορούν scooter και μικρά δίκυκλα αστικής μετακίνησης, όπως το "ηλεκτρικό 125άρη" BMW CE 02, εισάγει το όνομα DC για την ανάπτυξη μεγαλύτερων μοτοσυκλετών με την κατοχύρωση των: DC 01, DC 02, DC 03, DC 04, DC 05, DC 06, DC 07, DC 08 και DC 09. Σύμφωνα με την BMW τα οι ονομασίες αυτές αφορούν μοτοσυκλέτες, ανταλλακτικά και αξεσουάρ ενώ τα γράμματα DC σημαίνουν Direct Current δηλαδή συνεχές ρεύμα.
DC 04 η πρώτη ηλεκτρική μοτοσυκλέτα της BMW;
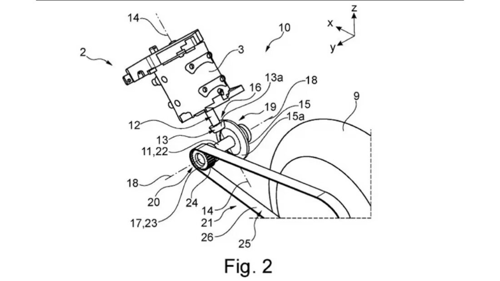
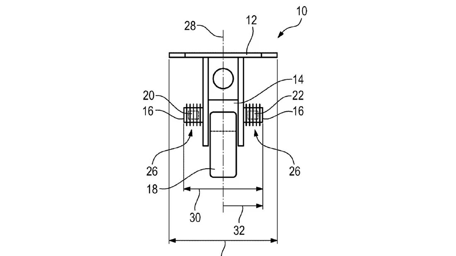
Από τον Μάρτιο του 2023, δίπλωμα ευρεσιτεχνίας που φαίνεται να ανήκει στην BMW απεικονίζει την πρώτη της ηλεκτρική μοτοσυκλέτα (και όχι scooter δηλαδή, αφού υπάρχει το CE 04) που όπως φαίνεται θα ονομάζεται DC 04. Η μοτοσυκλέτα αυτή είναι βασισμένη στην G 310 R της εταιρείας, ένα μικρό μονοκύλινδρο naked 313cc που αποδίδει 34 άλογα, ενώ τα ηλεκτρικά εξαρτήματά της θα προέρχονται από το CE 04, το οποίο βγήκε στην αγορά την άνοιξη του 2022. Σε αντίθεση με το CE 04 επειδή η DC 04 έχει διάταξη μοτοσυκλέτας, ο ηλεκτροκινητήρας και η μπαταρία έχουν τοποθετηθεί με κλίση ενώ η ισχύς του ηλεκτροκινητήρα ανακατευθύνεται κατά 90° με τη βοήθεια ενός κωνικού γραναζιού ώστε να καταλήξει στον πίσω τροχό μέσω ενός οδοντωτού ιμάντα. Παράλληλα, τον Δεκέμβριο του 2023 είχε δημοσιευθεί η πιο πρόσφατη ευρεσιτεχνία της BMW σχετικά με μία ηλεκτρική μοτοσυκλέτα. Αφορά ένα αρθρωτό monocoque πλαίσιο με την τοποθέτηση της μπαταρίας να αποτελεί δομικό στοιχείο του. Το υλικό του καλύμματος της μπαταρίας είναι σύνθετο πλαστικό με ανθρακονήματα, όπως για παράδειγμα Kevlar (παρα-αραμίδιο). Στον λαιμό του πλαισίου και στο σημείο ένωσής του με το ψαλίδι, θα υπάρχει μία υβριδική κατασκευή κάποιου ελαφρού μετάλλου (αλουμινίου ή τιτανίου) ενώ το πλεονέκτημα του αρθρωτού σχεδίου, είναι η δυνατότητα που δίνεται στο πλαίσιο να τοποθετηθούν διαφορετικοί τροχοί και αναρτήσεις με βάση τον τύπο μοτοσυκλέτας που θέλει να παράξει η εταιρεία, ενώ μειώνεται και το κόστος παραγωγής με την ύπαρξη λιγότερων μοναδικών για κάθε μοντέλο εξαρτημάτων.

Απεικονίζεται το σύστημα με το κωνικό γρανάζι και τον οδοντωτό ιμάντα

Το G 310 R στο οποίο θα βασίζεται το DC 04
Αν σου άρεσε: Κοινοποίησέ το »
Σχολίασέ το, στη σελίδα μας στο Facebook »
Vision DC Roadster με εικονική Boxer διάταξη
Το Vision DC Roadster. ένα concept μίας ηλεκτρικής μοτοσυκλέτας της BMW που παρουσιάστηκε το 2019, προκαλεί όλα τα βλέμματα να προσκολλούνται πάνω του με το σύστημα ψύξης του ηλεκτροκινητήρα του, που θυμίζει διάταξη boxer κινητήρα εσωτερικής καύσης, σήμα κατατεθέν της γερμανικής εταιρείας στα δίτροχα, Με την κατάθεση ενός ακόμα διπλώματος ευρεσιτεχνίας από τον Ιούνιο του 2022 φαίνεται πως η εταιρεία σκοπεύει πιθανότατα να μην μείνει στο concept και να βγει κάτι αντίστοιχο στην παραγωγή. Την παρουσίαση του φουτουριστικού BMW Vision DC Roadster ακολούθησε η παρουσίαση του E-Power Roadster Concept, μίας μοτοσυκλέτας με λιγότερο "εξωγήινο" design που είναι όμως πλήρως λειτουργική με μέγιστη απόδοση 100 kW, δηλαδή 136 αλόγων, και βάρος 300 κιλών. Παρά την κατάστασή της όμως, δηλαδή το γεγονός ότι είναι σε τελικό στάδιο ανάπτυξης, η BMW δεν θα βγάλει στην παραγωγή κάποια αντίστοιχη μεγάλων κυβικών ηλεκτρική μοτοσυκλέτα μέχρι να υπάρχει η δυνατότητα μαζικής παραγωγής από τα εργοστάσιά της. Όπως επιδεικνύει όμως η κατοχύρωση των ονομάτων DC 01-09, η εταιρεία σκοπεύει να παρουσιάσει μελλοντικά αρκετά ηλεκτρικά μοντέλα, οπότε μπορούμε εύλογα να μαντέψουμε ότι οι απαραίτητες ενέργειες έχουν τεθεί σε κίνηση με σκοπό την διαμόρφωση μίας νέας γραμμής παραγωγής.

To Vision DC Roadster με τον "ψευτοboxer"

Το λειτουργικό E-Power Roadster Concept που μοιάζει με το s1000r αλλά με άξονα αντί για αλυσίδα
CE 04 scooter πόλης αντίστοιχο των βενζινοκίνητων 125cc
Το CE 04 της BMW θα είναι διαθέσιμο μέσα στον χρόνο ενώ χαρακτηρίζεται ως "ηλεκτρικό 125άρι" αφού αποδίδει 15 άλογα και μπορεί να οδηγηθεί με δίπλωμα Α1 η αυτοκινήτου. Η εταιρεία μάλιστα το έχει κατατάξει στην κατηγορία "urban mobility" (αστική μετακίνηση) μαρτυρώντας πως είναι σχεδιασμένο για μικρές αποστάσεις εντός πόλεων. Η κατοχύρωση 11 ονομάτων από την BMW μαρτυρά πως είναι πολύ πιθανό να δούμε στο μέλλον από αυτή ηλεκτρικά roadsters, tourers ακόμα και adventures. Η εταιρεία γνωρίζουμε ότι αναπτύσσει τουλάχιστον εν μέρει, σε συνεργασία με την TVS από την Ινδία (που παράγει ήδη τα μοντέλα της σειράς G 310 για την BMW αλλά και το πρώτο της ηλεκτρικό scooter το CE 02 από το τέλος του 2023) ηλεκτρικές μοτοσυκλέτες.

Το BMW CE 02














