LIVE: κίνηση στους δρόμους
Εξουσιοδοτημένοι αντιπρόσωποι - Συνεργάτες MotoΤρίτη

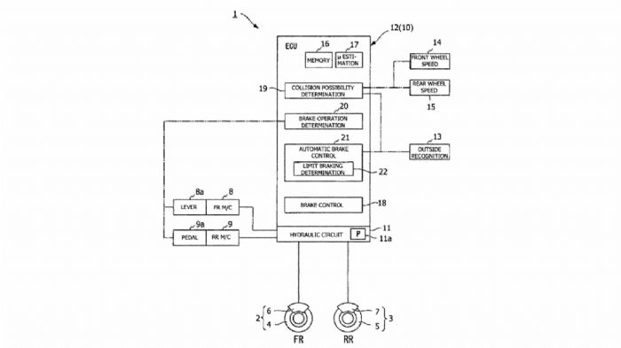
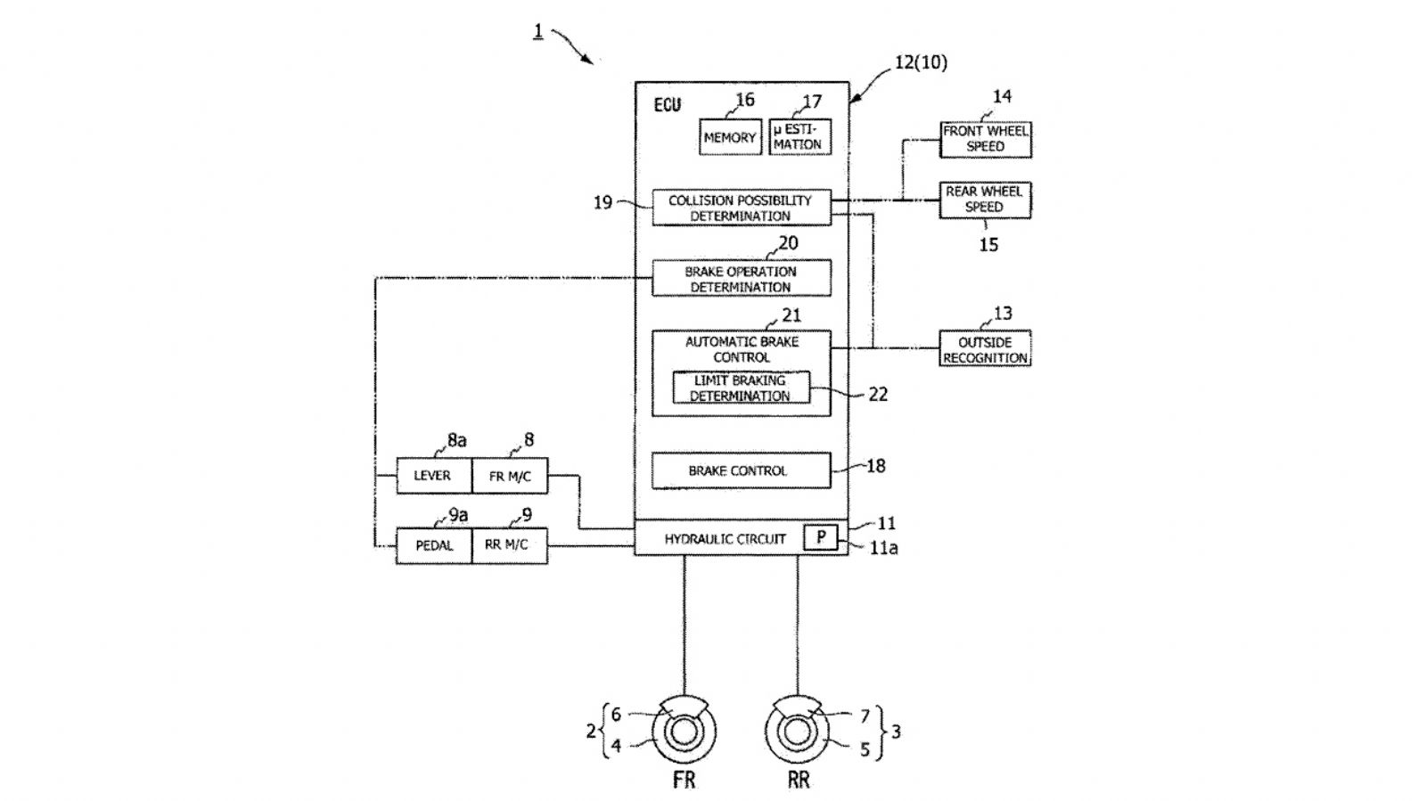
Σχεδιάγραμμα από το νέο πρωτοποριακό σύστημα φρεναρίσματος!

Σχεδιάγραμμα από το νέο πρωτοποριακό σύστημα φρεναρίσματος!

Ηonda: Αυτόματο φρενάρισμα

Αλλο ένα πρωτοποριακό σύστημα φαίνεται πως σχεδιάζει η Honda για να κάνει ασφαλέστερη την οδήγηση της μοτοσυκλέτας μέσα στο αστικό περιβάλλον.

 
Το νέο σύστημα της Honda αφορά στο αυτόματο φρενάρισμα της μοτοσυκλέτας για την αποτροπή των ατυχημάτων. Αυτό το σύστημα έχει ήδη βρει εφαρμογή στα αυτοκίνητα με επιτυχία.
Μέχρι στιγμής το μόνο που έχει αποκαλυφθεί από την εφεύρεση είναι μία σελίδα που δείχνει τον αλγόριθμο του προγράμματος.

H Honda θέλει να δημιουργήσει ένα σύστημα προστασίας για τον αναβάτη το οποίο μέσω κάποιων αισθητήρων θα αντιλαμβάνεται την πιθανότητα της σύγκρουσης με κάποιο εμπόδιο είτε η μοτοσυκλέτα βρίσκεται υπό κλίση είτε σε ευθεία γραμμή.

Αναρωτιόμαστε αν το σύστημα αυτόματου φρεναρίσματος θα ενοποιηθεί εώς κάποιο σημείο ή εξολοκλήρου με το Riding Assist της Honda! Πλέον μπορούμε να καταλάβουμε ότι στην Ιαπωνική εταιρία ο όρος «Future Tech» έχει γίνει κανόνας και προσπαθεί να πλησιάσει όσο περισσότερο γίνεται σε αυτόν.

Οι τεχνολογικές εφευρέσεις και τα αναπτυγμένα βοηθήματα είναι σίγουρα καλοδεχούμενα προς το παρόν! Θα υπάρξει άραγε η μέρα που οι μοτοσυκλέτες δεν θα έχουν καμία σχέση με τις μοτοσυκλέτες του σήμερα; 
 

 

HONDA - ΤΕΛΕΥΤΑΙΑ ΝΕΑ

ΥΠΗΡΕΣΙΕΣ: ΝΕΕΣ ΤΙΜΕΣ - ΠΡΟΣΦΟΡΕΣ