LIVE: κίνηση στους δρόμους
Εξουσιοδοτημένοι αντιπρόσωποι - Συνεργάτες MotoΤρίτη

Το γενικό διάγραμμα λειτουργίας του συστήματος, από την Honda.

To διάγραμμα του εμπρός τροχού. Ο κινητήρας/αντλία διακρίνεται στο κέντρο, όπως και ο μηχανισμός αλλαγής βήματος.

Το σύστημα ηλεκτροκινητήρα και υδραυλικής αντλίας/κινητήρα του πυρήνα: Το μοτέρ συνδέεται με την αντλία μέσω γραναζιών.

Η Honda σχεδιάζει σύστημα κίνησης στον εμπρός τροχό

Διαβάστηκε από 3.963 αναγνώστες (29/6/2021)

Μια ακόμα «αβάντα» στην ηλεκτροκίνηση; Ένα νέο σύστημα κίνησης/ανάκτησης ενέργειας φαίνεται ότι είναι υπό ανάπτυξη από την Honda. Ποια είναι η γνώμη σας για αυτό;

mototriti Team

HONDA: Kαρακώστας Κλείσε τώρα Τest Ride σε όλα Best Sellers μοντέλα

HONDA: PCX125...Η καλύτερη πλευρά της πόλης!

Τεχνικά σχέδια έκαναν την εμφάνιση τους σε διεθνή μέσα, τα οποία αποκαλύπτουν την μελέτη της Honda σε ένα σύνολο λύσεων, που μπορούν να ξεκλειδώσουν νέες δυνατότητες στις μοτοσυκλέτες του μέλλοντος. Συγκεκριμένα, η ιαπωνική εταιρεία ρίχνει ξανά στο τραπέζι την κίνηση και στους δύο τροχούς και αυτή την φορά, στα πλαίσια ηλεκτροκίνητου μοντέλου.


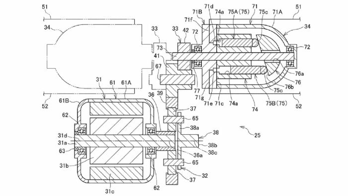
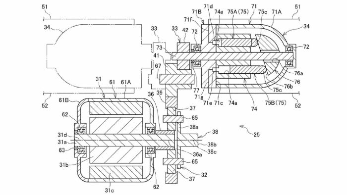
To διάγραμμα του εμπρός τροχού. Ο κινητήρας/αντλία διακρίνεται στο κέντρο, όπως και ο μηχανισμός αλλαγής βήματος.

To διάγραμμα του εμπρός τροχού. Ο κινητήρας/αντλία διακρίνεται στο κέντρο, όπως και ο μηχανισμός αλλαγής βήματος.

Kοινοποίησε το »
Σχολιάσε το στο facebook »

 
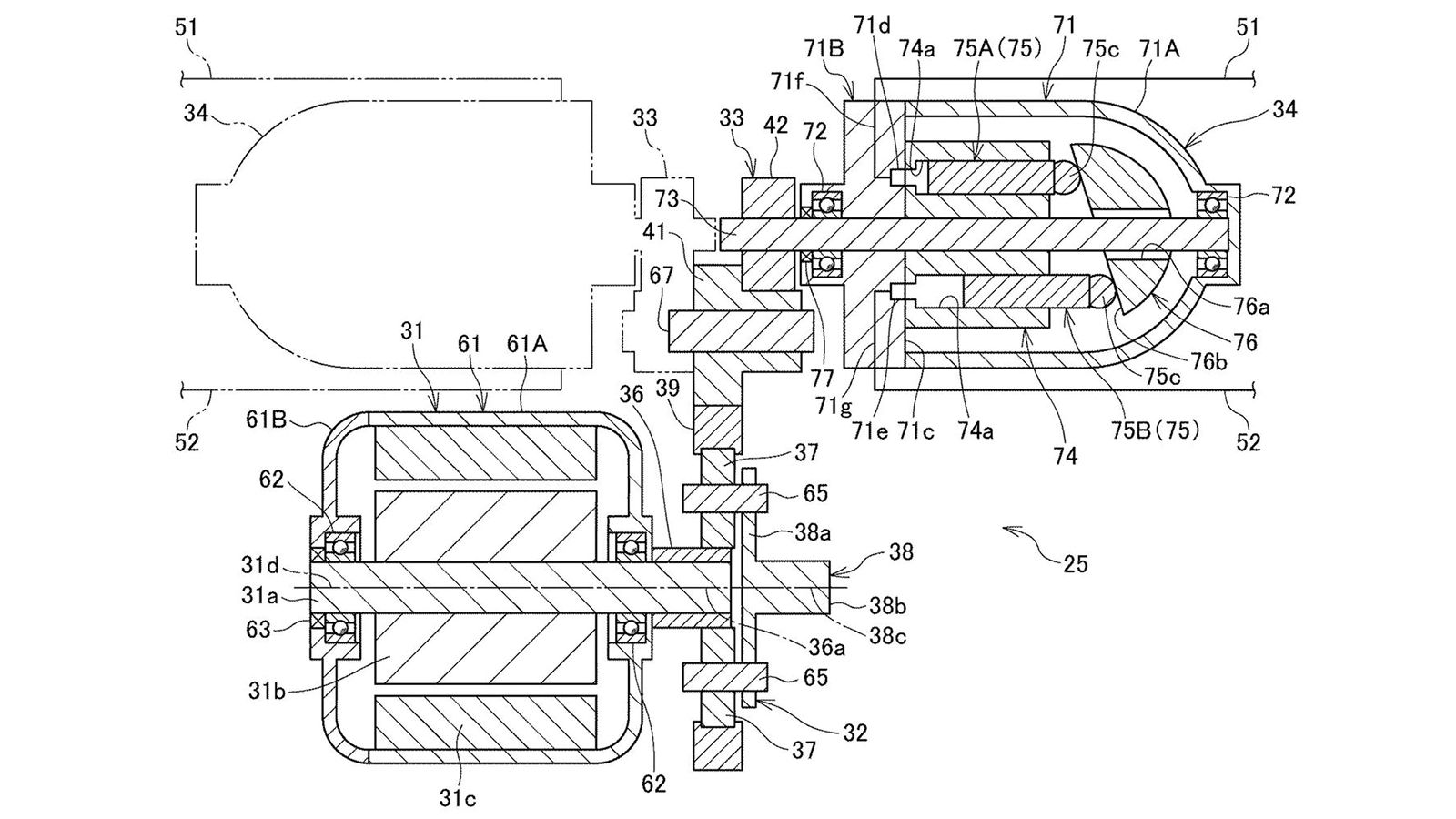
Το σύστημα που μελετά η Honda κάνει χρήση της μετάδοσης μέσω υδραυλικού συστήματος, με δύο κινητήρες/αντλίες και ένα ηλεκτρονικό σύστημα ελέγχου της όλης διαδικασίας. Ο ένας κινητήρας/αντλία βρίσκεται στον εμπρός τροχό και είναι μεταβλητού βήματος, ώστε να αλλάζει από τον έναν ρόλο στον άλλο. Το δεύτερο ανάλογο εξάρτημα, βρίσκεται στα μηχανικά μέρη της μοτοσυκλέτας και είναι σταθερού βήματος, ενώ συνδέεται με ηλεκτροκινητήρα όπως μπορούμε να δούμε και στις εικόνες. Τα δύο υδραυλικά εξαρτήματα συνδέουν εύκαμπτοι σωλήνες και οι ενημερωμένοι ίσως θυμήθηκαν ήδη το σύστημα της Ohlins, που χρησιμοποιήθηκε στα Yamaha WR450F 2-Trac to 2004 και το 2005.

Το σύστημα ηλεκτροκινητήρα και υδραυλικής αντλίας/κινητήρα του πυρήνα: Το μοτέρ συνδέεται με την αντλία μέσω γραναζιών.

Το σύστημα ηλεκτροκινητήρα και υδραυλικής αντλίας/κινητήρα του πυρήνα: Το μοτέρ συνδέεται με την αντλία μέσω γραναζιών.

 
Η χρήση του ηλεκτροκινητήρα, αλλά και του συστήματος ελέγχου, παραπέμπει σε ένα πολύ εξελιγμένο σύστημα μετάδοσης κίνησης. Ο κεντρικός ηλεκτροκινητήρας θα μπορεί να μεταδίδει ισχύ (και) στον εμπρός τροχό της μοτοσυκλέτας, ρυθμίζοντας τον κινητήρα/αντλία του τροχού σε mode κινητήρα. Στην πέδηση, ο κινητήρας θα γίνεται αντλία, μεταφέροντας ενέργεια πίσω στον ηλεκτροκινητήρα και φορτίζοντας τις μπαταρίες του δικύκλου. Κάπως έτσι, έχουμε ένα πολύ ευέλικτο σύστημα, που μπορεί να συμβάλλει ουσιαστικά στην ανάκτηση ενέργειας και στην αποδοτικότητα των ηλεκτρικών δικύκλων σε αυτό το κομμάτι, αφού η περισσότερη ενέργεια κατά την πέδηση μπορεί να ανακτηθεί από τον εμπρός τροχό. Από την άλλη, υποθέτοντας ότι ανάλογα εξελιγμένο θα είναι και συνολικά το σύστημα κίνησης, τότε οι νέες μοτοσυκλέτες της Honda θα μπορούν να είναι... εμπροσθοκίνητες, πισωκίνητες ή AWD, ανάλογα με τις συνθήκες ή την επιλογή του οδηγού!
 
Όλα αυτά είναι -προφανώς- σε φάση ανάπτυξης ακόμα, οπότε πρέπει να περιμένουμε, ίσως και αρκετά, μέχρι να δούμε πως η Honda θα κάνει αυτή την υλοποίηση.   
 

Kοινοποίησε το »
Σχολιάσε το στο facebook »

AUTOAGORA