LIVE: κίνηση στους δρόμους
Εξουσιοδοτημένοι αντιπρόσωποι - Συνεργάτες MotoΤρίτη

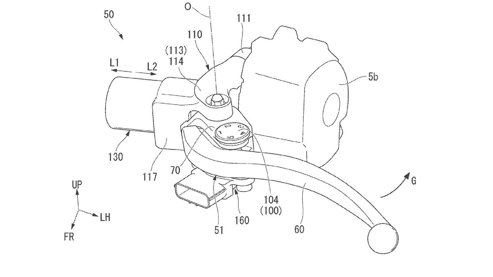
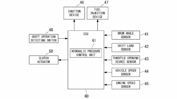
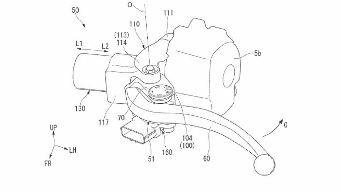
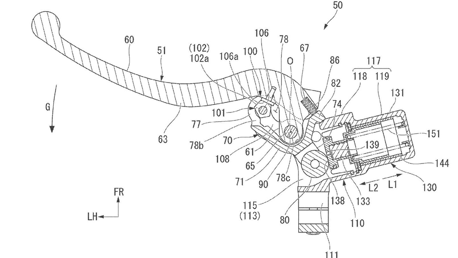
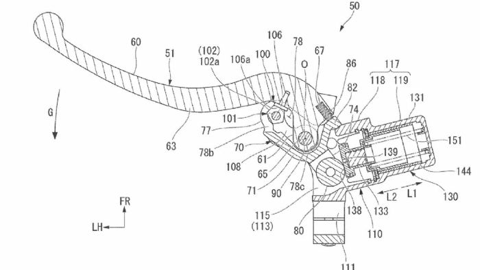
Μερικά από τα σχέδια της νέας πατέντας της Honda.

Μερικά από τα σχέδια της νέας πατέντας της Honda.

Μερικά από τα σχέδια της νέας πατέντας της Honda.

H Honda ετοιμάζει τον ηλεκτρονικό συμπλέκτη

Διαβάστηκε από 5.262 αναγνώστες (9/6/2021)

«Τελειώνει» και ο συμπλέκτης, όπως τον ξέραμε. Σχέδια… ηλεκτρονικοποίησης της αριστερής μανέτας από την Honda είδαν το φως της δημοσιότητας. Πως θα σχολιάζατε κάτι τέτοιο;

mototriti Team

HONDA: Kαρακώστας Κλείσε τώρα Τest Ride σε όλα Best Sellers μοντέλα

HONDA: PCX125...Η καλύτερη πλευρά της πόλης!

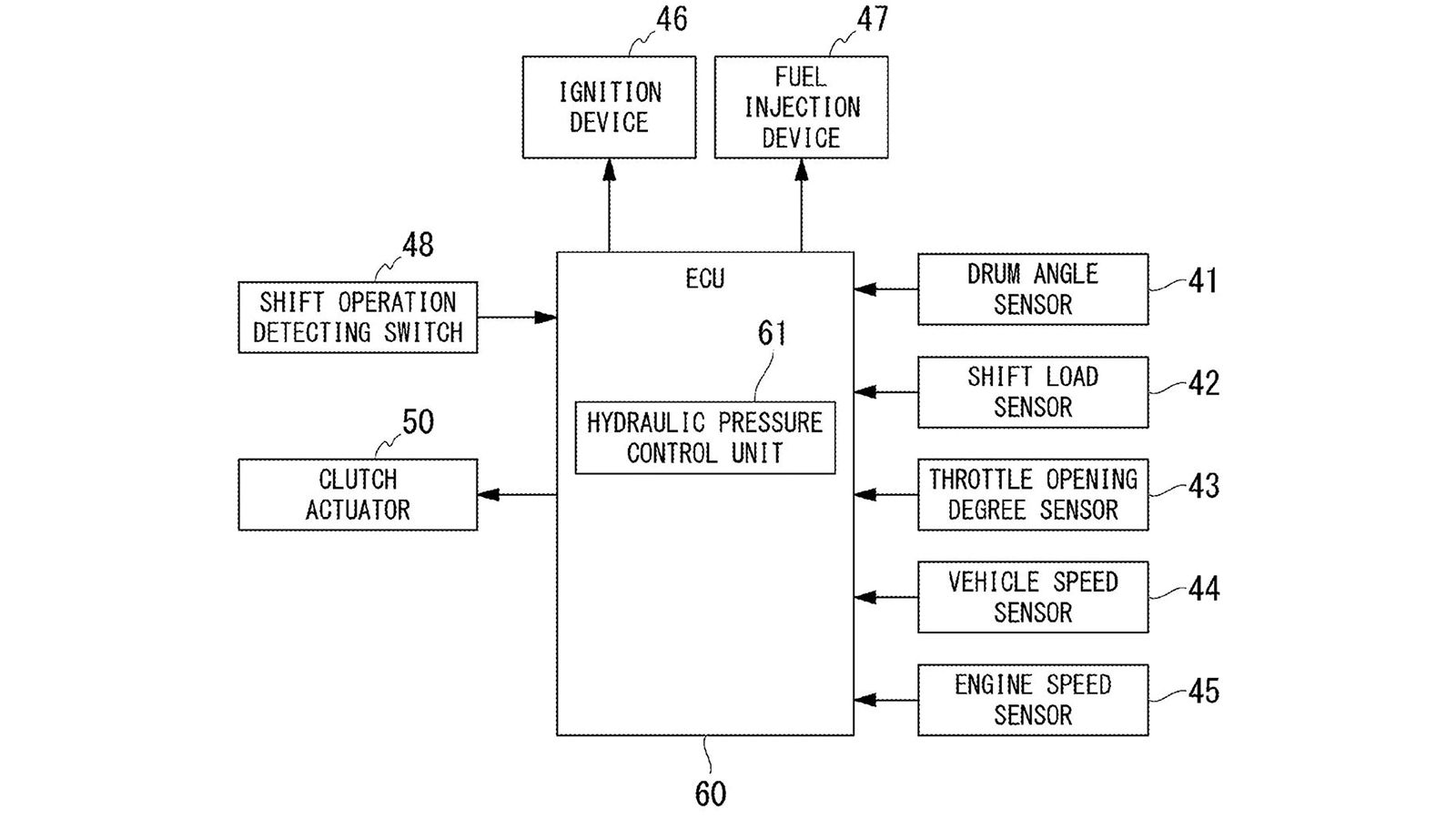
Η εξέλιξη των ηλεκτρονικών συστημάτων στην μοτοσυκλέτα είναι ραγδαία τα τελευταία 10 χρόνια και, όπως φαίνεται, τα τελευταία μηχανικά προπύργια ετοιμάζονται να πέσουν. Μία από τις πρωτοπόρες μάρκες στην ανάπτυξη προς αυτή την κατεύθυνση, η Honda, είναι ήδη γνωστό ότι δουλεύει σε σύστημα ηλεκτρικού/αυτόματου τιμονιού, τώρα δημοσιεύεται ότι ετοιμάζει και σύστημα ηλεκτρονικά ελεγχόμενου συμπλέκτη, που καταργεί την μηχανική ή υδραυλική σύνδεση της μανέτας με αυτόν.
 
Συγκεκριμένα, στα διεθνή μέσα ενημέρωσης δημοσιεύθηκαν σχέδια από την πατέντα της Honda, που εμφανίζουν την μανέτα και τον μηχανισμό που την συνοδεύει. Η μανέτα θα συνδέεται με έναν ηλεκτρονικό αισθητήρα, ο οποίος θα αναγνωρίζει την εντολή από τους χειρισμούς του αναβάτη και θα την μεταδίδει στον εγκέφαλο που θα ελέγχει τον συμπλέκτη. Ο τελευταίος, θα είναι ηλεκτροϋδραυλικά ελεγχόμενος, με μία βασική διαφορά από τα συστήματα που όλοι μας ξέρουμε: Σε κατάσταση «ηρεμίας», ο συμπλέκτης θα είναι αποσυνδεδεμένος. Με την κίνηση του αναβάτη να πατήσει την μανέτα, το ηλεκτροϋδραυλικό σύστημα θα ασκεί την δύναμη της εμπλοκής.
 
Ένα τέτοιο σύστημα μπορεί να ανοίξει ακόμα περισσότερες δυνατότητες ελέγχου και μικρορύθμισης της στιγμής, της δύναμης και του τρόπου εμπλοκής του συμπλέκτη, σε συνδυασμό με τα πλούσια ηλεκτρονικά που συνοδεύουν τις μοτοσυκλέτες του σήμερα. Ακόμα, σε περίπτωση αστοχίας ή δυσλειτουργίας οποιοδήποτε τμήματος του συστήματος που μπορεί να οδηγήσει σε ακινητοποίηση την μοτοσυκλέτα, ο συμπλέκτης έρχεται αυτόματα σε θέση αποσύμπλεξης. Εννοείται φυσικά, ότι η μανέτα του συμπλέκτη θα έχει πρόβλεψη για την παροχή της απαραίτητης αίσθησης στον αναβάτη, μέσω κατάλληλου μηχανισμού.
 


Η Honda δείχνει ότι μελετάει σοβαρά, την εξέλιξη μιας «νέας γενιάς μοτοσυκλέτας» στην οποία ο ηλεκτρονικός έλεγχος θα είναι στο προσκήνιο και όχι στο παρασκήνιο. Πως θα σχολιάζατε εσείς αυτές τις εξελίξεις; Θα οδηγούσατε μια τέτοια μοτοσυκλέτα;
 

AUTOAGORA
  • Θοδωρης

    Εννοειται πως θα την οδηγουσαμε αρκει ο ηλεκτρονικος συμπλεκτης να φερνει μαζι του μεγαλυτερη οδηγικη απολαυση!