LIVE: κίνηση στους δρόμους
Εξουσιοδοτημένοι αντιπρόσωποι - Συνεργάτες MotoΤρίτη

H BMW φέρνει τον άξονα και στα ηλεκτροκίνητα της

Διαβάστηκε από 3.330 αναγνώστες (14/6/2021)

Κάποια πράγματα τελικά δεν αλλάζουν! Σχέδια για την χρήση άξονα μετάδοσης και στα ηλεκτρικά, επεξεργάζεται και καταθέτει η BMW. Θεωρείτε ότι είναι καλύτερη τεχνική λύση από αυτές τις κατηγορίας;

mototriti Team

BMW: Σπανός AE - Premium εμπειρία με όφελος 1.000 ευρώ και μηνιαία δόση από 89 ευρώ!

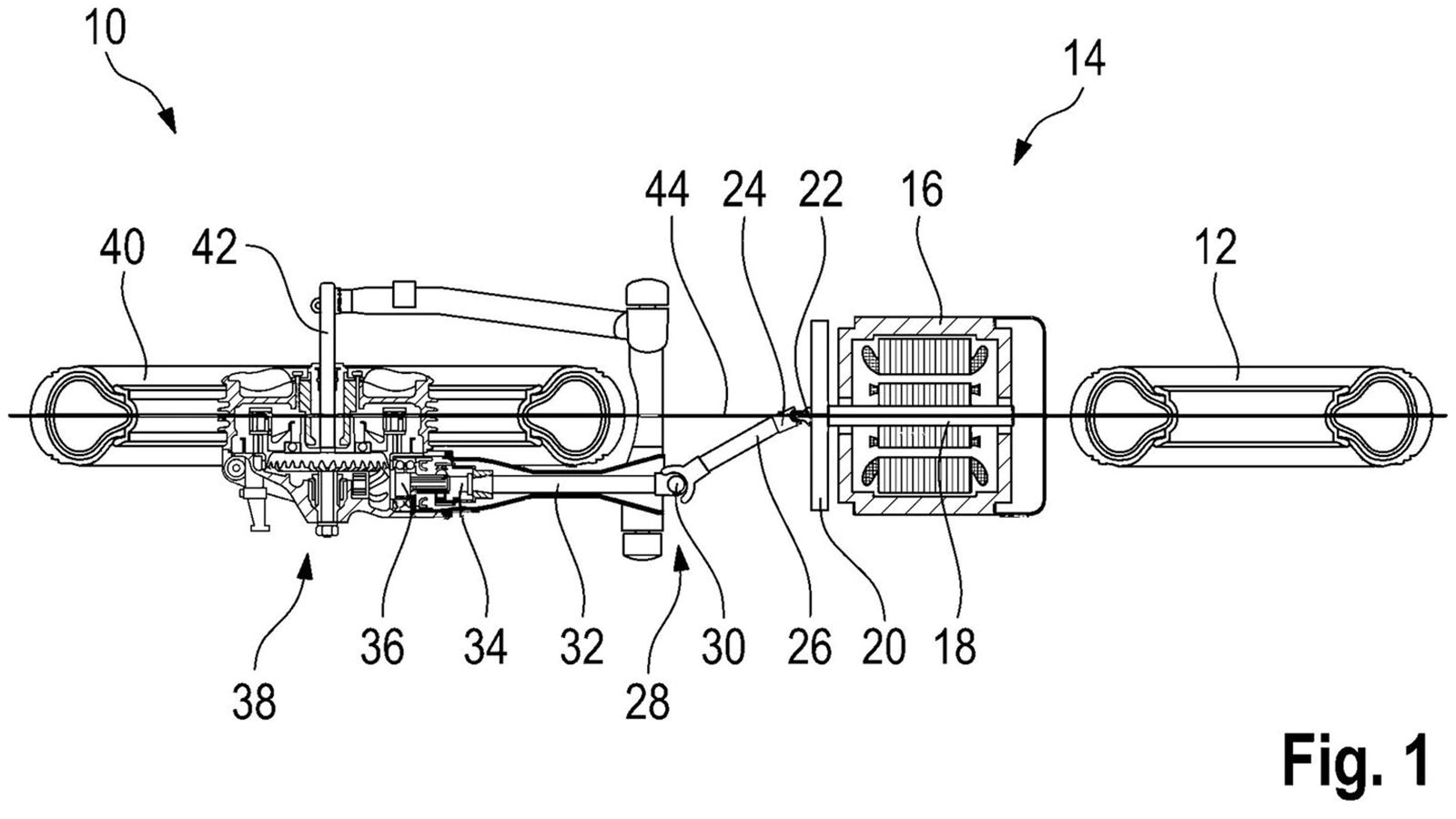
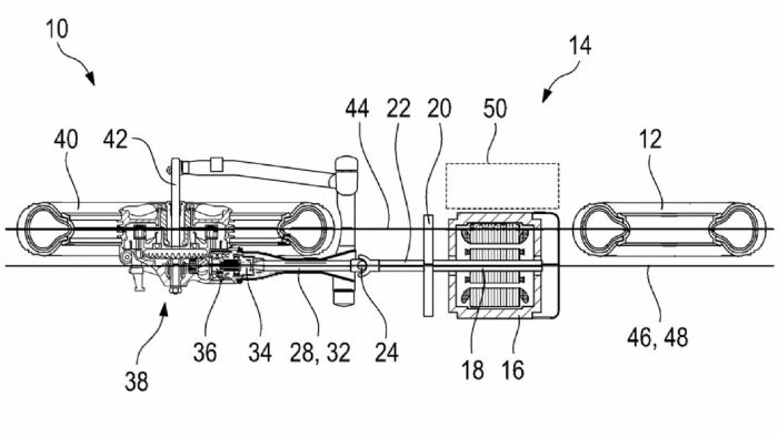
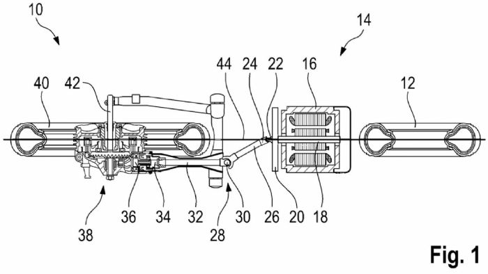
Η BMW έχει ταυτιστεί με πολλά «σήματα κατατεθέντα» στις μοτοσυκλέτες που κατασκευάζει, ένα από τα οποία είναι ο άξονας μετάδοσης της κίνησης στον πίσω τροχό. Φαίνεται ότι αυτή η χαρακτηριστική διάταξη ετοιμάζεται να περάσει και στα ηλεκτροκίνητα πλάνα της εταιρείας, όπως δείχνουν ρεπορτάζ από το εξωτερικό.
 
Πιο συγκεκριμένα, τεχνικά σχέδια για μια ηλεκτρική μοτοσυκλέτα και την διάταξη των μηχανικών της μερών, έκαναν την εμφάνιση τους σε διεθνή μέσα. Σε αυτά, φαίνεται η τοποθέτηση του ηλεκτρικού κινητήρα σε κατά μήκος διάταξη και όχι εγκάρσια, όπως είναι σχεδόν ο κανόνας για τα ηλεκτρικά δίκυκλα του σήμερα. O κινητήρας βρίσκεται στο κέντρο του οχήματος και εμφανίζεται σε δύο πιθανές θέσεις (κεντρικά και δεξιότερα), ενώ ο άξονας μετάδοσης που φεύγει από αυτόν είναι προφανής.




 
Στα σχέδια αναφέρεται και ένα ακόμα βασικό στοιχείο της πατέντας, που αναλαμβάνει την απαραίτητη μείωση της ταχύτητας περιστροφής του ηλεκτροκινητήρα: Ένα πλανητικό σύστημα γραναζιών, που έχει τον αριθμό 20 στα σχέδια, αλλά δεν εμφανίζεται με λεπτομέρειες. Ο πλανητικός μειωτήρας θα μειώνει τις στροφές του ηλεκτρικού κινητήρα, έτσι ώστε ο άξονας να περιστρέφεται στις κατάλληλες ταχύτητες και να μεταδίδει την ισχύ του στον πίσω τροχό, με ένα τυπικό σύστημα γωνιακών οδοντωτών τροχών, όπως σε κάθε άλλη μοτοσυκλέτα με άξονα της εταιρείας.
 
Σύμφωνα με τα στοιχεία που έγιναν γνωστά μέχρι τώρα, η διάταξη του μοτέρ αυτή θα ανοίξει περισσότερες σχεδιαστικές ελευθερίες στην BMW, για την τοποθέτηση των μηχανικών μερών και την σχεδίαση της μοτοσυκλέτας.
 
Η BMW βρίσκεται σε τροχιά δημιουργίας και ανάπτυξης ηλεκτρικών μοτοσυκλετών και αυτό πλέον είναι γεγονός. Αξίζει μάλιστα να αναφέρουμε ότι  η μάρκα επιβεβαιώνει πλέον την επικείμενη έλευση ενός ηλεκτρικού scooter, προς το τέλος της χρονιάς. Όπως είπε ο κ. Γιάννης Δουλγερίδης, διευθυντής της BMW Motorrad Ελλάδας, το πρώτο ηλεκτρικό scooter ευρείας παραγωγής της BMW θα γίνει πραγματικότητα, ενώ στην συνέχεια θα ακολουθήσουν και ηλεκτρικές μοτοσυκλέτες. Μένει μόνο να δούμε τι ακριβώς θα παρουσιαστεί…  
 

AUTOAGORA