Όλα δείχνουν ότι η τρίτη γενιά του X-ADV είναι καθοδόν με αλλαγές στα φωτιστικά σώματα, στην εξάτμιση και στην ουρά. Εσύ τί αλλαγές θες να δεις στο X-ADV;
Το 2015 η Honda πρωτοπαρουσίασε το X-ADV σαν κόνσεπτ στην EICMA. Η ιδέα ενός Adventure Scooter έμοιαζε ξένη εκείνη την εποχή, όμως το μοντέλο βγήκε στους δρόμους την επόμενη χρονιά και τώρα, σύμφωνα με ένα νέο δίπλωμα ευρεσιτεχνίας, φαίνεται ότι μια καινούρια έκδοση έρχεται.
Βασισμένο στο πλαίσιο και τον κινητήρα του NC750, η δεύτερη γενιά του X-ADV ήρθε το 2020, με κάποιες στυλιστικές αλλαγές. Επίσης "γέννησε" και τα μικρότερα αδερφάκια του, τα ADV350, ADV150 και ADV160 και πλέον εκείνη η "περίεργη ιδέα" του 2015 έχει βρει τους μιμητές της σε αρκετούς άλλους κατασκευαστές, όπως στο XP400 της Peugeot και στο DTX360 της Kymco.
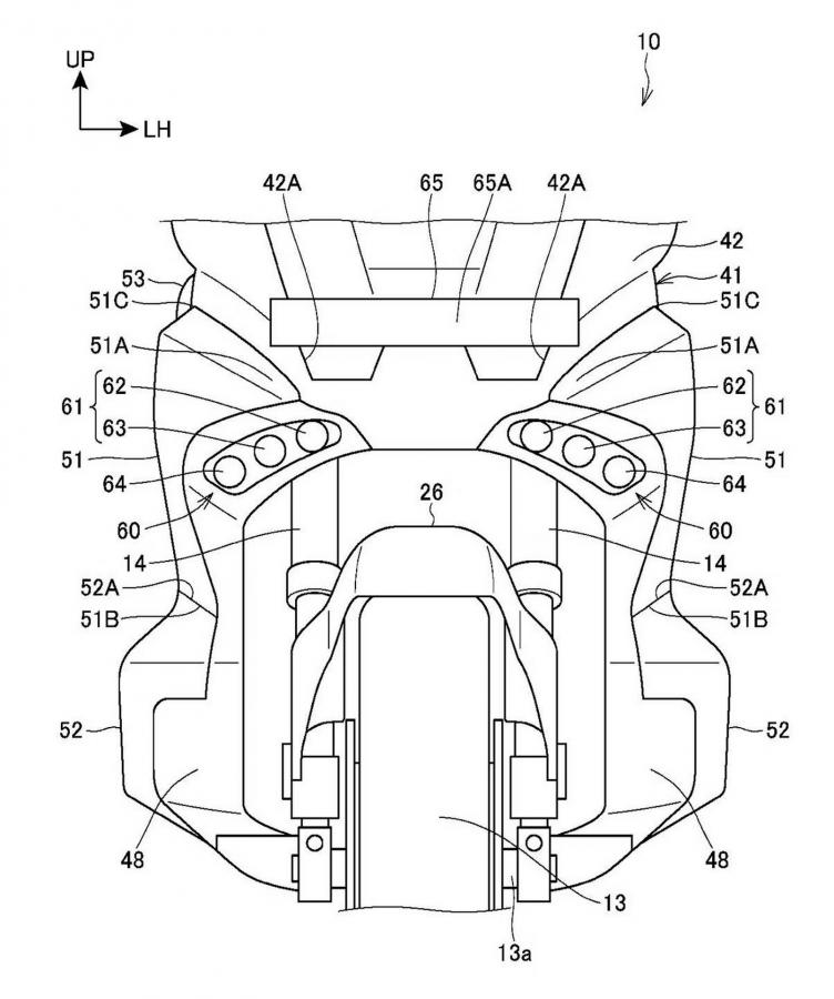
Τώρα ένα νέο δίπλωμα ευρεσιτεχνίας, που μόλις δημοσιεύτηκε στην Ιαπωνία, δείχνει ξεκάθαρα ένα σκούτερ που μοιάζει σαν το υπάρχον X-ADV των 745cc, αλλά με κάποιες εμφανείς διαφορές με την έκδοση που πωλείται αυτή τη στιγμή. Οι αλλαγές επικεντρώνονται στο μπροστινό και στο πίσω μέρος, με το δίπλωμα ευρεσιτεχνίας να αναφέρεται συγκεκριμένα στα νέα φωτιστικά σώματα.
Μπροστά, αυτά έχουν μετακινηθεί πιο χαμηλά, ακριβώς πάνω από τον μπροστινό τροχό. Τρεις διαφορετικοί LED λαμπτήρες συνθέτουν τον κάθε ένα από τους 2 προβολείς, ενώ μια οριζόντια λωρίδα LED που ξεχωρίζει ψηλότερα, αναλαμβάνει το ρόλο των φώτων ημέρας.
Στους δύο κεντρικούς προβολείς, κάθε λαμπτήρας έχει τον δικό του ξεχωριστό ρόλο. Το πιο μέσα ζευγάρι είναι τα φώτα πορείας, ενώ οι μεσαίοι αποτελούν τη μεγάλη σκάλα. Το εξωτερικό ζευγάρι είναι μια νέα προσθήκη στη σειρά X-ADV και είναι φώτα στροφών, δηλαδή θα ενεργοποιείται το καθένα ξεχωριστά, ανάλογα με το που στρίβει το σκούτερ ώστε να φωτίζουν το εσωτερικό της στροφής.
Νέα εξάτμιση
Η άλλη μεγάλη αλλαγή είναι εμφανής στο πίσω μέρος της μοτοσυκλέτας, καθώς η ουρά και η εξάτμιση έχουν επανασχεδιαστεί. Τόσο η πρώτη όσο και η δεύτερη γενιά είχαν την εξάτμιση να ανεβαίνει κάθετα στην δεξιά πλευρά του σκούτερ, αλλά τώρα αυτή θα μεταφερθεί κάτω από τη σέλα, σε οριζόντια θέση.
Αν και το δίπλωμα ευρεσιτεχνίας επικεντρώνεται στα νέα φωτιστικά σώματα, αναφέρεται και στο πίσω μέρος, κάνοντας λόγο για την εξάτμιση, καθώς και για την ουρά που έχει "κοπεί" για να ταιριάξει το νέο σύστημα.
Η μεταφορά της εξάτμισης αυξάνει την απόσταση από το έδαφος και μάλλον συνδέεται με αλλαγές στον κινητήρα, είτε για αύξηση της ισχύος είτε για μειωμένες εκπομπές ρύπων - η νέα θέση επιτρέπει μεγαλύτερο καταλυτικό μετατροπέα καθώς και μεγαλύτερο τελικό, το οποίο μειώνει το θόρυβο.