Ο δίχρονος κινητήρας δεν πέθανε – απλώς περίμενε την τεχνολογία του

Ο δίχρονος επιστρέφει; Τα σχέδια Kawasaki, GM και τα νέα concept αμφισβητούν την εποχή των τετράχρονων
Από παπί και καπνό… σε turbo, άμεσο ψεκασμό και ηλεκτρονικά.
Οι προδιαγραφές Euro έβαλαν μπλόκο στον δίχρονο – Αυτό όμως αλλάζει.
Η General Motors έκανε επιστροφή της τεχνολογίας sleeve valve με ηλεκτρονικά.
Alpha-Otto με τους δίχρονους που καίνε… σχεδόν τα πάντα!
Από παπί και καπνό… σε turbo, άμεσο ψεκασμό και ηλεκτρονικά
Για δεκαετίες, ο δίχρονος κινητήρας ήταν συνώνυμο της απλότητας, της ωμής δύναμης και –ας το πούμε καθαρά– του καπνού. Παπιά, δίχρονα scooters, αγωνιστικές μοτοσυκλέτες μιας άλλης εποχής. Όμως όσο αυστηροποιούνταν οι κανονισμοί ρύπων, τόσο ο δίχρονος έμοιαζε καταδικασμένος. Όχι επειδή η αρχή λειτουργίας του ήταν λάθος, αλλά επειδή ο τρόπος που υλοποιήθηκε ιστορικά είχε σοβαρά μειονεκτήματα: απώλειες μίγματος, καύση λαδιού, εκπομπές που δεν συγχωρούνται στη σύγχρονη εποχή.

Κι όμως, η βασική ιδέα του δίχρονου παραμένει αφοπλιστικά ισχυρή. Ένας κύκλος καύσης σε κάθε περιστροφή του στροφαλοφόρου. Θεωρητικά, περισσότερη ισχύς και ροπή στο ίδιο χρονικό διάστημα, λιγότερα κινούμενα μέρη, μικρότερες διαστάσεις. Αυτό ακριβώς είναι που κάνει σήμερα μεγάλους κατασκευαστές και μηχανικούς να ξανακοιτούν τον δίχρονο όχι με νοσταλγία, αλλά με σύγχρονα εργαλεία: άμεσο ψεκασμό, υπερπλήρωση, ηλεκτρονικά συστήματα ελέγχου και νέες λύσεις λίπανσης.
Οι προδιαγραφές Euro έβαλαν μπλόκο στον δίχρονο – Αυτό όμως αλλάζει
Ο παραδοσιακός δίχρονος κινητήρας λειτουργεί με σάρωση: το φρέσκο μίγμα περνά από τον στροφαλοθάλαμο και μπαίνει στον κύλινδρο, διώχνοντας τα καυσαέρια. Στην πράξη, όμως, μέρος του μίγματος χάνεται κατευθείαν στην εξάτμιση. Ταυτόχρονα, το λάδι που απαιτείται για τη λίπανση καίγεται μαζί με το καύσιμο. Αυτός ο συνδυασμός είναι που έκανε τον δίχρονο «κόκκινο πανί» για τις προδιαγραφές Euro.
Η νέα γενιά ιδεών δεν αλλάζει την ουσία του δίχρονου – αλλά αλλάζει ριζικά τον τρόπο διαχείρισης αέρα, καυσίμου και λαδιού. Το κλειδί είναι διπλό. Πρώτον, ο άμεσος ψεκασμός: το καύσιμο μπαίνει στον κύλινδρο τη σωστή στιγμή, αφού έχει ολοκληρωθεί η σάρωση, ώστε να μην υπάρχει απώλεια. Δεύτερον, η υπερπλήρωση με καθαρό αέρα, ώστε η διαδικασία καθαρισμού του θαλάμου καύσης να μην «παίρνει μαζί της» καύσιμο.
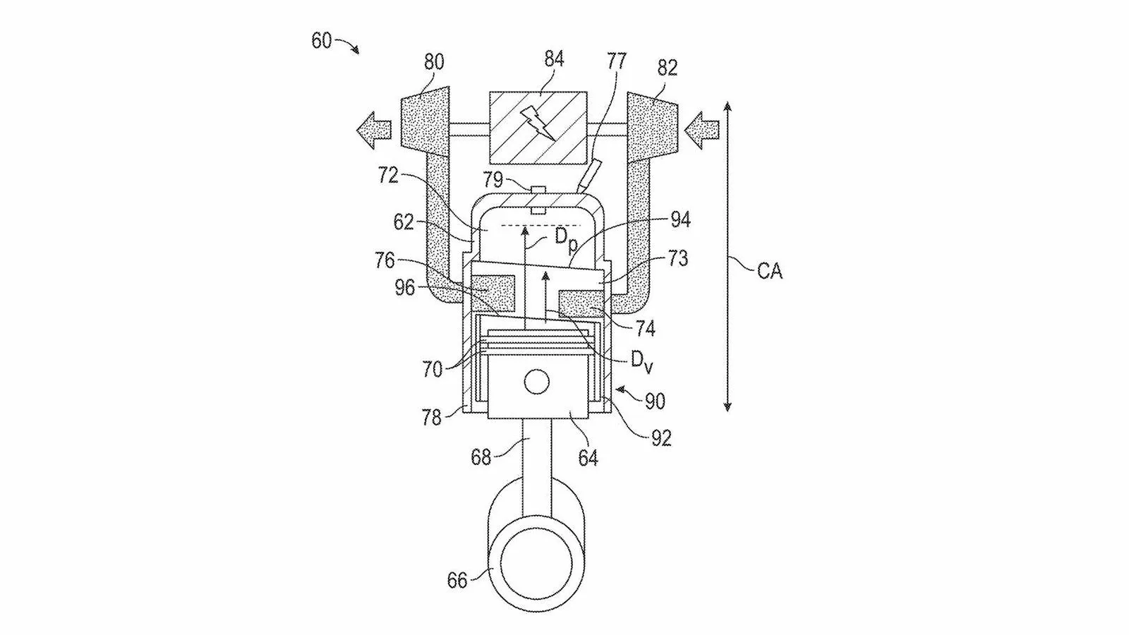
Εδώ αρχίζει και το πραγματικά ενδιαφέρον κομμάτι. Γιατί όταν αφαιρέσεις τα ιστορικά μειονεκτήματα, ο δίχρονος μετατρέπεται ξανά σε αυτό που πάντα ήταν: μια εξαιρετικά αποδοτική μηχανή ισχύος. Το 2024, η Kawasaki κατέθεσε πατέντα που προκάλεσε αίσθηση. Όχι επειδή «ανακάλυψε» τον δίχρονο, αλλά επειδή τον ξανασχεδίασε από την αρχή. Στο concept της, ο κινητήρας εγκαταλείπει την κλασική σάρωση με μίγμα και χρησιμοποιεί βαλβίδες εισαγωγής, υπερπλήρωση (turbo ή compressor) και άμεσο ψεκασμό καυσίμου. Το αποτέλεσμα είναι ένας δίχρονος που καίει μίγμα σε κάθε άνω νεκρό σημείο, αλλά καθαρίζει τον κύλινδρο μόνο με αέρα.

Η λειτουργία θυμίζει υβρίδιο τετράχρονου και δίχρονου. Το έμβολο κατεβαίνει, ανοίγουν θυρίδες εξαγωγής, τα καυσαέρια φεύγουν. Στη συνέχεια, μέσω βαλβίδων, καθαρός αέρας εισέρχεται υπό πίεση στον κύλινδρο. Κατά τη συμπίεση, γίνεται άμεσος ψεκασμός καυσίμου και ακολουθεί νέα ανάφλεξη. Χωρίς απώλειες μίγματος. Χωρίς καύση λαδιού.
Η φιλοσοφία είναι ξεκάθαρη: ο δίχρονος μπορεί να επιβιώσει μόνο αν πάψει να είναι «απλός». ΠαρΆ όλα αυτά, η Kawasaki έχει μπροστά της δύο δύσκολους γρίφους. Πώς μετριέται με ακρίβεια η ποσότητα αέρα που παραμένει στον κύλινδρο μετά τη σάρωση; Και πώς λιπαίνεται αποτελεσματικά ο κύλινδρος χωρίς λάδι στο καύσιμο; Ερωτήματα που δεν έχουν ακόμη δημόσια απάντηση.
Η General Motors έκανε επιστροφή της τεχνολογίας sleeve valve με ηλεκτρονικά
Ακόμη πιο ενδιαφέρουσα είναι η προσέγγιση της General Motors. Στα τέλη του 2025, η GM δημοσίευσε πατέντα για έναν δίχρονο κινητήρα που χρησιμοποιεί σύστημα «χιτωνίου» (sleeve valve), μια τεχνολογία που υπήρχε ήδη πριν από 100 χρόνια – αλλά εδώ επανέρχεται σε ψηφιακή, ηλεκτρονικά ελεγχόμενη μορφή.

Στην καρδιά του συστήματος υπάρχει ένας ηλεκτρικός υπερσυμπιεστής τύπου σπείρας, που σε χαμηλές στροφές λειτουργεί ως compressor και σε υψηλές μετατρέπεται σε γεννήτρια, αξιοποιώντας την ενέργεια των καυσαερίων. Ο ψεκασμός είναι άμεσος, η σάρωση γίνεται με καθαρό αέρα και ο χρονισμός των αερίων ελέγχεται από το κινούμενο χιτώνιο.

Η GM ουσιαστικά επιχειρεί να παντρέψει τον δίχρονο με τεχνολογίες που μέχρι πρόσφατα θεωρούσαμε αποκλειστικό προνόμιο των ηλεκτρικών ή των υβριδικών συστημάτων. Όμως και εδώ, τα ερωτήματα παραμένουν: μέτρηση αέρα, θερμικά φορτία, μακροχρόνια λίπανση χωρίς απώλειες.
Alpha-Otto με τους δίχρονους που καίνε… σχεδόν τα πάντα!
Πέρα από τους μεγάλους κατασκευαστές, υπάρχουν και μικρότερες, πιο «ανήσυχες» εταιρείες. Η Alpha-Otto, για παράδειγμα, εξελίσσει τον δίχρονο Rev-Force, έναν κινητήρα σχεδιασμένο να λειτουργεί με βενζίνη, diesel, υδρογόνο και βαρέα καύσιμα. Χρησιμοποιεί άμεσο ψεκασμό και συμπιεστή, με στόχο μηδενικές απώλειες μίγματος, ενώ η λίπανση των βοηθητικών μερών γίνεται μέσω συμβατικού κυκλώματος λαδιού με ξηρό κάρτερ.

Η λογική είναι σαφής: αν ο δίχρονος μπορεί να γίνει καθαρός, αποδοτικός και καύσιμο-agnostic, τότε αποκτά ξανά ρόλο σε έναν κόσμο που ψάχνει εναλλακτικές πέρα από το πλήρως ηλεκτρικό μοντέλο.

Ο δίχρονος έρχεται ως απάντηση – όχι ως επιστροφή στο παρελθόν
Το κρίσιμο σημείο σε όλη αυτή τη συζήτηση είναι ένα: κανείς δεν προσπαθεί να «αναστήσει» τον δίχρονο όπως τον ξέραμε. Δεν μιλάμε για επιστροφή στο μπλε καπνό και τα premix. Μιλάμε για μια νέα κατηγορία κινητήρων που κρατά το βασικό πλεονέκτημα του δίχρονου –την υψηλή πυκνότητα ισχύος– και απορρίπτει τα ιστορικά του βάρη.
Αν οι μηχανικοί καταφέρουν να λύσουν οριστικά τα ζητήματα μέτρησης αέρα και αξιόπιστης, καθαρής λίπανσης, τότε ο δίχρονος μπορεί να γίνει ξανά επίκαιρος. Όχι απαραίτητα στις μοτοσυκλέτες του αύριο, αλλά ίσως σε ειδικές εφαρμογές, σε hybrid συστήματα ή σε αγορές όπου το βάρος και η απόδοση παίζουν καθοριστικό ρόλο.
Ο δίχρονος δεν επιστρέφει ως ρετρό. Επιστρέφει ως εναλλακτική. Και αυτό, από μόνο του, λέει πολλά για το πού κατευθύνεται η μηχανολογία τα επόμενα χρόνια.

.jpg)
