Πατέντα για νέα αεροδυναμικά βοηθήματα στο Fireblade από τη Honda
Στόχος η αύξηση της αρνητικής άντωσης και η μείωση της αντίστασης.
Αφαιρεί τα φτερά από το πλάι, αλλάζει το σχήμα της μούρης.
Τα «βασικά συστατικά».
Θα περάσει και σε άλλα μοντέλα;
HONDA: Kαρακώστας Κλείσε τώρα Τest Ride σε όλα Best Sellers μοντέλα
HONDA: PCX125...Η καλύτερη πλευρά της πόλης!
Στόχος η αύξηση της αρνητικής άντωσης και η μείωση της αντίστασης
Η Honda παρουσίασε κατά την έκθεση της EICMA τη νέα γενιά CBR 1000RR-R Fireblade SP, με αρκετές αλλαγές για το 2024, με τις περισσότερες όμως να συντελούνται στο «εσωτερικό», κάτω από ένα εν πολλοίς ίδιο εμφανισιακά σώμα.
Τώρα νέα διπλώματα ευρεσιτεχνίας δείχνουν ότι εξετάζονται ακόμα περισσότερες αλλαγές, με τον κεντρικό στόχο να είναι η αύξηση της αρνητικής άντωσης (Downforce) και η μείωση της αντίστασης του αέρα. Τα νέα αεροδυναμικά φτερά ήταν ένα στοιχείο που είχαμε ήδη δει από την EICMA, τα οποία ήταν εμπνευσμένα από τον κόσμο των MotoGP, με το αποτέλεσμα να είναι η επιθυμητή αρνητική άντωση, όχι όμως και η επιθυμητή αντίσταση, καθώς τα φτεράκια είχαν μεγάλη επιφάνεια.
Αφαιρεί τα φτερά από το πλάι, αλλάζει το σχήμα της μούρης
Το νέο σύστημα που εμφανίστηκε τώρα στις πατέντες, αφαιρεί τα μεγάλα φτερά και «πειραματίζεται» με άλλες οδούς, όπως ο επανασχεδιασμός της «μούρης», με σκοπό να αναπληρωθεί η αρνητική άντωση που χάνεται από την απουσία των φτερών.
Συγκεκριμένα, η ιδέα της Honda είναι να αφαιρέσει τα φτερά από τα πλευρά της μοτοσυκλέτας στο μπροστινό μέρος, πιο κοντά μεταξύ τους, μειώνοντας ταυτόχρονα πολύ το μέγεθός τους, και να ανακατευθύνει τον αέρα μέσα από την ίδια την μούρη της μοτοσυκλέτας, με τη χρήση αγωγών και της νέας σχεδίασης. Το δίπλωμα της ευρεσιτεχνίας αναφέρει: “Όταν εισάγονται φτερά σε κάθε πλευρά του φέρινγκ της μοτοσυκλέτας, η αρνητική άντωση αυξάνεται σημαντικά. Όμως επίσης αυξάνεται σημαντικά η αντίσταση του αέρα. Στην τωρινή καινοτομία, η αρνητική άντωση μπορεί να επιτευχθεί από την ίδια τη μούρη, η οποία έχει αντίστοιχο αεροδυναμικό σχήμα φτερού. Ταυτόχρονα, επειδή τα φτερά πλέον δεν είναι απαραίτητα, η αντίσταση του αέρα (μέσω της αφαίρεσής τους) μπορεί να μειωθεί και έτσι η τελική ταχύτητα, η επιτάχυνση αλλά και η οικονομία καυσίμου βελτιώνονται”.

Αν σου άρεσε: Κοινοποίησέ το »
Σχολίασέ το, στη σελίδα μας στο Facebook »
Τα «βασικά συστατικά»
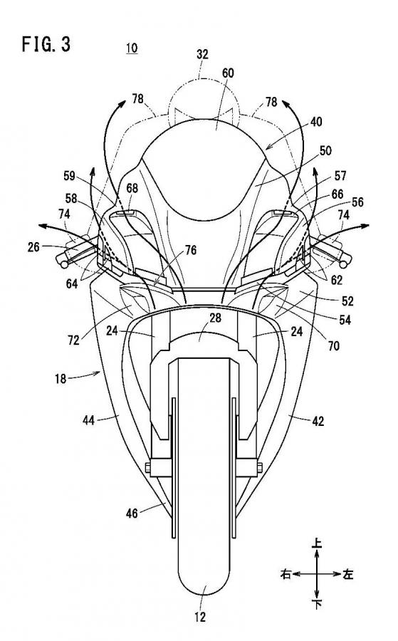
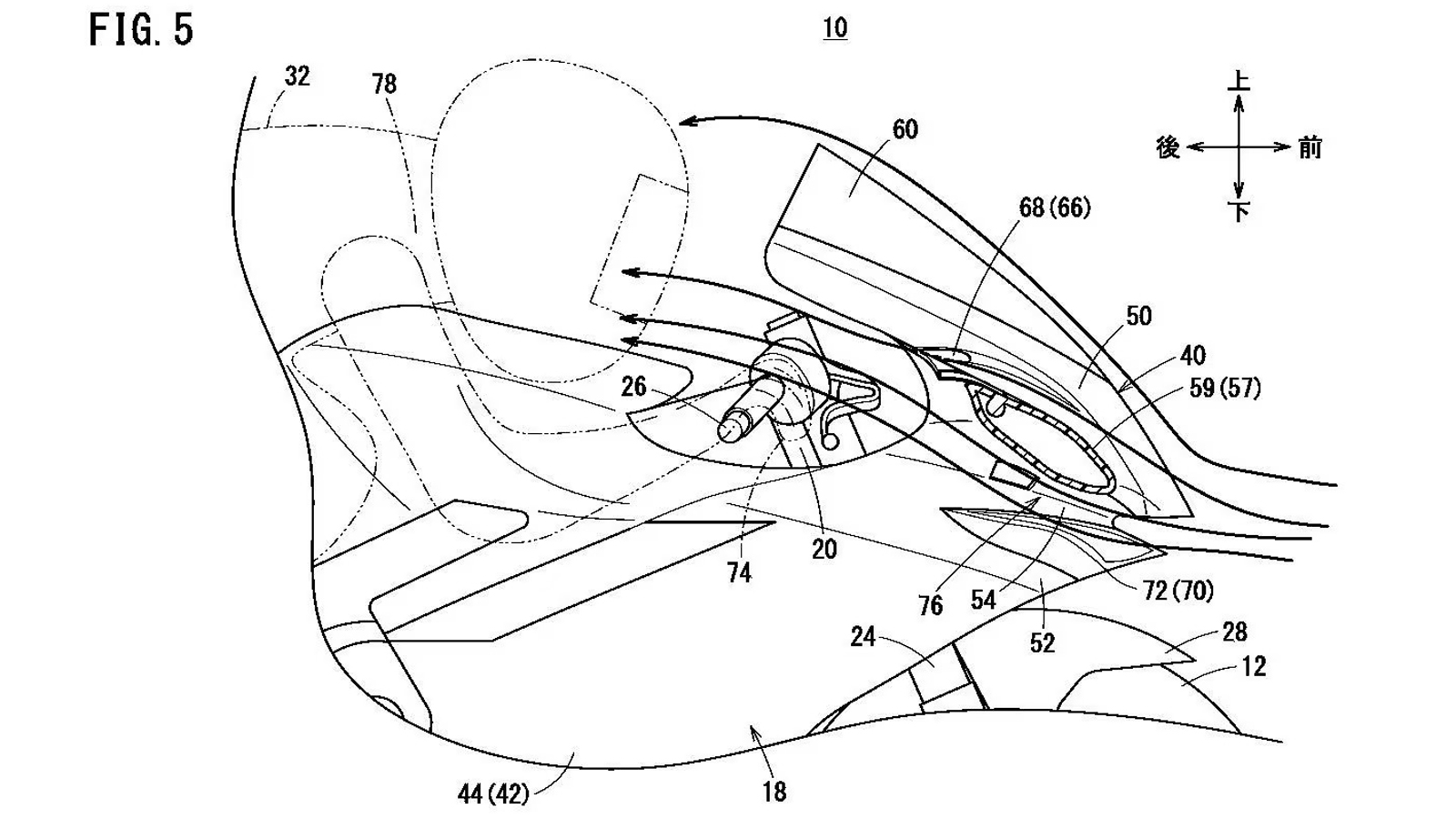
Το «βασικό συστατικό» αυτής της ευρεσιτεχνίας είναι οι αεραγωγοί που βρίσκονται δεξιά και αριστερά της ζελατίνας, ακριβώς μπροστά από τα γκριπ. Συνοδεύονται από δύο ακόμα αεραγωγούς, χαμηλότερα, κάτω από τη μύτη της μούρης. Αυτό που δεν φαίνεται στην κεντρική φωτογραφία, φαίνεται όμως στο Fig. 5, είναι το πώς ακριβώς γίνεται η κίνηση του αέρα, ανάμεσα από τα νέα αεροδυναμικά βοηθήματα. Όπως φαίνεται στη συμπληρωματική φωτογραφία, ο αέρας ακολουθεί μια αρκετά «επιθετική» πορεία, με γρήγορη αλλαγή κατεύθυνσης, όπως θα περιμέναμε από την αντίστοιχη λειτουργία των φτερών, ή όπως πιο κομψά το θέτει η Honda στο δίπλωμα ευρεσιτεχνίας: “Λειτουργεί σαν κουρτίνα αέρα”.

Θα περάσει και σε άλλα μοντέλα;
Στην πατέντα είναι εμφανές ότι το μοντέλο που φαίνεται είναι ένα CBR 1000 RR-R Fireblade SP, καθώς η εξάτμιση, το πλαίσιο και το ψαλίδι ταιριάζουν με το κορυφαίο Superbike της Honda. Όμως είναι προφανές ότι αυτή η ιδέα μπορεί να εφαρμοστεί σε κάθε Supersport μοτοσυκλέτα και για να καταθέτει δίπλωμα ευρεσιτεχνίας η Honda ελπίζει ότι θα μπορέσει να αποτρέψει τους ανταγωνιστές της από το να κινηθούν προς την ίδια κατεύθυνση.




