LIVE: κίνηση στους δρόμους
Εξουσιοδοτημένοι αντιπρόσωποι - Συνεργάτες MotoΤρίτη

Kawasaki: Σχεδιάζει επαναστατικό νέο κινητήρα

Διαβάστηκε από 6.007 αναγνώστες (1/7/2020)

Και δίχρονο, και…κομπρέσορα, και υβριδικό! Πόση τεχνολογία αντέχετε; Δείτε τι καταχώρησε η Kawasaki σχετικά με νέα τεχνολογία κινητήρων…

mototriti Team

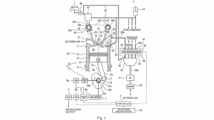
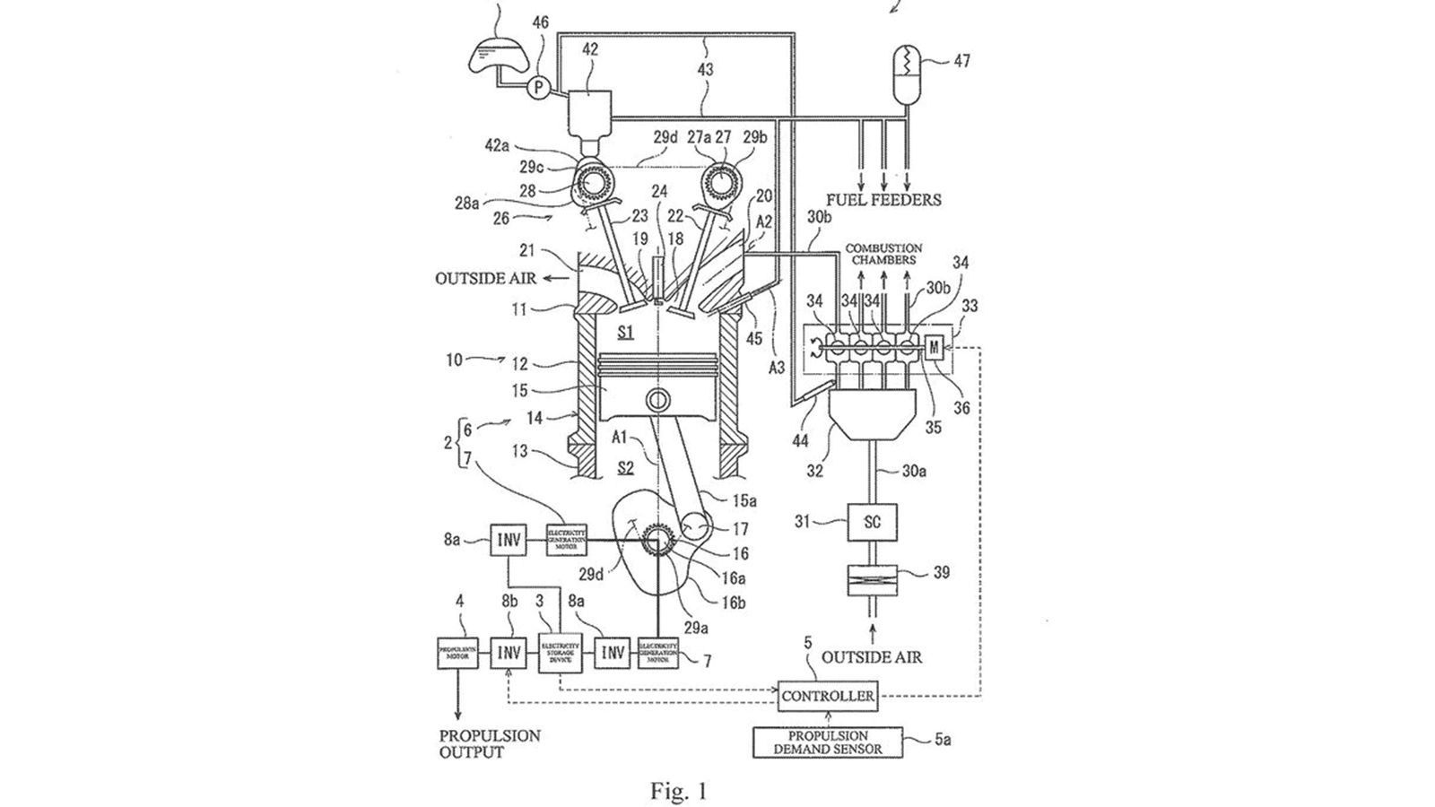
Ο δίχρονος κινητήρας μοτοσυκλέτας μπορεί να είναι ένα πράγμα του παρελθόντος για την μοτοσυκλέτα αυτή την στιγμή, αλλά κάποιοι που έχουν ασχοληθεί με την τεχνολογία κινητήρων σε μεγαλύτερο βάθος γνωρίζουν ότι η συγκεκριμένη τεχνολογία, έχει παράξει μερικούς από τους πιο αποδοτικούς κινητήρες εσωτερικής καύσης, του κόσμου. Έτσι φαίνεται να σκέφτεται εκ νέου και η Kawasaki, η οποία είναι γνωστό πως δεν παράγει μόνο μοτοσυκλέτες, αλλά και μηχανήματα για άλλους τομείς όπως την αεροδιαστημική και την βαριά βιομηχανία. Αυτή την φορά, η εταιρεία κατέθεσε σχέδια για έναν κινητήρα που θα είναι και δίχρονος, και «κομπρεσοράτος», και υβριδικός!
 
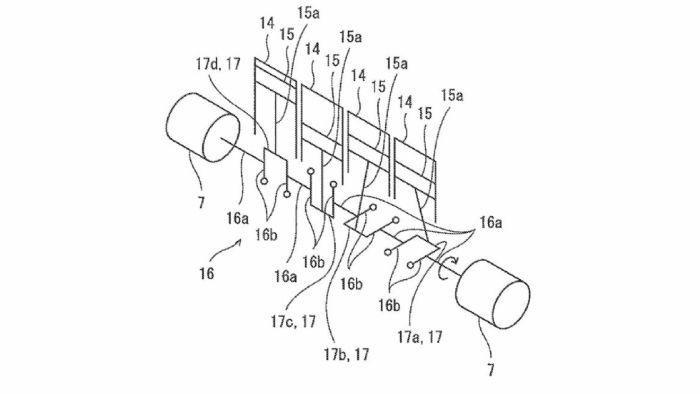
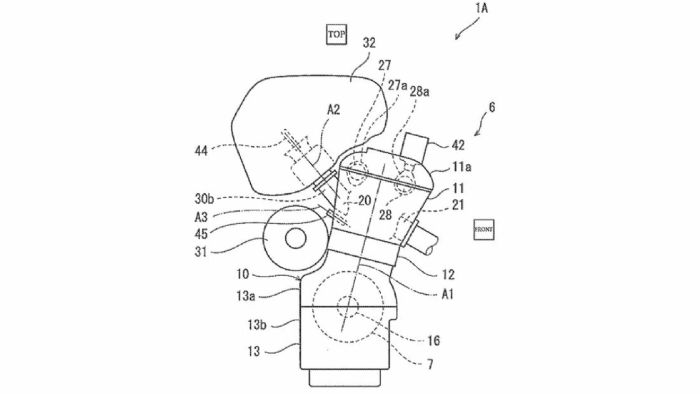
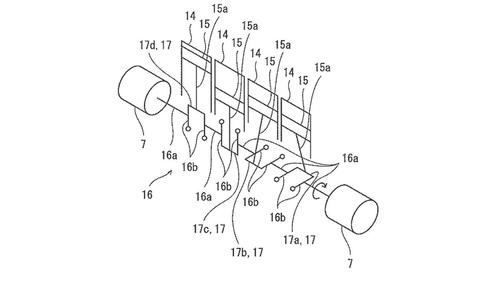
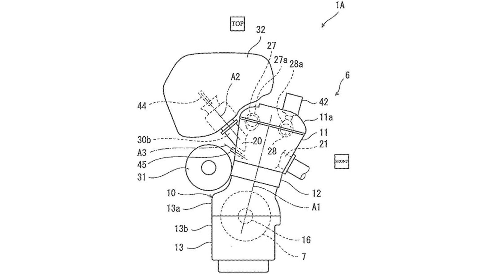
Ας δούμε μαζί. Η τεχνολογία που προτείνει η Kawasaki έχει στόχο την δημιουργία ενός ισχυρού, αλλά ταυτόχρονα και αποδοτικού-οικονομικού κινητήρα. Ξεκινώντας από τον ίδιο τον κινητήρα, αυτός είναι τετρακύλινδρος σε σειρά και δίχρονος, ωστόσο χρησιμοποιεί κανονικά βαλβίδες και εκκεντροφόρο, καταργώντας τις κλασικές «θυρίδες». Με την εισαγωγή να πραγματοποιείται όπως και στους τετράχρονους κινητήρες, ο κινητήρας της Kawasaki δεν θα καίει λάδια, λύνοντας ένα από τα βασικότερα προβλήματα των δίχρονων. Αυτό φυσικά σημαίνει ότι, για την σωστή λειτουργία του κινητήρα, ο κομπρέσορας είναι απαραίτητος, διότι η «σάρωση» των δίχρονων μπορεί πλέον να γίνει μόνο με την βοήθεια της πίεσης του.


 
Το καύσιμο θα εισάγεται στον κινητήρα μέσω άμεσου ψεκασμού, κάνοντας την διαδικασία πλήρωσης και καύσης ακόμη πιο καθαρή και αποδοτική, στην θεωρία. Ακόμα, ο στροφαλοφόρος του νέου κινητήρα θα είναι τύπου crossplane (δηλαδή, σαν αυτόν της Yamaha R1), έτσι ώστε οι κραδασμοί από τους κυλίνδρους να είναι καλύτερα ισορροπημένοι.
 
Η ιστορία όμως δεν τελειώνει εδώ. Ο κινητήρας, δεν συνδέεται με ένα απλό σύστημα μετάδοσης, αλλά με μία ηλεκτρογεννήτρια, ως μέρος συστήματος series hybrid – υβριδικό σε σειρά. Έτσι, ο κινητήρας θα λειτουργεί στην βέλτιστη περιοχή του, κινώντας την γεννήτρια η οποία με την σειρά της, θα τροφοδοτεί ηλεκτρικό μοτέρ για την κίνηση του οχήματος.


 

Διαβάζοντας… όλα αυτά, γίνεται σαφές ότι η Kawasaki δεν μελετά κάτι μόνο τεχνολογία για μοτοσυκλέτες, αλλά για περισσότερες εφαρμογές όπως αυτοκίνητα ή σκάφη θαλάσσης και αναψυχής. Με την ηλεκτροκίνηση να έρχεται όλο και περισσότερο στο προσκήνιο, οι εταιρείες ψάχνουν ακόμα τον τρόπο να την εκμεταλλευτούν όσο καλύτερα γίνεται και αυτή είναι η πρόταση της Kawasaki. Μένει να δούμε, αν θα την κάνει και πραγματικότητα.

(Φωτό: CycleWorld)
 

VITALIOTIS
PAPALEXANDRAKIS