LIVE: κίνηση στους δρόμους
Εξουσιοδοτημένοι αντιπρόσωποι - Συνεργάτες MotoΤρίτη

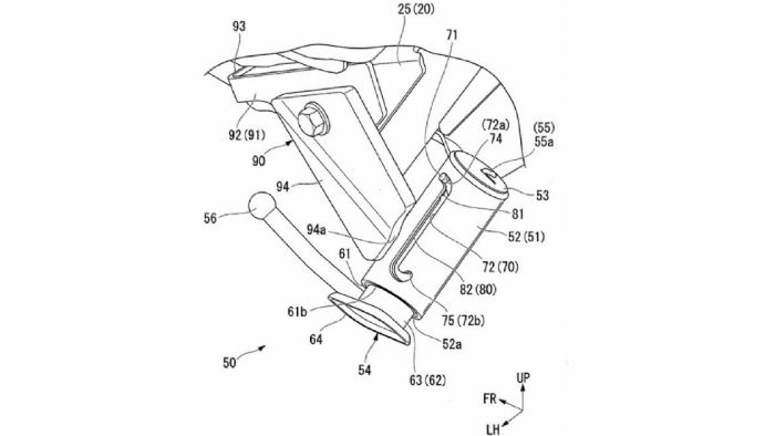
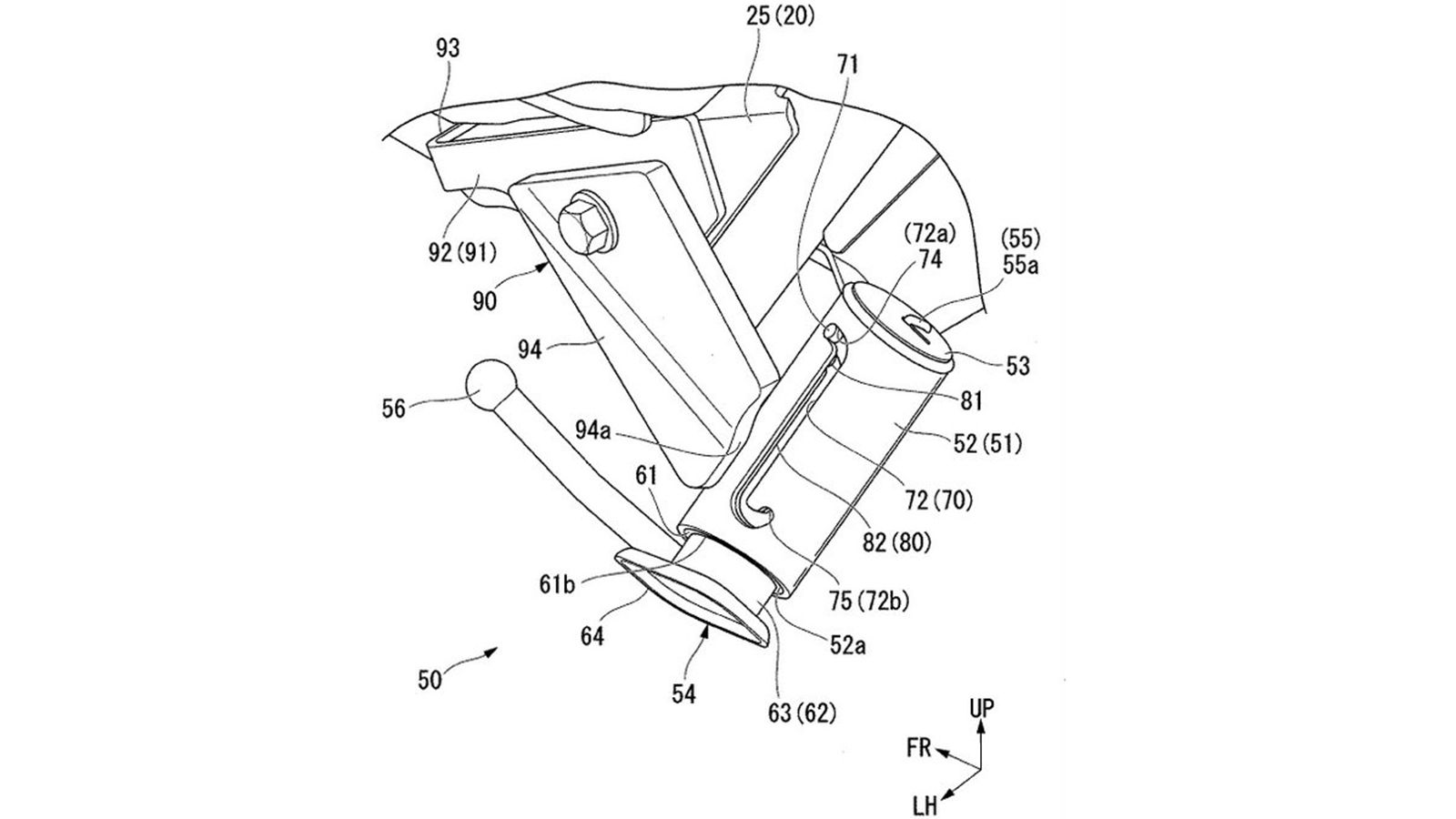
Τα σχέδια της Honda για τον νέο τύπο σταντ. Η τηλεσκοπική του λειτουργία είναι προφανής.

Τα σχέδια της Honda για τον νέο τύπο σταντ. Η τηλεσκοπική του λειτουργία είναι προφανής.

Τα σχέδια της Honda για τον νέο τύπο σταντ. Η τηλεσκοπική του λειτουργία είναι προφανής.

Honda: Εφευρίσκει από την αρχή το...πλάγιο σταντ!

Διαβάστηκε από 35.780 αναγνώστες (28/1/2020)

Μια πρωτότυπη ιδέα για έναν νέο τύπο σταντ κατέθεσε σε σχέδια πατέντας η Honda, επαναπροσδιορίζοντας ίσως το πιο απλό κομμάτι της κάθε μοτοσυκλέτας! Δείτε…

mototriti Team

HONDA: Πρόλαβε τώρα το SHMODE 125 σε προνομιακή τιμή!

HONDA: PCX125...Η καλύτερη πλευρά της πόλης!

Η Honda δουλεύει συνεχώς σε νέα πράγματα, όπως και κάθε μεγάλη εταιρεία που σέβεται τον εαυτό της και προετοιμάζεται για το μέλλον. Αυτή την φορά, ο κολοσσός του Hamamatsu κατέθεσε και πάλι σχέδια για πατέντα, μόνο που αφορούν κάτι πολύ απλό και εντελώς «δεδομένο», για την μοτοσυκλέτα: Το πλάγιο σταντ, αλλιώς!

Η Honda προτείνει ένα νέο, τηλεσκοπικό πλαγιοστάτη, που θα μπορούσε να χρησιμοποιηθεί στα δίκυκλα αντί του συνηθισμένου, μονοκόμματου σταντ που διπλώνει σε άρθρωση. Προσέξτε τον τρόπο λειτουργίας της πατέντας της Honda: Ο αναβάτης, κατεβαίνοντας από την μοτοσυκλέτα, σπρώχνει προς τα κάτω το τηλεσκοπικό σταντ ανοίγοντας το. Όταν καβαλάει και φεύγει, απλώς πατάει άλλη μια φορά τον λεβιέ που προεξέχει από το σταντ και ένα εσωτερικό ελατήριο, το τραβάει στην κλειστή θέση.

Δείτε μάλιστα, πως έχει ενσωματώσει την νέα της ιδέα και στο σχέδιο ενός scooter: 



Πρόκειται για μια… εγκληματικά απλή σύλληψη ιδέας για μια νέα πατέντα σχετικά με τον πατροπαράδοτο πλαγιοστάτη, που ίσως να μπορεί να έχει εφαρμογή σε νέες μοτοσυκλέτες. Ωστόσο, και πάλι το κλασικό σταντ που όλοι ξέρουμε και αγαπάμε...παραμένει απλούστερο, ενώ έχει εξελιχθεί τόσο πολύ όσον αφορά τον σχεδιασμό και την χρηστικότητα του, που προς το παρόν είναι η βέλτιστη και οικονομικότερη λύση. Φυσικά, η Honda έχει αποδείξει ότι δεν μελετά και δεν σχεδιάζει τίποτα στην τύχη και μένει μόνο να δούμε πως θα χρησιμοποιήσει μια πατέντα σαν αυτή. Βέβαια, δεν αποκλείεται και το σενάριο η Honda να κατοχυρώνει την πατέντα, προκειμένου να την προστατέψει ως περιουσία της, από αντιγραφές... 
 

VITALIOTIS
PAPALEXANDRAKIS