Η BMW πατεντάρει προβολέα που μένει οριζόντιος στις στροφές
Ιδέα που έχει αντληθεί από τα Gimbals καμερών
Προβολέας τοποθετημένος σε 3 άξονες
Χρήση LED Matrix που αναβοσβήνουν στο R1300GS
Θα αποδειχθεί βιώσιμη λύση στον κόσμο της μοτοσυκλέτας;
BMW: Όφελος 500ε για αγορά κάθε μοντέλου της BMW Motorrad στη Βελμάρ.
Ιδέα που έχει αντληθεί από τα Gimbals καμερών
Η BMW είναι πρωτοπόρος στην ανάπτυξη νέων τεχνολογιών αναφορικά με προβολείς οχημάτων, ενώ ασχολείται για αρκετά χρόνια με τα Cornering Lights που φωτίζουν το εσωτερικό της στροφής. Στις μοτοσυκλέτες, το σύστημα αυτό μεγιστοποιεί την ορατότητα, ακόμα και όταν αυτές βρίσκονται σε κλίση την ώρα που στρίβουν. Το πιο πρόσφατο δίπλωμα ευρεσιτεχνίας της εταιρείας είναι εμπνευσμένο από τα Gimbals που χρησιμοποιούνται στις κάμερες ανοίγοντας μία νέα πόρτα για την ανάπτυξη της τεχνολογίας φωτισμού στις μοτοσυκλέτες. Η εταιρεία έχει ήδη κατασκευάσει φώτα που κινούνται εντός του περιβλήματός τους, όπως με την επιλογή Headlight Pro adaptive cornering στον εξοπλισμό της R 1250 GS που επιτρέπει στην μικρή σκάλα να στρίβει έως και 35° προς την κάθε μεριά για να καταπολεμήσει το πρόβλημα που δημιουργεί το πλάγιασμα και το μειωμένο ύψος της μοτοσυκλέτας όταν αυτή είναι φορτωμένη.
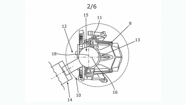
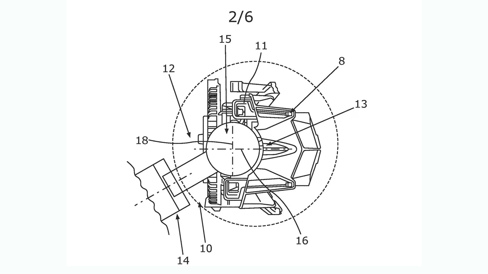
Προβολέας τοποθετημένος σε 3 άξονες
Η πατέντα που βλέπουμε να απεικονίζεται στις φωτογραφίες ανεβάζει τα cornering lights ένα επίπεδο αφού τοποθετεί ολόκληρο τον εμπρός προβολέα σε ένα Gimbal 3 αξόνων το οποίο λειτουργεί με παρόμοιο τρόπο με αυτά που χρησιμοποιούμε για smartphones. Ο πρώτος άξονας επιτρέπει στον προβολέα να μένει παράλληλος με το έδαφος καθώς η μοτοσυκλέτα πλαγιάζει, ο δεύτερος αντισταθμίζει τις απότομες αλλαγές κατεύθυνσης και ο τρίτος στρίβει ο ίδιος τον προβολέα προς την κορυφή της στροφής με αποτέλεσμα να βελτιώνεται ο φωτισμός και να στρέφεται προς την πορεία της μοτοσυκλέτας και όχι στο εξωτερικό της στροφής. Το όλο σύστημα ελέγχεται από την ίδια αδρανειακή μονάδα IMU που ήδη χρησιμοποιεί η μοτοσυκλέτα, ενώ θα μπορεί θεωρητικά να μένει σταθερό καθώς η μοτοσυκλέτα κινείται "από κάτω" του.
Αν σου άρεσε: Κοινοποίησέ το »
Σχολίασέ το, στη σελίδα μας στο Facebook »
Χρήση LED Matrix που αναβοσβήνουν στο R1300GS
Η BMW παρεκκλίνει από την ιδέα στροφής του ίδιου του προβολέα κατά το στρίψιμο όπως φαίνεται και από την καινούρια R 1300 GS στην οποία το σύστημα φώτων Headlight Pro χρησιμοποιεί ένα σετ από προβολάκια LED Matrix ανάβοντας και σβήνοντας ξεχωριστά φώτα προς τη σωστή κατεύθυνση καθώς η μοτοσυκλέτα πλαγιάζει. Στο νέο όμως σύστημα προστίθεται και μία κάμερα μέσα στον προβολέα. Στο δίπλωμα ευρεσιτεχνίας δεν αναφέρεται ο σκοπός ύπαρξης της κάμερας ενώ αναγράφεται μόνο: "Είναι σχεδιασμένη να βιντεοσκοπεί τουλάχιστον ένα σημείο στο περιβάλλον εμπρός" και πιο συγκεκριμένα το σημείο που φωτίζεται από τον προβολέα. Μπορεί η κάμερα να χρησιμοποιείται και για άλλα συστήματα ασφαλείας όπως το Lane Assist, το Brake Assist και το Adaptive Cruise Control.
Θα αποδειχθεί βιώσιμη λύση στον κόσμο της μοτοσυκλέτας;
Ο συνδυασμός του Gimbal, της κάμερας και του LED Matrix προβολέα όπως φαίνεται στο δίπλωμα ευρεσιτεχνίας της BMW ανοίγει την πόρτα για την εισαγωγή φώτων με μηχανισμό αυτόματης απενεργοποίησης μέρους τους, ώστε να μην τυφλώνονται οι οδηγοί του αντίθετου ρεύματος και να μην χρειάζεται ο αναβάτης να κλείνει τη μεγάλη σκάλα. Ταυτόχρονα το σύστημα με το Gimbal μπορεί εύκολα να τοποθετηθεί σε γυμνές μοτοσυκλέτες. Είναι αυτό το σύστημα απλά μία ιδέα που δεν έχει ουσιαστική εφαρμογή και αναπτύσσεται απλά στο όνομα της ενασχόλησης με μία νέα τεχνολογία ή θα βοηθάει πραγματικά τους αναβάτες στην οδήγηση τις νυχτερινές ώρες; Θα το δούμε όταν και εάν φτάσει στις μοτοσυκλέτες παραγωγής.




