Η Zongshen πατεντάρει αμφίβιο, πλωτό scooter
Ο πίσω τροχός στρίβει και γίνεται προπέλα
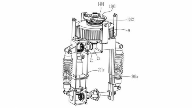
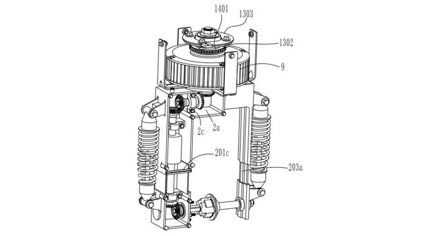
Ηλεκτροκινητήρας τοποθετημένος πάνω από τα αμορτισέρ
Πολύ μελετημένο φαίνεται το σχέδιο
Ποια θα μπορούσε να είναι η χρήση του;
Ο πίσω τροχός στρίβει και γίνεται προπέλα
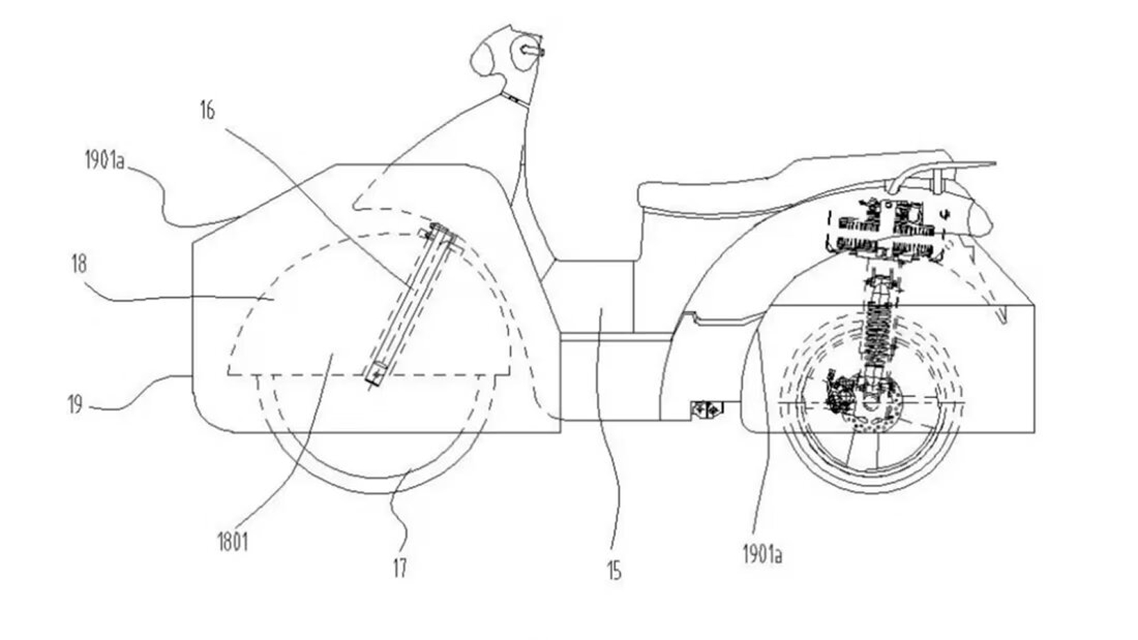
Η Zongshen δημοσίευσε πρόσφατα ένα δίπλωμα ευρεσιτεχνίας που κατέθεσε, το οποίο αφορά ένα αμφίβιο scooter με προπέλα. Από την εφεύρεση του αυτοκινήτου οι σεναριογράφοι ταινιών δράσης και επιστημονικής φαντασίας, έχουν "σκαρφιστεί" διάφορες φουτουριστικές τεχνολογίες όπως αυτοκίνητα που μετατρέπονται σε ρομπότ, που πετάνε, γίνονται υποβρύχια και εξοπλίζονται με κρυφά όπλα όπως στις ταινίες του James Bond. Οι ταινίες αυτές ήταν μάλλον και η πηγή έμπνευσης της Zongshen, για την δημιουργία του scooter με τον πίσω τροχό που γίνεται προπέλα. Για να το πετύχει αυτό, το εξοπλίζει με 4 τμήματα σαν αυτά που βρίσκουμε στις φουσκωτές βάρκες, ώστε να υποστηρίζουν το βάρος του και να μην βουλιάζει στην θάλασσα. Η κατασκευή του δεν επιτρέπει στον εμπρός τροχό να στρίβει λόγω της τοποθέτησης των φουσκωτών. Η Zongshen σκοπεύει να γίνεται χρήση μόνο του πίσω τροχού για την αλλαγή κατεύθυνσης στο νερό αλλά και στην στεριά.
Ηλεκτροκινητήρας τοποθετημένος πάνω από τα αμορτισέρ
Τα αμορτισέρ που τοποθετούνται στο πλαίσιο, επιτρέπουν στον πίσω τροχό να στρίβει σε γωνία μεγαλύτερη των 180° προς κάθε μεριά, με την χρήση ενός Worm Gear (γρανάζια στα οποία αποτελούνται από έναν ατέρμονα με πλέγμα με έναν ατέρμονα με τροχό). Με την στροφή του τροχού κατά 90° και την μετατροπή του σε προπέλα, το scooter χρησιμοποιεί τον κινητήριο τροχό εδάφους ως εξάρτημα ώσης στο νερό. Ο ηλεκτροκινητήρας είναι τοποθετημένος πάνω από τα αμορτισέρ και μεταδίδει την κίνηση στον τροχό μέσω γραναζιών και αξόνων. Οι άξονες βρίσκονται μέσα στο πλαίσιο σχήματος ανάποδου "U" που δημιουργούν τα αμορτισέρ.
Αν σου άρεσε: Κοινοποίησέ το »
Πολύ μελετημένο φαίνεται το σχέδιο
Το πως έχει καταφέρει η Zongshen να τοποθετήσει το σύστημα μετάδοσης σε συνδυασμό με το σύστημα απόσβεσης σε μία κατασκευή που συνδέεται με δύο βραχίονες (σαν κατακόρυφο ψαλίδι), στον άξονα του τροχού κίνησης είναι πραγματικά αξιοθαύμαστο. Η περιγραφή της πατέντας της Zongshen ακούγεται πολύ μελετημένη, αφού ακόμα και η κλίση του συστήματος (του ψαλιδιού), μπορεί να ρυθμιστεί όταν γίνεται προπέλα (όταν δηλαδή ο τροχός έχει στρίψει), ώστε να επηρεάζεται αναλόγως και το πως κινείται στο νερό, με το ρύγχος προς τα πάνω δηλαδή ή προς τα κάτω.
Ποια θα μπορούσε να είναι η χρήση του;
Πέρα από την χρήση του scooter αυτού σε κάποια ταινία δράσης, για την απόδραση του ήρωα από τα κανάλια της Βενετίας, του Αμστερνταμ ή των Khlong της Ταϋλάνδης με απαράμιλλο στυλ και φινέτσα, δεν υπάρχει κάποια άλλη λογική χρήση για αυτή την πολύ καλά μελετημένη και καινοτόμα εφεύρεση, πέρα από την ψυχαγωγία. Αξιοσημείωτο είναι επίσης το γεγονός ότι διαθέτει και ένα έξυπνο "αναπνέον" σύστημα, που απομακρύνει το νερό που μπαίνει στο πιρούνι. Θα αποτελούσε έκπληξη να ακούσουμε κάτι σχετικά με αυτό το concept στο μέλλον, αλλά δεν παύει να είναι μία πολύ ευρηματική και ενδιαφέρουσα καινοτομία της Zongshen.








.jpg)
