Η Yamaha πατεντάρει κράνος επαυξημένης πραγματικότητας (AR)
Το AR επιστρέφει στην σκηνή με το Vision Pro της Apple
Από το 2015 έχει κατασκευάσει αντίστοιχο πρωτότυπο η Yamaha
Πρόκληση αποτελεί ο σχεδιασμός του HUD
Με 4 μικρές κάμερες στραμμένες στα μάτια του αναβάτη
YAMAHA: NMAX 125...τώρα από 3.400ε!
YAMAHA: XMAX 300, μια κατηγορία μόνο του!
Το AR επιστρέφει στην σκηνή με το Vision Pro της Apple
Το Virtual Reality (εικονική πραγματικότητα) και το Augmented Reality (επαυξημένη πραγματικότητα) είχαν μία σχετικά αποτυχημένη πορεία τα τελευταία χρόνια. Με το λανσάρισμα συσκευών όπως το Apple Vision Pro και το Meta`s Quest όμως, που προωθούνται πολύ από τις εταιρείες, οι τεχνολογίες αυτές έχουν επιστρέψει στο παρασκήνιο και επακολούθως υπάρχουν προτάσεις για την χρήση τους στην οδήγηση μοτοσυκλέτας. Η επαυξημένη πραγματικότητα (AR), είναι στην πραγματικότητα η εξέλιξη αυτού που παλαιότερα αποκαλούσαμε Head-up display και προβάλει στο πεδίο όρασης του χρήστη χρήσιμες πληροφορίες. Η ιδέα αυτή έχει χρησιμοποιηθεί πολλές φορές σε κράνη με την BMW να κατασκευάζει ένα από το 2016 όπως επίσης και γυαλιά οδήγησης AR, των οποίων η αργή ανάπτυξη είναι εμφανής από το γεγονός ότι ξεκίνησε από το 2003. Παράλληλα από το 2002 κιόλας η γερμανική εταιρεία πειραματιζόταν με συστήματα HUD στα κράνη των πιλότων της Formula 1. Η τεχνολογία δηλαδή είναι εκεί, το ερώτημα παραμένει αν το κοινό είναι έτοιμο να την αξιοποιήσει.
Από το 2015 έχει κατασκευάσει αντίστοιχο πρωτότυπο η Yamaha
Παρά τις αμφιβολίες για την εμπορευματοποίηση των τεχνολογιών αυτών, δίπλωμα ευρεσιτεχνίας της Yamaha αποκαλύπτει πως η εταιρεία αναπτύσσει ένα κράνος μοτοσυκλέτας με ενσωματωμένο AR. Η ενασχόληση της εταιρείας με κάτι τέτοιο έχει ξεκινήσει ήδη από το 2015 όπου ήρθε μαζί με το Concept της ηλεκτρικής σπορ μοτοσυκλέτας PES2. Αποτελούνταν από ένα εξάρτημα μικτής πραγματικότητας της Sony, το οποίο κάλυπτε τα μάτια του αναβάτη και χρησιμοποιούσε περιμετρικές κάμερες ώστε να μεταφέρει την εικόνα του περιβάλλοντος στην εσωτερική οθόνη, προσθέτοντας γραφικά επαυξημένης πραγματικότητας όπου ήταν αναγκαίο. Αυτό όμως ήταν μία δεκαετία πριν σχεδόν και ακόμα δεν υπάρχει κάποιο AR κράνος της Yamaha διαθέσιμο στο κοινό (ούτε η ηλεκτρική σπορ μοτοσυκλέτα). Η τελευταία πατέντα της εταιρείας όμως εγκαταλείπει ευτυχώς την ιδέα πλήρους κάλυψης των ματιών με οθόνες. Οι υπολογιστές και τα Gadgets μπορεί ανά πάσα στιγμή και για τον οποιονδήποτε λόγο να πάθουν κάποια βλάβη, η οποία θα είχε καταστροφικές συνέπειες αφού θα προκαλούσε την πτώση του αναβάτη και ειδικότερα αν πορευόταν με ταχύτητες αυτοκινητοδρόμου.
Αν σου άρεσε: Κοινοποίησέ το »
Σχολίασέ το, στη σελίδα μας στο Facebook »
Πρόκληση αποτελεί ο σχεδιασμός του HUD
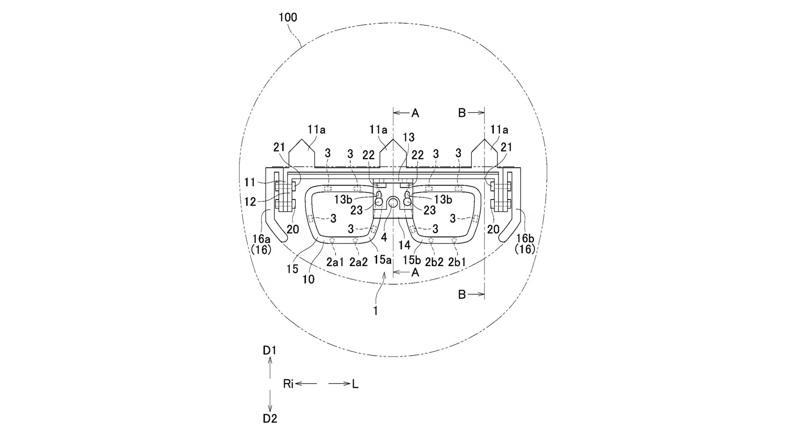
Στην νέα πατέντα της η Yamaha, επιλέγει την χρήση ενός HUD με διάφανη ζελατίνα μέσα από την οποία μπορεί να δει κανονικά ο αναβάτης, ενώ παράλληλα αυτή έχει την δυνατότητα προβολής εικόνων και πληροφοριών στο οπτικό πεδίο του. Το οπτικό πεδίο όμως δημιουργεί μία πρόκληση στους σχεδιαστές των HUD, διότι αλλιώς κοιτάει τον δρόμο ένας αναβάτης Supersport μοτοσυκλέτας που είναι αναγκαστικά σκυμμένος και διαφορετικά τον βλέπει ένας αναβάτης Cruiser μοτοσυκλέτας που αντικρίζει και ένα μεγαλύτερο μέρος της χαμηλά. Για να απεικονίζονται επιτυχώς οι πληροφορίες στο οπτικό πεδίο του αναβάτη, θα πρέπει όχι μόνο να διαθέτει το κράνος εξωτερικές κάμερες οι οποίες θα παρακολουθούν το περιβάλλον, αλλά και εσωτερικές που θα τσεκάρουν το που επικεντρώνονται τα μάτια του.
Με 4 μικρές κάμερες στραμμένες στα μάτια του αναβάτη
Το σχέδιο της Yamaha φαίνεται να αποτελείται από 4 κάμερες που παρακολουθούν τα μάτια του αναβάτη (2 για το καθένα) και είναι τοποθετημένες περιμετρικά των γυαλιών AR πίσω από την ζελατίνα του κράνους. Αυτές λειτουργούν με την βοήθεια υπέρυθρων ακτινών που εντοπίζουν που κοιτάει το κάθε μάτι ώστε να τοποθετήσουν αναλόγως τις εικόνες με τις απαραίτητες πληροφορίες. Το δίπλωμα ευρεσιτεχνίας δεν αναφέρει λεπτομέρειες για το είδος των πληροφοριών που δίνονται στον αναβάτη, αλλά διευκρινίζει ότι το σύστημα έχει σχεδιαστεί για χρήση κατά την οδήγηση μοτοσυκλέτας, ενώ φαίνονται και διάφοροι τύποι κρανών, ανοιχτών και Full Face. Παράλληλα αναγράφεται πως η ιδέα αυτή μπορεί να χρησιμοποιηθεί και σε άλλους τομείς όπως στο Baseball ή σε πιλότους χωρίς περισσότερες λεπτομέρειες απλώς για να διαβεβαιώσει πως οι δυνατότητες που παρέχει έχουν ευρύτερη κάλυψη από την οδήγηση μοτοσυκλέτας αποκλειστικά. Η τεχνολογία του AR εξελίσσεται συνεχώς, αλλά είναι οι καταναλωτές πρόθυμοι να βάλουν το χέρι "πιο βαθιά στην τσέπη" ώστε να αποκτήσουν ένα κράνος με τέτοια τεχνολογία;





