Η Honda πατεντάρει βοηθήματα διατήρησης λωρίδας
Εξελίσσει σύστημα ασφαλείας για ισχυρούς, κάθετους ανέμους
Χρήση ενός είδους ενεργητικού σταμπιλιζατέρ
Σύστημα που συνεργάζεται με το Adaptive Cruise Control
Προειδοποίηση του αναβάτη μέσω δόνησης του τιμονιού
HONDA: Πρόλαβε τώρα το SHMODE 125 σε προνομιακή τιμή!
HONDA: PCX125...Η καλύτερη πλευρά της πόλης!
Εξελίσσει σύστημα ασφαλείας για ισχυρούς, κάθετους ανέμους
Η Honda εξελίσσει συστήματα αυτόματης διόρθωσης της πορείας της μοτοσυκλέτας για αρκετά χρόνια τώρα. Από το 2022 μάλιστα κάποια μηχανικά εξαρτήματα σχετικά με την τεχνολογία αυτή είχαν εμφανιστεί. Η εταιρεία τώρα, εξερευνά νέες εφαρμογές της τεχνολογίας αυτής όπως επίσης και την ιδέα ενός συστήματος υποβοήθησης διατήρησης της πορείας της μοτοσυκλέτας σε ισχυρούς, κάθετους ανέμους. Τα συστήματα ασφαλείας αποτελούν στοιχείο αντιλογίας για πολλούς αναβάτες αφού ακόμα και στα αυτοκίνητα πολλές φορές, δεν επεμβαίνουν αποκλειστικά όταν είναι πραγματικά αναγκαία και έχουν πολύ αυξημένη ευαισθησία με αποτέλεσμα να γίνονται κάπως ενοχλητικά. Παραμένει να δούμε αν το συγκεκριμένο σύστημα της Honda (αν φτάσει σε μοντέλα παραγωγής) θα καταφέρει να τελειοποιηθεί, έτσι ώστε να ισορροπεί στην λεπτή αυτή γραμμή μεταξύ συστήματος πολύτιμης βοήθειας και εμποδίου στην οδήγηση. Με την τεχνογνωσία που διαθέτει όμως στον χώρο, γνωρίζουμε πως θα ήταν πρακτικά αδύνατο να βγάλει στην παραγωγή ένα σύστημα χωρίς να έχει δοκιμαστεί εξονυχιστικά και υπό όλες τις συνθήκες, ενώ είναι και η μοναδική εταιρεία που αναπτύσσει σύστημα ασφαλείας τέτοιου τύπου.
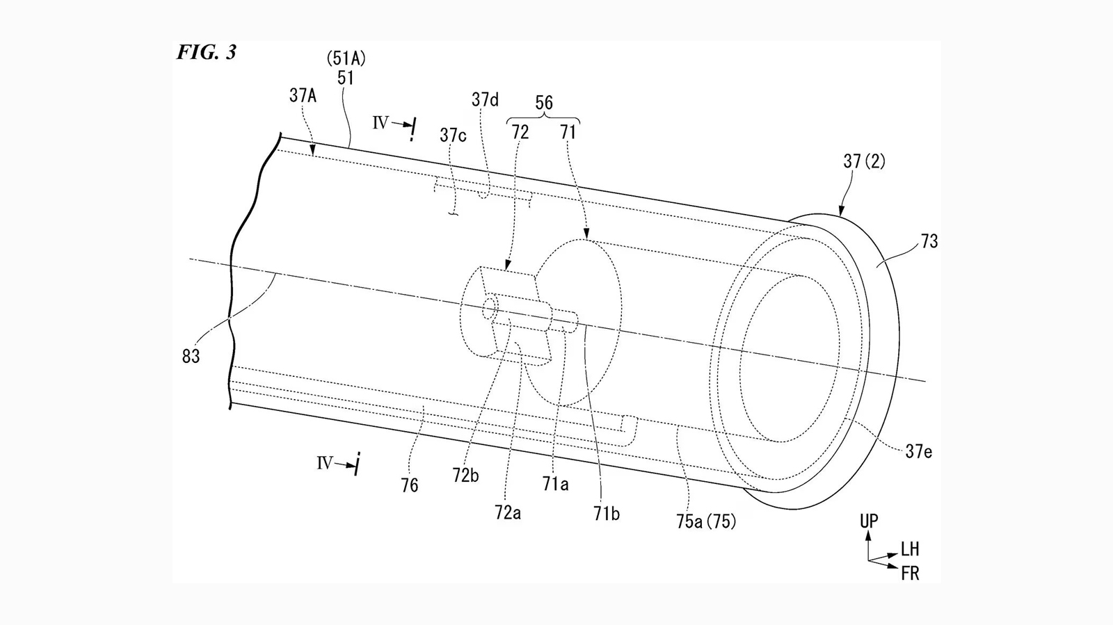
Χρήση ενός είδους ενεργητικού σταμπιλιζατέρ
Όπως και προηγούμενα διπλώματα ευρεσιτεχνίας της Honda έτσι και αυτό χρησιμοποιεί έναν σερβομηχανισμό υποβοήθησης στροφής της μοτοσυκλέτας, που θα μπορούσε να χαρακτηριστεί ως κάτι ανάμεσα σε ένα ενεργό σταμπιλιζατλέρ ή ένα σύστημα αυτόματης ανακατεύθυνσης. Ο ενεργοποιητής που διαθέτει είναι τοποθετημένος ανάμεσα στα καλάμια του πιρουνιού της μοτοσυκλέτας και ενώνεται με την τιμονόπλακα μέσω ενός αρθρωτού βραχίονα. Το σύστημα αυτό μπορεί να ανακατευθύνει την μοτοσυκλέτα μέσω ενός υπολογιστή που τροφοδοτείται με πληροφορίες από διάφορες πηγές όπως υπολογιστές αδρανειακής επιτάχυνσης (μονάδα IMU), το ραντάρ, και μέσω χρήσης κάμερας με σκοπό να προβλέψει την επιθυμητή συμπεριφορά της μοτοσυκλέτας και να συνδράμει στην επίτευξή της. Υπό κανονικές συνθήκες ο ενεργοποιητής μένει ανενεργός αφήνοντας στον οδηγό τον πλήρη έλεγχο της μοτοσυκλέτας, αλλά επεμβαίνει μόνο όταν είναι αναγκαίο, ακριβώς όπως το ABS και το Traction Control, ώστε να ενισχύει την ασφάλεια.
Αν σου άρεσε: Κοινοποίησέ το »
Σύστημα που συνεργάζεται με το Adaptive Cruise Control
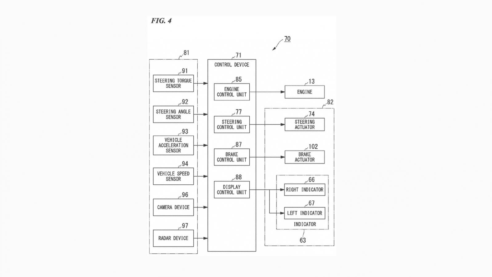
Η τελευταία πατέντα της εταιρείας που βοηθά στην διατήρηση της πορείας της μοτοσυκλέτας σε ισχυρές ριπές ανέμων χρησιμοποιεί έναν υπολογιστή ο οποίος διαχωρίζει την λωρίδα που οδηγεί ο αναβάτης σε πολλές μικρότερες "εικονικές λωρίδες", που απεικονίζονται με τις διακεκομμένες γραμμές στο χαρτί της πατέντας και επιχειρεί να κρατήσει την μοτοσυκλέτα εντός των γραμμών αυτών. Το σύστημα αυτό θα συνεργάζεται με το Adaptive Cruise Control, οπότε θα "γνωρίζει" τις θέσεις των τριγύρω οχημάτων όπως επίσης και το που βρίσκονται τα όρια του δρόμου, έτσι ώστε να επεμβαίνει σύμφωνα με αυτά και να ρυθμίζεται η δυναμικότητά του ανάλογα με το πόσο αναγκαία είναι η επιστροφή της μοτοσυκλέτας στην αρχική της πορεία.

Προειδοποίηση του αναβάτη μέσω δόνησης του τιμονιού
Ταυτόχρονα η Honda έχει καταθέσει μία ακόμα ευρεσιτεχνία για ένα πιο απλό απτικό σύστημα υποβοήθησης του αναβάτη: Την δόνηση του τιμονιού ως μία μορφή προειδοποίησης του αναβάτη, κάτι το οποίο έχει ήδη χρησιμοποιηθεί στον κόσμο των 4 τροχών με τη δόνηση του τιμονιού η και του καθίσματος του οδηγού όταν εκείνος αφαιρείται και το όχημα παρεκκλίνει της πορείας του. Η δόνηση δημιουργείται με τον ίδιο τρόπο που συμβαίνει στα τηλεχειριστήρια των παιχνιδομηχανών, με την τοποθέτηση ενός βαριδιού σε σχήμα μισού κυλίνδρου στην άκρη ενός μικρού ηλεκτρικού μοτέρ, στο εσωτερικό του τιμονιού (στα αντίβαρα) του οποίου η περιστροφή ελέγχεται από υπολογιστή. Όπως στα τηλεχειρηστήρια έτσι και στο τιμόνι της μοτοσυκλέτας, ο ρυθμός και η ταχύτητα της δόνησης θα μπορούν να ρυθμιστούν έτσι ώστε να μεταφέρουν πληθώρα προειδοποιήσεων, με την διατήρηση λωρίδας (Lane keeping Assist) και την γνωστοποίηση οχήματος στην νεκρή γωνία να αποτελούν τις βασικές εφαρμογές του συστήματος.






.jpg)

