
Curtiss Hades 1: Ανασχεδίαση...στη θεωρία!
Δευτέρα, 13 Ιανουαρίου 2020
Η ακόμα «εικονική» μοτοσυκλέτα της Curtiss, η Hades 1, πήρε την πρώτη ανανέωσή της πριν καν... κυκλοφορήσει! Πως σας φαίνεται; ...

Η ακόμα «εικονική» μοτοσυκλέτα της Curtiss, η Hades 1, πήρε την πρώτη ανανέωσή της πριν καν... κυκλοφορήσει! Πως σας φαίνεται; ...

Μελετά ξανά μια πατέντα με την οποία έχει ασχοληθεί και στο παρελθόν η Honda, σκεπτόμενη να τοποθετήσει αερόσακο σε scooter. Δείτε περισσότερα… ...

Αποκαλύφθηκε επίσημα η νέα Mash X-Ride 650, μια εκ Γαλλίας πρόταση για retro-scrambler μοτοσυκλέτα με μονοκύλινδρο 650άρη κινητήρα. Δείτε περισσότερα....

Μια ακόμη νέα μοτοσυκλέτα με μοτέρ από την Kawasaki και το όνομα KB-4, επιβεβαίωσε η Bimota! Δείτε περισσότερα… ...

Όχι απλά είναι ηλεκτροκίνητη και δε θα ρυπαίνει, αλλά θα είναι φτιαγμένη από ξύλο! Αυτή είναι η νέα Newron EV-1, ακόμα μια «υψηλής ραπτικής» ηλεκτροκί...

Ξανά στο προσκήνιο βρέθηκαν οι πατέντες της Honda για μια νέα μοτοσυκλέτα, εντελώς έξω από το «κατεστημένο» της μάρκας! Τι συμβαίνει ακριβώς; Δείτε πε...

Μια ριζική μεταμόρφωση του εξακύλινδρου τουριστικού «τέρατος» της BMW σε ένα μοναδικό όχημα που εμπνέει δέος. Απολαύστε… ...

Δεν υπάρχουν σχέδια για την εξαγωγή του νέου ηλεκτροκίνητου scooter της Bajaj εκτός Ινδικής αγοράς, ανακοίνωσε η εταιρεία. Δείτε περισσότερα. ...

Τρικύλινδρο και φιλικό προς το… Α2 δίπλωμα, το νέο Triumph Street Triple S για το 2020 είναι γεγονός. Διαβάστε όλα όσα θέλετε να ξέρετε. ...

Στην έκθεση τεχνολογίας CES παρουσιάστηκε επίσημα, όπως είχε ανακοινωθεί, η Damon Hypersport HS που φιλοδοξεί να αλλάξει την έννοια της «μοτοσυκλέτας ...

Όταν ένας από τους γρηγορότερους οδηγούς του κόσμου σου ζητά μια custom μοτοσυκλέτα, δεν αρνείσαι: Αυτή είναι η δημιουργία των Bad Winners για τον συμ...

Τα σχέδια της για αρκετά νέα μοντέλα μέσα στο 2020, αποκάλυψε η Benelli, τα οποία είναι μπόλικα! Δείτε περισσότερα. ...

Μπορείτε να φανταστείτε ένα 50ρι scooter να κάνει κόντρες με… νίτρα; Κάποιοι μπόρεσαν και όχι μόνο αυτό: Το δημιούργησαν! Απολαύστε. ...

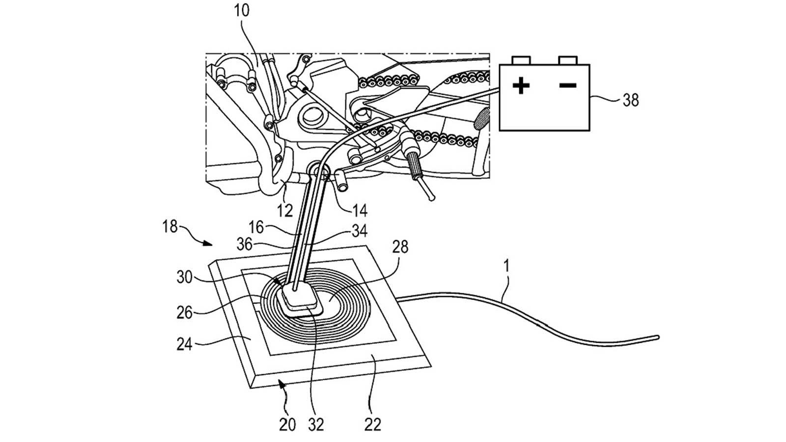
Είναι αυτό το επόμενο βήμα στην ηλεκτροκίνηση; Δείτε τι εξετάζει η BMW, κατοχυρώνοντας πατέντες για τις επόμενες τεχνολογίες της. ...

Η πρακτικότητα περνά σε άλλο επίπεδο με το scooter της Liger Mobility που ισορροπεί και παρκάρει μόνο του σε στενά σημεία. Δείτε το σε δράση....
_241219.jpg)
O David Kay κατασκεύασε τη μια και μοναδική στον κόσμο μοτοσυκλέτα που φέρει το σήμα της Ferrari. Δείτε εδώ την ιστορία της και τον λόγο που κατασκευά...

Η Ιταλική Vins Motors κρατά το αγωνιστικών προδιαγραφών πλαίσιο και τα περιφερειακά της Duecinquanta, αλλά αντί για τον δίχρονο κινητήρα, την εφοδιάζε...

Το ανανεωμένο Husqvarna 701 Enduro του 2020 έφτασε στo Paddock 512. Δες εδώ την τιμή του.
...

Μήπως η Kawasaki προσπαθεί να μας πει κάτι με το βίντεο στο επίσημο κανάλι της στο Youtube και την εμφάνιση μιας GPZ900 στην ταινία «Top Gun: Maverick...

Νέοι ορίζοντες ανοίγονται για τη Gas Gas, η οποία φαίνεται ότι σύντομα θα έχει στην γκάμα της μοτοσυκλέτες δρόμου. Διαβάστε σε ποιες κατηγορίες σκοπεύ...
mototriti.gr | Ταυτότητα
Επωνυμία Επιχείρησης: AUTO ΤΡΙΤΗ ΑΕ
Έδρα - Γραφεία: Λεωφόρος Αμαρουσίου 14 - Νέο Ηράκλειο, Τ.Κ. 141 22
Νομική Μορφή: ΕΚΔΟΤΙΚΗ ΕΤΑΙΡΕΙΑ
Α.Φ.Μ.: 998384177
Δ.Ο.Υ.: ΚΕΦΟΔΕ
Στοιχεία Επικοινωνίας:
E-mail: info@mototriti.gr
Τηλέφωνο: 211 1085500
Ιστοσελίδα: www.mototriti.gr
Διοικητικά Στελέχη
Ιδιοκτήτες & Κύριοι Μέτοχοι: Δανάη Τριανταφύλλη – Δάφνη Τριανταφύλλη
Νόμιμος εκπρόσωπος - Διευθυντής: Νίκος Καρανάσιος
Διευθυντής σύνταξης: Παναγιώτης Σιώπης
Διαχειριστής ονόματος τομέα: ΑUTO ΤΡΙΤΗ Α.Ε.